Está Vd. en

Documento BOE-A-2026-8023

Real Decreto 302/2026, de 8 de abril, por el que se modifican diversas normas reglamentarias en materia de seguridad industrial en lo que respecta a los procedimientos de emergencia en caso de una emergencia del mercado interior, y por el que se modifica el Real Decreto 212/2002, de 22 de febrero, por el que se regulan las emisiones sonoras en el entorno debidas a determinadas máquinas de uso al aire libre, en lo que respecta a las obligaciones de información y a los métodos para medir el ruido aéreo emitido por las máquinas de uso al aire libre.

Publicado en:
«BOE» núm. 88, de 10 de abril de 2026, páginas 51739 a 51831 (93 págs.)
Sección:
I. Disposiciones generales
Departamento:
Ministerio de Industria y Turismo
Referencia:
BOE-A-2026-8023
Permalink ELI:
https://www.boe.es/eli/es/rd/2026/04/08/302

TEXTO ORIGINAL

El Reglamento (UE) 2024/2747 del Parlamento Europeo y del Consejo, de 9 de octubre de 2024, por el que se establece un marco de medidas relativas a una emergencia del mercado interior y a la resiliencia de dicho mercado y se modifica el Reglamento (CE) n.º 2679/98 del Consejo, establece normas destinadas a garantizar, durante una crisis, el funcionamiento normal del mercado interior, en particular la libre circulación de mercancías, servicios y personas, y garantizar la disponibilidad de «bienes y servicios pertinentes para la crisis». En concreto, los bienes pertinentes para la crisis, tal y como define el Reglamento (UE) 2024/2747 del Parlamento Europeo y del Consejo, de 9 de octubre de 2024, son aquellos bienes que, enumerados por el Consejo en un acto de ejecución, son considerados como no sustituibles o indispensables para el mantenimiento de las funciones sociales o actividades económicas vitales para el correcto funcionamiento del mercado interior y sus cadenas de suministro y que se consideran esenciales para responder ante una crisis.

Con objeto de complementar al citado Reglamento (UE) 2024/2747 del Parlamento Europeo y del Consejo, de 9 de octubre de 2024, es necesario garantizar las vías adecuadas para que los bienes pertinentes para la crisis puedan introducirse rápidamente en el mercado interior, a fin de contribuir a hacer frente a las perturbaciones que se produzcan en ese mercado y a mitigarlas.

No obstante, ni las disposiciones de referencia establecidas en la Decisión n.º 768/2008/CE del Parlamento Europeo y del Consejo, de 9 de julio de 2008, sobre un marco común para la comercialización de los productos y por la que se deroga la Decisión 93/465/CEE del Consejo, ni las disposiciones específicas establecidas por la legislación sectorial de armonización de la Unión Europea, establecen procedimientos destinados a aplicarse durante una crisis. Es necesario, por tanto, introducir adaptaciones específicas que permitan responder a las repercusiones de las crisis que afecten a productos que hayan sido designados como «bienes pertinentes para la crisis» de conformidad con el Reglamento (UE) 2024/2747 del Parlamento Europeo y del Consejo, de 9 de octubre de 2024.

En este sentido, se han aprobado la Directiva (UE) 2024/2749 del Parlamento Europeo y del Consejo, de 9 de octubre de 2024,que modifica las Directivas 2000/14/CE, 2006/42/CE, 2010/35/UE, 2014/29/UE, 2014/30/UE, 2014/33/UE, 2014/34/UE, 2014/35/UE, 2014/53/UE y 2014/68/UE por lo que respecta a los procedimientos de emergencia para la evaluación de la conformidad, la presunción de conformidad, la adopción de especificaciones comunes y la vigilancia del mercado debidos a una emergencia del mercado interior, y el Reglamento (UE) 2024/2748 del Parlamento Europeo y del Consejo, de 9 de octubre de 2024, que modifica los Reglamentos (UE) n.º 305/2011, (UE) 2016/424, (UE) 2016/425, (UE) 2016/426, (UE) 2023/988 y (UE) 2023/1230 por lo que respecta a los procedimientos de emergencia para la evaluación de la conformidad, la presunción de conformidad, la adopción de especificaciones comunes y la vigilancia del mercado debidos a una emergencia del mercado interior. Estos actos jurídicos establecen procedimientos de emergencia que sólo serán aplicables tras la activación, por el Consejo, del «modo de emergencia del mercado interior», esto es, un marco para hacer frente a una crisis con un impacto negativo significativo en el mercado interior, y cuando un bien específico que entre en el ámbito de aplicación de las directivas y reglamentos que dichos actos jurídicos modifican, haya sido designado como bien pertinente para la crisis de conformidad con el Reglamento (UE) 2024/2747 del Parlamento Europeo y del Consejo, de 9 de octubre de 2024. Asimismo, será necesario que la Comisión haya adoptado un acto de ejecución por el que se activen dichos procedimientos de acuerdo con el Reglamento (UE) 2024/2747 del Parlamento Europeo y del Consejo, de 9 de octubre de 2024, para que los mismos sean aplicables.

Entre los procedimientos de emergencia introducidos, como primera medida, se incluye la obligación de que los organismos notificados de evaluación de la conformidad den prioridad a las solicitudes de evaluación de la conformidad de los bienes designados como bien pertinente para la crisis frente a cualquier solicitud pendiente relativa a productos que no hayan sido designados como tal. En el contexto de dicha priorización, el organismo notificado de evaluación de la conformidad no podrá cobrar costes desproporcionados adicionales al fabricante, sino que los costes adicionales que puedan repercutirse al fabricante deben ser estrictamente proporcionales a los esfuerzos adicionales reales realizados por el organismo notificado para aplicar la priorización y deben limitarse a la duración del modo de emergencia del mercado interior.

Adicionalmente, como segunda medida, en los casos en los que las perturbaciones en el mercado interior puedan afectar a los organismos de evaluación de la conformidad, o cuando las capacidades de ensayo de los productos designados como bienes pertinentes para crisis no sean suficientes, se establece la posibilidad de que las autoridades nacionales competentes, con carácter excepcional y temporal, puedan autorizar la introducción en el mercado de productos, o su puesta en servicio, que no hayan sido sometidos a los procedimientos habituales de evaluación de la conformidad exigidos por la correspondiente legislación de armonización sectorial de la Unión Europea y siempre y cuando la participación de un organismo notificado hubiera sido obligatoria en caso de haberse llevado a cabo dichos procedimientos de evaluación de la conformidad.

En tales casos, los bienes introducidos en el mercado, o puestos en servicio, deben seguir cumpliendo los requisitos esenciales de seguridad aplicables, estableciendo la citada autorización los medios o procedimientos por los que debe demostrarse dicho cumplimiento. Sin embargo, dado que estos bienes se introducen en el mercado o se ponen en servicio con carácter excepcional y de modo temporal, sin haber sido sometidos a los procedimientos de evaluación de conformidad que marca la legislación de armonización sectorial de la Unión Europea, los mismos no pueden llevar el marcado CE.

Por consiguiente, estas nuevas excepciones, en la medida en que prohíben colocar el marcado CE en productos que solo han sido aprobados a escala nacional, no deben afectar a la legislación armonizada sobre productos ni a la confianza de los consumidores en el marcado CE, que solo puede colocarse si se han respetado todas las normas fundamentales y de procedimiento armonizadas. Al proporcionar una vía adicional paralela para introducir excepcionalmente en el mercado bienes pertinentes para la crisis en el contexto de una emergencia del mercado interior, las excepciones permiten a los nuevos fabricantes introducir rápidamente sus productos en el mercado sin esperar a la finalización de los procedimientos de evaluación de la conformidad normales. Esta introducción acelerada y excepcional en el mercado contribuirá al rápido aumento del suministro de bienes pertinentes para la crisis y, al mismo tiempo, facilitará la labor a los fabricantes, ya que les permitiría introducir en el mercado lotes iniciales o series de productos antes de la finalización de los procedimientos de evaluación de la conformidad. Una vez concluidos con éxito los procedimientos de evaluación de la conformidad, los lotes o series de productos subsiguientes deben cumplir plenamente las normas aplicables pertinentes y, por tanto, beneficiarse de la libre circulación. La coexistencia, durante una emergencia del mercado interior, de un conjunto extraordinario de excepciones junto con las normas vigentes permite una transición hacia las normas vigentes, haciendo posible que los fabricantes sigan introduciendo sus productos en el mercado tras la expiración o desactivación del modo de emergencia del mercado interior.

Por su parte, si bien no se prevé un reconocimiento mutuo automático en la Unión Europea de cada autorización que establezca excepciones a los procedimientos de evaluación de la conformidad en tiempos de crisis, sí se permite a las autoridades competentes reconocer las autorizaciones expedidas en otros Estados miembros. Asimismo, la Comisión estudiará las autorizaciones emitidas por los distintos Estados miembros y, cuando los requisitos establecidos en la autorización correspondiente garanticen la conformidad con los requisitos esenciales establecidos en la legislación de armonización aplicable, extenderá la validez de dichas autorizaciones nacionales, mediante un acto de ejecución, a todo el territorio de la Unión.

En este sentido, a fin de garantizar el intercambio de información en tiempo oportuno y permitir a todos los Estados miembros reaccionar, la autoridad competente en España debe informar inmediatamente a la Comisión y a los demás Estados miembros de cualquier decisión adoptada para autorizar bienes pertinentes para la crisis a través del sistema de información y comunicación para la vigilancia del mercado a que se refiere el artículo 34 del Reglamento (UE) 2019/1020 del Parlamento Europeo y del Consejo, de 20 de junio de 2019, relativo a la vigilancia del mercado y la conformidad de los productos y por el que se modifican la Directiva 2004/42/CE y los Reglamentos (CE) n.º 765/2008 y (UE) n.º 305/2011, (portal ICSMS por sus siglas en inglés). Además, también debe compartirse información sobre todas las medidas correctoras o restrictivas, con independencia de que dichas medidas tengan que notificarse en el portal Safety Gate porque los productos presenten un riesgo grave.

Como tercera medida, se prevén mecanismos alternativos para introducir rápidamente en el mercado productos para los que o bien no existe normas armonizadas que otorgue presunción de conformidad respecto de los requisitos esenciales aplicables, o bien su cumplimiento pueda resultar excesivamente difícil debido a las perturbaciones causadas por la crisis. En estos casos, la Comisión está facultada para listar normas europeas, normas nacionales de los Estados miembros aplicables o normas internacionales aplicables desarrolladas por un organismo internacional de normalización reconocido, o en defecto de estas, establecer especificaciones comunes, cuyo cumplimiento otorgue presunción de conformidad sobre los requisitos de seguridad y salud aplicables.

En cualquier caso, cuando existan dudas sobre la conformidad de un producto designado como bien pertinente para crisis e introducido en el mercado durante un modo de emergencia del mercado interior sobre la base de los mecanismos de emergencia mencionados, las autoridades de vigilancia del mercado de las comunidades autónomas deben seguir adoptando todas las medidas correctoras y restrictivas necesarias previstas en la legislación sectorial correspondiente y en el Reglamento (UE) 2019/1020 del Parlamento Europeo y del Consejo, de 20 de junio de 2019. Además, a fin de garantizar que el nivel de seguridad ofrecido por los productos armonizados no se vea comprometido, tanto la Directiva (UE) 2024/2749 del Parlamento Europeo y del Consejo, de 9 de octubre de 2024, como el Reglamento (UE) 2024/2748 del Parlamento Europeo y del Consejo, de 9 de octubre de 2024, fomentan una cooperación más estrecha y un apoyo mutuo entre las autoridades de vigilancia del mercado.

Por todo lo anterior, este real decreto, viene a transponer parcialmente la Directiva (UE) 2024/2749 del Parlamento Europeo y del Consejo, de 9 de octubre de 2024, mediante la introducción de modificaciones en nueve reales decretos, a saber: el Real Decreto 212/2002, de 22 de febrero, por el que se regulan las emisiones sonoras en el entorno debidas a determinadas máquinas de uso al aire libre; el Real Decreto 1644/2008, de 10 de octubre, por el que se establecen las normas para la comercialización y puesta en servicio de las máquinas; el Real Decreto 1388/2011, de 14 de octubre, por el que se dictan las disposiciones de aplicación de la Directiva 2010/35/UE del Parlamento Europeo y del Consejo de 16 de junio de 2010 sobre equipos a presión transportables y por la que se derogan las Directivas 76/767/CEE, 84/525/CEE, 84/526/CEE, 84/527/CEE y 1999/36/CE; el Real Decreto 709/2015, de 24 de julio, por el que se establecen los requisitos esenciales de seguridad para la comercialización de los equipos a presión; el Real Decreto 108/2016, de 18 de marzo, por el que se establecen los requisitos esenciales de seguridad para la comercialización de los recipientes a presión simples; el Real Decreto 144/2016, de 8 de abril, por el que se establecen los requisitos esenciales de salud y seguridad exigibles a los aparatos y sistemas de protección para su uso en atmósferas potencialmente explosivas y por el que se modifica el Real Decreto 455/2012, de 5 de marzo, por el que se establecen las medidas destinadas a reducir la cantidad de vapores de gasolina emitidos a la atmósfera durante el repostaje de los vehículos de motor en las estaciones de servicio; el Real Decreto 186/2016, de 6 de mayo, por el que se regula la compatibilidad electromagnética de los equipos eléctricos y electrónicos; el Real Decreto 187/2016, de 6 de mayo, por el que se regulan las exigencias de seguridad del material eléctrico destinado a ser utilizado en determinados límites de tensión; y el Real Decreto 203/2016, de 20 de mayo, por el que se establecen los requisitos esenciales de seguridad para la comercialización de ascensores y componentes de seguridad para ascensores.

Igualmente, se incluyen disposiciones para una correcta aplicación del Reglamento (UE) 2024/2748 del Parlamento Europeo y del Consejo, de 9 de octubre de 2024, en lo respecta a los procedimientos de excepción previstos tras las modificaciones introducidas por dicho Reglamento (UE) 2024/2748, de 9 de octubre de 2024, así como en lo relativo a la asistencia entre las autoridades de vigilancia del mercado en lo que respecta a las modificaciones llevadas cabo en los siguientes reglamentos: Reglamento (UE) n.º 305/2011 del Parlamento Europeo y del Consejo, de 9 de marzo de 2011, por el que se establecen condiciones armonizadas para la comercialización de productos de construcción y se deroga la Directiva 89/106/CEE del Consejo; del Reglamento (UE) 2016/424 del Parlamento Europeo y del Consejo, de 9 de marzo de 2016, relativo a las instalaciones de transporte por cable y por el que se deroga la Directiva 2000/9/CE; del Reglamento (UE) 2016/425 del Parlamento Europeo y del Consejo, de 9 de marzo de 2016, relativo a los equipos de protección individual y por el que se deroga la Directiva 89/686/CEE del Consejo; del Reglamento (UE) 2016/426 del Parlamento Europeo y del Consejo, de 9 de marzo de 2016, sobre los aparatos que queman combustibles gaseosos y por el que se deroga la Directiva 2009/142/CE; y del Reglamento (UE) 2023/1230 del Parlamento Europeo y del Consejo, de 14 de junio de 2023, relativo a las máquinas, y por el que se derogan la Directiva 2006/42/CE del Parlamento Europeo y del Consejo y la Directiva 73/361/CEE del Consejo.

En otro ámbito diferente al Instrumento de Emergencia del Mercado Único, la Directiva (UE) 2024/2839 del Parlamento Europeo y del Consejo, de 23 de octubre de 2024, por la que se modifican las Directivas 1999/2/CE, 2000/14/CE, 2011/24/UE y 2014/53/UE en lo que respecta a determinadas obligaciones de presentación de información en los ámbitos de los alimentos y los ingredientes alimentarios, el ruido al aire libre, los derechos de los pacientes y los equipos radioeléctricos, viene a modificar, entre otras, la Directiva 2000/14/CE del Parlamento Europeo y del Consejo, de 8 de mayo de 2000, relativa a la aproximación de las legislaciones de los Estados miembros sobre emisiones sonoras en el entorno debidas a las máquinas de uso al aire libre, con objeto de eliminar las obligaciones redundantes de información que se exige a los Estados miembros y a la Comisión, por lo que, para su transposición, que también se realiza en este real decreto, es necesario eliminar el artículo 17 del señalado Real Decreto 212/2002, de 22 de febrero.

Adicionalmente a la modificación llevada a cabo por la Directiva (UE) 2024/2839 del Parlamento Europeo y del Consejo, de 23 de octubre de 2024, el anexo III de la Directiva 2000/14/CE del Parlamento Europeo y del Consejo, de 8 de mayo de 2000, fue modificado por el Reglamento Delegado (UE) 2024/1208 de la Comisión, de 16 de noviembre de 2023, por el que se modifica la Directiva 2000/14/CE del Parlamento Europeo y del Consejo en lo que respecta a los métodos para medir el ruido aéreo emitido por las máquinas de uso al aire libre. Si bien dicho Reglamento Delegado (UE) 2024/1208 de la Comisión, de 16 de noviembre de 2023, es directamente aplicable, dado que el anexo III de la Directiva 2000/14/CE del Parlamento Europeo y del Consejo, de 8 de mayo de 2000, se reproduce en el Real Decreto 212/2002, de 22 de febrero, es necesario adaptar el mismo a la nueva redacción dada por el mencionado Reglamento Delegado (UE) 2024/1208 de la Comisión, de 16 de noviembre de 2023, para evitar posibles interpretaciones erróneas.

Este real decreto se dicta al amparo de lo dispuesto en el artículo 149.1.13.ª de la Constitución Española, que atribuye al Estado la competencia exclusiva sobre bases y coordinación de la planificación general de la actividad económica.

Adicionalmente, el artículo 7 se dicta también al amparo de lo dispuesto en el artículo 149.1.21.ª de la Constitución, que atribuye al Estado la competencia exclusiva en materia de telecomunicaciones.

El presente real decreto consta de nueve artículos, por los cuales se modifican diversas normas reglamentarias sobre seguridad industrial, seis disposiciones adicionales y cuatro disposiciones finales, y se ha elaborado teniendo en cuenta los principios que conforman la buena regulación a que se refiere el artículo 129 de la Ley 39/2015, de 1 de octubre, del Procedimiento Administrativo Común de las Administraciones Públicas.

En particular, se cumplen los principios de necesidad y eficacia al considerarse que la aprobación de este real decreto es el instrumento necesario para conseguir el objetivo perseguido, que es actualizar la normativa de seguridad industrial para su adaptación a la normativa comunitaria y la correcta aplicación de la misma. El principio de proporcionalidad se considera cumplido toda vez que el real decreto contiene la regulación imprescindible para atender a su finalidad. En este sentido, el presente real decreto no establece requisitos adicionales a los indicados en los actos jurídicos que transpone.

El principio de seguridad jurídica se garantiza ya que esta norma es coherente con el resto del ordenamiento jurídico e incluye la regulación de los procedimientos necesarios para que la aplicación de los procedimientos de emergencia sea clara para todos los agentes involucrados y así se facilite la actuación y la toma de decisiones de las personas y empresas. El de transparencia, porque en su proceso de elaboración se han solicitado todos los informes preceptivos y se ha procedido a su publicación en el portal de internet del Ministerio de Industria y Turismo, para posibilitar a los potenciales destinatarios su participación activa en el citado proceso durante el trámite de audiencia e información pública. Además, en este sentido, previo a la elaboración de este real decreto se sustanció una consulta pública, tal y como indica el artículo 26.2 de la Ley 50/1997, de 27 de noviembre, del Gobierno.

Por último, con respecto al principio de eficiencia, las modificaciones introducidas no establecen cargas administrativas adicionales.

Para la elaboración de este real decreto se ha consultado a las comunidades autónomas, así como, de acuerdo con lo establecido en el artículo 26.6 de la Ley 50/1997, de 27 de noviembre, a aquellas entidades relacionadas con el sector, conocidas y consideradas más representativas. Asimismo, este real decreto ha sido objeto de informe por el Consejo de Coordinación de la Seguridad Industrial, de acuerdo con lo previsto en el artículo 18 de la Ley 21/1992, de 16 de julio, de Industria, y en el artículo 2.d) del Reglamento del Consejo de Coordinación de la Seguridad Industrial, aprobado por Real Decreto 251/1997, de 21 de febrero.

Por último, para dar cumplimiento a lo dispuesto en el artículo 11.1 de la Directiva (UE) 2024/2749 del Parlamento Europeo y del Consejo, de 9 de octubre de 2024, y el 5.2 de la Directiva (UE) 2024/2839 del Parlamento Europeo y del Consejo, de 23 de octubre de 2024, la aprobación de este real decreto deberá ser comunicada a la Comisión Europea.

En su virtud, a propuesta del Ministro de Industria y Turismo, con la aprobación previa del Ministro para la Transformación Digital y de la Función Pública, de acuerdo con el Consejo de Estado, y previa deliberación del Consejo de Ministros en su reunión del día 7 de abril de 2026,

DISPONGO:

Artículo primero. Modificación del Real Decreto 212/2002, de 22 de febrero, por el que se regulan las emisiones sonoras en el entorno debidas a determinadas máquinas de uso al aire libre.

El Real Decreto 212/2002, de 22 de febrero, por el que se regulan las emisiones sonoras en el entorno debidas a determinadas máquinas de uso al aire libre, se modifica como sigue:

Uno. En el artículo 3 se añaden dos nuevos párrafos k) y l) con la siguiente redacción:

«k) “Bienes pertinentes para crisis”: bienes pertinentes para crisis tal como se definen en el artículo 3, número 6, del Reglamento (UE) 2024/2747 del Parlamento Europeo y del Consejo, de 9 de octubre de 2024, por el que se establece un marco de medidas relativas a una emergencia del mercado interior y a la resiliencia de dicho mercado y se modifica el Reglamento (CE) n.º 2679/98 del Consejo.

l) “Modo de emergencia del mercado interior”: modo de emergencia del mercado interior tal como se define en el artículo 3, número 3, del Reglamento (UE) 2024/2747 del Parlamento Europeo y del Consejo, de 9 de octubre de 2024.»

Dos. Se suprime el artículo 17.

Tres. Los artículos 1 a 18 se ordenan como capítulo I, con el título siguiente:

«CAPÍTULO I
Régimen ordinario respecto a las emisiones sonoras en el entorno debidas a determinadas máquinas de uso al aire libre»

Cuatro. Se introduce un nuevo capítulo II, artículos 19 a 22, con el siguiente contenido:

«CAPÍTULO II
Procedimientos de emergencia
Artículo 19. Aplicación de los procedimientos de emergencia.

1. Los artículos 20 a 22 serán de aplicación en el momento en que la Comisión Europea haya adoptado un acto de ejecución con arreglo al artículo 28 del Reglamento (UE) 2024/2747 del Parlamento Europeo y del Consejo, de 9 de octubre de 2024, con respecto a las máquinas reguladas por la Directiva 2000/14/CE del Consejo y del Parlamento Europeo, de 8 de mayo.

2. Los efectos de dichos artículos se desplegarán únicamente mientras dure el modo de emergencia del mercado interior que se haya activado de conformidad con el artículo 18 del Reglamento (UE) 2024/2747 del Parlamento Europeo y del Consejo, de 9 de octubre de 2024, y se aplicarán únicamente a las máquinas incluidas en el ámbito de aplicación de este real decreto que hayan sido designadas como bienes pertinentes para crisis con arreglo al apartado 4 del artículo 18 del mencionado Reglamento (UE) 2024/2747 del Parlamento Europeo y del Consejo, de 9 de octubre de 2024.

3. Sin perjuicio de lo indicado en el apartado anterior, lo previsto en el apartado 7 del artículo 21 seguirá siendo de aplicación tras la expiración o desactivación del modo de emergencia del mercado interior.

4. La aplicación del artículo 21 deberá ajustarse a lo dispuesto en los actos de ejecución que la Comisión adopte en virtud del apartado 4 del artículo 17 bis de la Directiva 2000/14/CE del Consejo y del Parlamento Europeo, de 8 de mayo. Las autoridades competentes tomarán las disposiciones pertinentes para dar cumplimiento a las medidas de aplicación establecidas en dichos actos.

Artículo 20. Priorización de la evaluación de la conformidad de las máquinas designadas como bienes pertinentes para crisis.

1. El presente artículo será de aplicación a las máquinas enumeradas en el acto de ejecución al que se refiere el apartado 1 del artículo 19, que, de acuerdo con el artículo 13, están sujetas a procedimientos de evaluación de la conformidad en los que se requiere la participación obligatoria de un organismo notificado.

2. Los organismos notificados harán todo lo posible por tramitar con carácter prioritario todas las solicitudes de evaluación de la conformidad de las máquinas a que se refiere el apartado 1, con independencia de que dichas solicitudes hayan sido presentadas antes o después de que el presente artículo sea de aplicación de acuerdo con lo indicado en el artículo 19.

3. La priorización de las solicitudes de evaluación de la conformidad de las máquinas con arreglo al apartado 2 no dará lugar a costes adicionales desproporcionados para los fabricantes que hayan presentado dichas solicitudes.

4. Los organismos notificados harán esfuerzos razonables por aumentar sus capacidades en materia de ensayo para las máquinas a que se refiere el apartado 1 en relación con las cuales hayan sido notificados.

Artículo 21. Excepción a los procedimientos de evaluación de la conformidad que requieren la participación obligatoria de un organismo notificado.

1. Sin perjuicio de lo indicado en el artículo 13, la autoridad competente podrá autorizar, previa solicitud debidamente justificada de un operador económico, la introducción en el mercado o la puesta en servicio en el territorio español de una máquina específica contemplada en el artículo 11 y enumerada en el acto de ejecución a que se refiere el apartado 1 del artículo 19 y que no haya sido sometida a los procedimientos de evaluación de la conformidad a los que se refiere el artículo 13 que requieren la participación obligatoria de un organismo notificado, pero para la cual haya quedado demostrado el cumplimiento de todos los requisitos aplicables establecidos en el presente real decreto en materia de emisiones sonoras en el entorno de conformidad con los procedimientos contemplados en dicha autorización.

2. A los efectos del apartado anterior, tendrán la consideración de autoridad competente las siguientes:

a) Cuando la máquina está diseñada y fabricada para su instalación y utilización en una ubicación específica, la comunidad autónoma correspondiente a dicha ubicación;

b) Cuando la máquina no está diseñada y fabricada para su instalación y utilización en una ubicación específica:

1.º Si la máquina está fabricada en España, la comunidad autónoma donde se lleve a cabo la fabricación de la máquina. En aquellos casos en los que la fabricación se lleve a cabo en varias comunidades autónomas, la autoridad competente será aquella comunidad en la que radique la sede social del fabricante, si esta está radicada en España, o, en caso contrario, aquella de entre las comunidades autónomas donde se lleve a cabo la fabricación en la que se presente por primera vez la solicitud de excepción.

2.º Si la máquina no está fabricada en España, pero el fabricante o su representante autorizado está establecido en territorio español, la comunidad autónoma donde esté establecido dicho fabricante o representante autorizado. En caso de que el fabricante o representante autorizado esté establecido en más de una comunidad autónoma, la autoridad competente será aquella comunidad en la que radique la sede social del fabricante o representante autorizado, si esta está radicada en España, o, en caso contrario, aquella de entre las comunidades autónomas donde esté establecido el fabricante o representante autorizado en la que se presente por primera vez la solicitud de excepción.

3.º Si el fabricante de la máquina no está establecido en territorio español, pero el importador de la máquina o, en su defecto, el distribuidor sí lo está, la comunidad autónoma donde esté establecido dicho operador económico. En caso de que el mencionado operador económico esté establecido en más de una comunidad autónoma, la autoridad competente será aquella comunidad en la que radique la sede social del mismo, si esta está radicada en España, o, en caso contrario, aquella de entre las comunidades autónomas donde esté establecido el operador económico en la que se presente por primera vez la solicitud de excepción.

4.º Si ni el fabricante de la máquina ni el operador económico que solicita la excepción están establecidos en territorio español, la Dirección General de Estrategia Industrial y de la Pequeña y Mediana Empresa del Ministerio de Industria y Turismo.

3. Toda autorización expedida de conformidad con el apartado 1 establecerá las condiciones y los requisitos con arreglo a los cuales una máquina pueda introducirse en el mercado o ponerse en servicio. Dichas autorizaciones establecerán, como mínimo, lo siguiente:

a) Una descripción de los procedimientos mediante los cuales se ha demostrado con éxito el cumplimiento de los requisitos aplicables del presente real decreto en materia de emisiones sonoras en el entorno;

b) Todo requisito específico relativo a la trazabilidad de la máquina de que se trate;

c) Una fecha final de validez de la autorización, que no podrá exceder del último día del período durante el cual se haya activado el modo de emergencia del mercado interior de conformidad con el artículo 18 del Reglamento (UE) 2024/2747 del Parlamento Europeo y del Consejo, de 9 de octubre de 2024;

d) Todo requisito específico relativo a la necesidad de garantizar una evaluación continua de la conformidad de la máquina de que se trate;

e) Las medidas que deban tomarse al expirar o desactivarse el modo de emergencia del mercado interior con respecto a la máquina de que se trate, que se ha introducido en el mercado o puesto en servicio.

4. El fabricante de una máquina sujeta al procedimiento de autorización contemplado en el apartado 1 declarará, bajo su exclusiva responsabilidad, que la máquina en cuestión cumple todos los requisitos aplicables establecidos en la Directiva 2000/14/CE del Consejo y del Parlamento Europeo, de 8 de mayo, y será responsable del cumplimiento de todos los procedimientos de evaluación de la conformidad indicados en la autorización.

5. La autoridad competente indicada en el apartado 2 podrá reconocer, de oficio, como válidas en el territorio español las autorizaciones concedidas en otros Estados miembros de conformidad con el apartado 1 del artículo 17 quater de la Directiva 2000/14/CE del Consejo y del Parlamento Europeo, de 8 de mayo, siempre que los requisitos establecidos en las citadas autorizaciones garanticen la conformidad con los requisitos aplicables establecidos en el presente real decreto en materia de emisiones sonoras en el entorno.

6. La autoridad competente remitirá inmediatamente a la Comisión y a los demás Estados miembros la información relativa a las autorizaciones concedidas de conformidad con el apartado 1, así como de todo acto por el que se reconozcan como válidas las autorizaciones concedidas por otro Estado miembro de acuerdo con el apartado anterior.

Igualmente, la autoridad competente remitirá la información indicada en el párrafo anterior a la Dirección General de Estrategia Industrial y de la Pequeña y Mediana Empresa del Ministerio de Industria y Turismo, que publicará dicha información en el portal de internet del Ministerio de Industria y Turismo.

7. Las máquinas para las que se haya concedido una autorización de conformidad con el apartado 1 del presente artículo no llevarán el marcado CE.

Asimismo, no será de aplicación el artículo 6 del presente real decreto a las máquinas autorizadas en otro Estado miembro de conformidad con el apartado 1 del artículo 17 quater de la Directiva 2000/14/CE del Consejo y del Parlamento Europeo, de 8 de mayo, salvo por lo dispuesto en el siguiente apartado.

8. Sin perjuicio de lo indicado en el artículo 6 del presente real decreto, no se podrá prohibir, restringir u obstaculizar la introducción en el mercado o puesta en servicio en territorio español de las siguientes máquinas que, cumpliendo todos los requisitos aplicables establecidos en el presente real decreto en materia de emisiones sonoras en el entorno, no cuenten con el marcado CE:

a) Aquellas para las que las autoridades competentes indicadas en el apartado 2.b) hayan concedido una autorización de acuerdo con lo indicado en el apartado 1 y que cuenten con la información indicada en el apartado 10;

b) Aquellas para las que las autoridades competentes indicadas en el apartado 2.b) hayan reconocido la validez de la autorización concedida en otro Estado miembro de conformidad con el apartado 5 y que cuenten con la información indicada en el apartado 10;

c) Las máquinas objeto del acto de ejecución al que se refiere el apartado 2 o el 3 del artículo 17 quater de la Directiva 2000/14/CE del Consejo y del Parlamento Europeo, de 8 de mayo, por el que se amplía la validez de las autorizaciones concedidas por los Estados miembros, que cuenten con la información indicada en dicho acto, al menos, en castellano.

9. Sin perjuicio de lo indicado en el artículo 6 del presente real decreto, las máquinas que no cuenten con el marcado CE para las que la autoridad competente a la que se refiere el apartado 2.a) haya concedido una autorización de acuerdo con el apartado 1 o haya reconocido la validez de la autorización concedida en otro Estado miembro de conformidad con el apartado 5 y que no hayan sido objeto del acto de ejecución al que se refiere el apartado 2 o el 3 del artículo 17 quater de la Directiva 2000/14/CE del Consejo y del Parlamento Europeo, de 8 de mayo, solo podrán introducirse en el mercado y ponerse en servicio en la ubicación específica para la que se concede la autorización.

Las comunidades autónomas podrán reconocer como válidas, para ubicaciones específicas dentro de su territorio, las autorizaciones concedidas por otras comunidades autónomas de conformidad con los apartados 1 y 2.a).

10. Las máquinas introducidas en el mercado y puestas en servicio en el territorio español de conformidad con lo indicado en los párrafos a) y b) del apartado 8 irán acompañadas de la declaración responsable indicada en el apartado 4, que se incluirá al menos en castellano, y de una copia de la autorización expedida por la autoridad competente de acuerdo con el apartado 1 o, en su caso, de la resolución por la que se reconoce la validez de la autorización concedida en otro Estado miembro de conformidad con el apartado 5, y llevarán la siguiente información, al menos, en castellano, así como el resto de información aplicable requerida en el presente real decreto:

a) Las máquinas que cuenten con una autorización expedida por la autoridad competente a la que hacen referencia los párrafos 1.º a 3.º del apartado 2.b) y que no hayan sido objeto del acto de ejecución al que se refiere el apartado 2 o el 3 del artículo 17 quater de la Directiva 2000/14/CE del Consejo y del Parlamento Europeo, de 8 de mayo, llevarán la información indicada en la resolución por la que se concede dicha autorización.

b) Las máquinas que cuenten con una autorización expedida por la Dirección General de Estrategia Industrial y de la Pequeña y Mediana Empresa del Ministerio de Industria y Turismo de acuerdo con lo indicado en el apartado 1 y que no hayan sido objeto del acto de ejecución al que se refiere el apartado 2 o el 3 del artículo 17 quater de la Directiva 2000/14/CE del Consejo y del Parlamento Europeo, de 8 de mayo, incluirán en el producto o embalaje la información relativa a que la máquina ha sido autorizado por el Ministerio de Industria y Turismo, junto con la referencia a la resolución por la que se concede dicha autorización. La autorización podrá establecer requisitos para completar o modificar el contenido y presentación de dicha información.

c) Las máquinas para las que la autoridad competente a la que hacen referencia los párrafos 1.º a 3.º del apartado 2.b) haya reconocido la validez de la autorización concedida en otro Estado miembro de conformidad con el apartado 5 y que no hayan sido objeto del acto de ejecución al que se refiere el apartado 2 o el 3 del artículo 17 quater de la Directiva 2000/14/CE del Consejo y del Parlamento Europeo, de 8 de mayo, llevarán la información indicada en la resolución por la que se reconoce la validez de dicha autorización.

d) Las máquinas para las que la Dirección General de Estrategia Industrial y de la Pequeña y Mediana Empresa del Ministerio de Industria y Turismo haya reconocido la validez de la autorización concedida en otro Estado miembro de conformidad con el apartado 5 y que no hayan sido objeto del acto de ejecución al que se refiere el apartado 2 o el 3 del artículo 17 quater de la Directiva 2000/14/CE del Consejo y del Parlamento Europeo, de 8 de mayo, incluirán en el producto o embalaje la información relativa a que la máquina ha sido autorizada en otro Estado miembro y que dicha autorización ha sido reconocida por el Ministerio de Industria y Turismo, junto con la referencia a la resolución por la que se concede dicho reconocimiento. La resolución por la que se reconoce la autorización concedida en otro Estado miembro podrá establecer requisitos para completar o modificar el contenido y presentación de dicha información.

11. Las comunidades autónomas podrán tomar a nivel nacional todas las medidas correctivas y restrictivas contempladas en el Reglamento (UE) 2019/1020 del Parlamento Europeo y del Consejo, de 20 de junio de 2019, relativo a la vigilancia del mercado y la conformidad de los productos y por el que se modifican la Directiva 2004/42/CE y los Reglamentos (CE) n.º 765/2008 y (UE) n.º 305/2011 y en el presente real decreto con respecto a las máquinas introducidas en el mercado o puestas en servicio de conformidad con este artículo.

Las comunidades autónomas informarán inmediatamente de dichas medidas a la Comisión y a las autoridades de vigilancia del mercado de todos los demás Estados miembros.

12. Las autorizaciones concedidas de acuerdo con el apartado 1 o el reconocimiento de las autorizaciones concedidas en otros Estados miembros de acuerdo con el apartado 5 no afectará a la aplicación de los procedimientos de evaluación de la conformidad pertinentes establecidos en el artículo 13.

Artículo 22. Priorización de las actividades de vigilancia del mercado y asistencia a otras autoridades de vigilancia del mercado.

1. Las comunidades autónomas darán prioridad a las actividades de vigilancia del mercado en relación con las máquinas enumeradas en el acto de ejecución a que se refiere el apartado 1 del artículo 19.

2. Las comunidades autónomas harán todo lo posible por prestar asistencia a otras autoridades de vigilancia del mercado durante un modo de emergencia del mercado interior, incluyendo, cuando se disponga de los medios y capacidades disponibles, el envío de equipos de expertos para reforzar temporalmente la plantilla de las autoridades de vigilancia del mercado que soliciten asistencia o proporcionando apoyo logístico, como el refuerzo de la capacidad de ensayo de las máquinas enumeradas en el acto de ejecución a que se refiere el apartado 1 del artículo 19.

3. En caso de que la autoridad de vigilancia del mercado de una comunidad autónoma requiera de la asistencia de otras autoridades de vigilancia del mercado, remitirá solicitud de asistencia a través de los grupos de trabajo correspondiente de la Conferencia Sectorial de Industria y PYME.

Las demandas de asistencia podrán incluir, entre otros, los aspectos indicados en el apartado 2.

4. Cuando la solicitud de asistencia a la que se refiere el apartado anterior no pueda ser atendida por ninguna autoridad de vigilancia del mercado de las comunidades autónomas por falta de recursos y/o capacidades, la comunidad autónoma solicitante podrá demandar asistencia de las autoridades de vigilancia del mercado de otros Estados miembros directamente o a través de la Oficina de Enlace Única de vigilancia del mercado en España, quien remitirá la solicitud de asistencia a las oficinas de enlace único de vigilancia del mercado del resto de Estados miembros.

Adicionalmente a lo indicado en el párrafo anterior, el Ministerio de Industria y Turismo, previa solicitud de la autoridad de vigilancia del mercado de la comunidad autónoma demandante de asistencia, remitirá dicha solicitud a las autoridades de vigilancia del mercado del resto de Estados miembros a través del grupo de cooperación administrativa correspondiente al que se refiere el artículo 32 del Reglamento (UE) 2019/1020 del Parlamento Europeo y del Consejo, de 20 de junio de 2019.

5. Sin perjuicio de lo indicado en el apartado siguiente, las solicitudes de asistencia procedentes de autoridades de vigilancia del mercado de otros Estados miembros que se reciban en el Ministerio de Industria y Turismo o en las autoridades de vigilancia del mercado de las comunidades autónomas serán remitidas al conjunto de las autoridades de vigilancia del mercado de las comunidades autónomas a través de los grupos de trabajo correspondientes de la Conferencia Sectorial de Industria y PYME, informando de ello a la Oficina de Enlace Única.

Las solicitudes de asistencia procedentes de autoridades de vigilancia del mercado de otros Estados miembros que se reciban en la Oficina de Enlace Única serán enviadas al Ministerio de Industria y Turismo para su remisión a las autoridades de vigilancia del mercado de las comunidades autónomas a través de los grupos de trabajo correspondientes de la Conferencia Sectorial de Industria y PYME.

En el plazo máximo de cinco días hábiles desde la remisión de la solicitud a los grupos de trabajo correspondientes de la Conferencia Sectorial de Industria y PYME, el Ministerio de Industria y Turismo informará a la Oficina de Enlace Única sobre el resultado de la solicitud, indicando, en su caso, las autoridades de vigilancia que pueden prestar asistencia. La Oficina de Enlace Única remitirá dicha información al Estado miembro solicitante.

6. Cuando la solicitud indicada en el apartado anterior requiera asistencia específica de una autoridad de vigilancia del mercado concreta, las solicitudes serán remitidas directamente a dicha comunidad autónoma informando de ello al Estado miembro solicitante.

7. Las solicitudes de asistencia entre las autoridades de vigilancia del mercado, así como el resto de comunicaciones a las que se refiere el presente artículo se realizarán por medios electrónicos.»

Cinco. El anexo III se sustituye por el siguiente texto:

«ANEXO III
Métodos para medir el ruido aéreo emitido por las máquinas de uso al aire libre

Introducción

El presente anexo contiene los métodos para medir el ruido aéreo que deben utilizarse a fin de determinar los niveles de potencia acústica de las máquinas de uso al aire libre.

La parte A del presente anexo establece la norma básica de emisión sonora y los complementos generales de esa norma básica de emisión sonora para medir el nivel de presión acústica sobre una superficie de medición que envuelve a la fuente del ruido y para calcular el nivel de potencia acústica emitido por esa fuente.

La parte B del presente anexo establece el código de ensayo del ruido específico de la máquina, que se presenta bien como referencia a una norma específica o bien como una descripción de las condiciones de ensayo y funcionamiento aplicables, entre las que figuran las siguientes:

a) El entorno de ensayo;

b) el valor de la corrección del entorno (K2A);

c) la forma y las dimensiones de la superficie de medición;

d) el número y la posición de los micrófonos que deben utilizarse;

e) los requisitos de montaje e instalación de la máquina;

f) un método de cálculo de los niveles de potencia acústica resultantes en caso de que vayan a utilizarse varios ensayos en condiciones de funcionamiento distintas.

Cuando sometan a ensayo tipos específicos de máquinas, los fabricantes o sus representantes autorizados en la Unión utilizarán la norma básica de emisión sonora y los complementos generales que figuran en la parte A del presente anexo, así como el código de ensayo del ruido específico de la máquina establecido en la parte B. Los códigos de ensayo del ruido de la parte B tienen por objeto completar las especificaciones establecidas en la parte A teniendo en cuenta las características de las diferentes categorías de máquinas. Cuando los códigos de ensayo del ruido de la parte B prevean la posibilidad de elegir entre diferentes soluciones técnicas alternativas, los fabricantes o sus representantes autorizados en la Unión utilizarán las que se ajusten a las especificaciones establecidas en la parte A. En caso de conflicto entre la parte A y la parte B, prevalecerán las disposiciones de la parte B.

Cuando los códigos de ensayo del ruido establecidos en la parte B, o en las normas contempladas en la parte B, no sean aplicables a algunos modelos de máquinas de la categoría de máquinas en cuestión, los fabricantes o sus representantes autorizados en la Unión determinarán el nivel de potencia acústica garantizado de conformidad con la norma básica de emisión sonora y los complementos aplicables indicados en la parte A.

En el caso de las máquinas a las que se refiere el artículo 11, cuando el uso de los métodos de medición del ruido establecidos en el presente anexo o de los establecidos en la versión del anexo III aplicable antes del 22 de mayo de 2025 dé lugar a dos situaciones diferentes para la conformidad del producto, es decir, cuando el nivel de potencia acústica garantizado de la máquina calculado mediante un método supera el nivel de potencia acústica admisible correspondiente del artículo 11, pero no lo supera al utilizar el otro método, los fabricantes o sus representantes autorizados en la Unión determinarán el nivel de potencia acústica medido y el nivel de potencia acústica garantizado con arreglo a los métodos establecidos en la versión del anexo III aplicable antes del 22 de mayo de 2025 hasta que se modifiquen los niveles de potencia acústica admisibles del artículo 11. En tal situación, los organismos notificados y las autoridades de vigilancia del mercado utilizarán también el método establecido en la versión del anexo III que era aplicable antes del 22 de mayo de 2025, para realizar los ensayos de ruido cuando así lo exija el procedimiento de evaluación de la conformidad aplicable.

PARTE A

Norma básica de emisión sonora

Los fabricantes o sus representantes autorizados en la Unión utilizarán la norma básica de emisión sonora EN ISO 3744:2010 (UNE-EN ISO 3744:2011) para determinar el nivel de potencia acústica LWA, sin perjuicio de los complementos generales establecidos en la presente parte A. Los fabricantes o sus representantes autorizados en la Unión aplicarán todos los puntos de la norma EN ISO 3744:2010 (UNE-EN ISO 3744:2011), salvo que se indique lo contrario en la presente parte A o en el código de ensayo del ruido aplicable establecido en la parte B del presente anexo.

1. Funcionamiento de la fuente del ruido durante el ensayo

1.1 Velocidad del ventilador:

Los ventiladores que estén instalados en el motor de la máquina o en su sistema hidráulico deberán estar en funcionamiento durante el ensayo. Los fabricantes o sus representantes autorizados en la Unión determinarán la velocidad del ventilador con arreglo a los requisitos establecidos en las letras a) a d), según proceda, indicarán dicha velocidad en el informe de ensayo y la utilizarán en mediciones posteriores. Los ventiladores no estarán en funcionamiento en modo de marcha atrás durante los ensayos.

a) Ventilador conectado directamente al motor o al sistema hidráulico:

Si el mecanismo del ventilador está conectado directamente al motor o al equipo hidráulico, deberá estar en funcionamiento durante el ensayo.

b) Ventilador con varias velocidades:

Un ventilador que pueda funcionar a varias velocidades se someterá a ensayo en una de las formas siguientes:

i) a la velocidad máxima de funcionamiento;

ii) en un primer ensayo, con el ventilador a velocidad cero y en un segundo ensayo, con el ventilador graduado a la velocidad máxima.

A efectos del inciso ii), el nivel resultante de presión acústica superficial ponderado A LpA se calculará combinando los resultados de los dos ensayos mediante la ecuación siguiente:

LpA = 10 lg (0,3 x 100,1 LpA,0% + 0,7 x 100,1 LpA,100%)

donde:

– LpA,0% es el nivel de presión acústica superficial ponderado A determinado con el ventilador a velocidad cero;

– LpA,100% es el nivel de presión acústica superficial ponderado A determinado con el ventilador a velocidad máxima.

c) Ventilador de velocidad continua variable:

Un ventilador que pueda funcionar a velocidad continua variable se someterá a ensayo bien según el punto 1.1, letra b), o bien con la velocidad a un 70 % como mínimo de la velocidad máxima.

Se considerará que los ventiladores viscostáticos, que se regulan automáticamente por la temperatura del motor, funcionan a velocidad continua variable, independientemente del origen del control.

d) Equipos con dos o más ventiladores:

Cuando una máquina esté equipada con dos o más ventiladores, todos los ventiladores estarán en funcionamiento en las condiciones especificadas en las letras a), b) o c), según proceda.

1.2 Ensayo de máquinas de motor sin carga:

Antes de medir el ruido emitido por las máquinas de motor sin carga, los fabricantes o sus representantes autorizados en la Unión calentarán el motor y el sistema hidráulico de la máquina de acuerdo con las instrucciones de uso y cumplirán las consignas de seguridad.

Los fabricantes o sus representantes autorizados en la Unión medirán el ruido con las máquinas en posición estacionaria, sin poner en funcionamiento el órgano de trabajo ni el mecanismo de desplazamiento. Para los fines de la medición, el motor funcionará al ralentí (1) como mínimo a la velocidad nominal correspondiente a la potencia neta (2).

Cuando la máquina esté accionada por un generador o alimentada por la red, la frecuencia de la corriente especificada para el motor por el fabricante se mantendrá estable a ± 1 Hz si la máquina tiene un motor de inducción, y el voltaje a ± 1 % de la tensión nominal si la máquina lleva un motor de colectores. La tensión se medirá en el enchufe de un cable o cordón indesmontable, o en el conducto de admisión de la máquina, si tiene un cable desmontable. La señal de la corriente del generador será similar a la de la red.

Cuando la etiqueta de la máquina indique múltiples rangos de tensión, los fabricantes o sus representantes autorizados en la Unión realizarán las mediciones en el rango de tensión más alto indicado. Si el rango de tensión es de 220 a 240 V, el ensayo se realizará a 230 V.

Si la máquina funciona con una o varias baterías, las baterías deberán estar cargadas al menos al 70 % de su capacidad.

Los fabricantes o sus representantes autorizados en la Unión indicarán en el informe de ensayo la velocidad nominal utilizada y la potencia neta correspondiente.

Cuando la máquina tenga varios motores, estos funcionarán simultáneamente durante las mediciones, a menos que esto no sea posible, en cuyo caso se medirán las emisiones sonoras de cada una de las combinaciones posibles de los motores.

(1) Un motor podrá funcionar al ralentí bien a la velocidad más baja del motor (sin accionar el acelerador) o bien a la velocidad más baja del motor necesaria para realizar funciones básicas, como aportar presión hidráulica suficiente para desplazar la máquina o cualquiera de sus herramientas, según proceda para la categoría de máquina específica.

(2) Potencia neta es la potencia del motor en «kW» obtenida en un banco de pruebas en el extremo del cigüeñal o su equivalente, medida de conformidad con el método de medición de la potencia de los motores de combustión interna especificado en el Reglamento n.º 120 Revisión 2 de la Comisión Económica para Europa de las Naciones Unidas (CEPE): Disposiciones uniformes relativas a la homologación de motores de combustión interna destinados a los tractores agrícolas o forestales y las máquinas móviles no de carretera con respecto a la medición de la potencia neta, el par neto y el consumo específico de combustible.

1.3 Ensayo de máquinas de motor con carga:

Antes de medir el ruido emitido por las máquinas de motor con carga, los fabricantes o sus representantes autorizados en la Unión calentarán el motor (dispositivo motriz) y el sistema hidráulico de la máquina de acuerdo con las instrucciones de uso y cumplirán las consignas de seguridad. Los fabricantes o sus representantes autorizados en la Unión no utilizarán ningún dispositivo de señalización, como avisadores acústicos o alarmas de marcha atrás, durante la medición.

Los fabricantes o sus representantes autorizados en la Unión registrarán la velocidad de la máquina durante la medición e indicarán dicha velocidad en el informe de ensayo.

Cuando la máquina lleve varios motores o grupos, todos ellos funcionarán simultáneamente durante las mediciones, a menos que esto no sea posible, en cuyo caso los fabricantes medirán las emisiones sonoras de cada una de las combinaciones posibles de los motores o grupos.

Los fabricantes o sus representantes autorizados en la Unión fijarán condiciones de funcionamiento específicas para cada tipo de máquina con carga. Las condiciones de funcionamiento específicas producirán, en la medida de lo posible, efectos y tensiones similares a los obtenidos en condiciones de funcionamiento reales.

1.4 Ensayo de máquinas manuales:

Los fabricantes o sus representantes autorizados en la Unión establecerán, para cada tipo de máquina manual, condiciones de funcionamiento convencionales que produzcan efectos y tensiones similares a los obtenidos en condiciones de funcionamiento reales.

2. Determinación del nivel de presión acústica superficial

Los fabricantes o sus representantes autorizados en la Unión determinarán el nivel de presión acústica superficial por lo menos en tres ocasiones. Si al menos dos de los valores determinados no difieren en más de 1 dB, no será preciso realizar más mediciones. En caso contrario, los fabricantes o sus representantes autorizados en la Unión seguirán realizando mediciones hasta que obtengan dos valores que no difieran en más de 1 dB. El nivel de presión acústica superficial ponderado A que deberán utilizar los fabricantes o sus representantes autorizados en la Unión para calcular el nivel de potencia acústica será la media aritmética de los dos valores más altos que no difieren en más de 1 dB.

Cuando sea posible, los fabricantes o sus representantes autorizados en la Unión realizarán las mediciones del ruido simultáneamente en todas las posiciones de micrófono. Esto es especialmente importante para los ensayos dinámicos. Cuando eso no sea posible, los fabricantes o sus representantes autorizados en la Unión velarán especialmente por garantizar condiciones estables en el entorno de ensayo y por minimizar los riesgos de que se incluyan variaciones no deseadas del ruido emitido por la máquina o por cualquier otro factor, como el ruido de fondo y la velocidad del viento.

3 Información que debe presentarse

El informe de ensayo, exigido en la documentación técnica prevista en el anexo V, punto 3, en el anexo VI, punto 3, en el anexo VII, punto 2, y en el anexo VIII, puntos 3.1 y 3.3, deberá incluir los datos técnicos necesarios para identificar la fuente de ruido sometida a ensayo, el código de ensayo del ruido y los datos acústicos utilizados y obtenidos durante el ensayo.

El valor del nivel de potencia acústica ponderado A de la fuente del ruido sometida a ensayo que deberá presentarse se redondeará al número entero más próximo (si es menor que 0,5, al número entero inferior y si es mayor o igual que 0,5, al número entero superior).

Cuando, por las razones y en las condiciones estipuladas en el último párrafo de la introducción del presente anexo, los fabricantes o sus representantes autorizados en la Unión utilicen los métodos establecidos en la versión del anexo III aplicable antes del 22 de mayo de 2025 para determinar el nivel de potencia acústica, los fabricantes o sus representantes autorizados en la Unión mantendrán en el informe de ensayo un registro de los datos relativos a las mediciones realizadas de conformidad con ambos métodos: los métodos establecidos en la versión del anexo III aplicable antes del 22 de mayo de 2025 y los métodos establecidos en el presente anexo.

Las autoridades de vigilancia del mercado y los organismos notificados pertinentes, para los modelos de máquinas cuya primera unidad se haya puesto en el mercado o en servicio antes del 22 de mayo de 2025, aceptarán los informes técnicos de las mediciones de ruido realizadas con arreglo a los métodos establecidos en la versión del anexo III aplicable antes del 22 de mayo de 2025 a efectos de la evaluación de la conformidad según los procedimientos contemplados en el artículo 13, apartado 1, del presente real decreto y a efectos de los requisitos relativos a la documentación técnica de dichos productos según se establece en el anexo V, punto 3, el anexo VI, punto 3, el anexo VII, punto 2, y el anexo VIII, puntos 3.1 y 3.3, del presente real decreto, hasta el 22 de mayo de 2028.

4. Corrección del entorno K2A

Los fabricantes o sus representantes autorizados en la Unión determinarán la corrección del entorno K2A de conformidad con la norma EN ISO 3744:2010 (UNE-EN ISO 3744:2011), punto 4.3.

Si K2A ≤ 0,5 dB, puede ignorarse.

Si K2A > 4 dB, el entorno de ensayo no cumple los requisitos del presente real decreto y deberá modificarse.

Los fabricantes o sus representantes autorizados en la Unión utilizarán las especificaciones para la corrección del entorno establecidas en el código de ensayo del ruido para máquinas específicas contempladas en la parte B del presente anexo cuando existan tales especificaciones.

PARTE B

Códigos de ensayo del ruido emitido por máquinas específicas

0. Máquinas sin carga

Superficie de ensayo:

Superficie reflectante de hormigón o asfalto no poroso.

Corrección del entorno K2A:

K2A = 0

Superficie de medición/número de posiciones de micrófono/distancia de medición:

a) si la dimensión mayor del paralelepípedo de referencia no es superior a 8 m: semiesfera/seis posiciones de micrófono según la norma EN ISO 3744:2010 (UNE-EN ISO 3744:2011), anexo F.

b) si la dimensión mayor del paralelepípedo de referencia es superior a 8 m: paralelepípedo según la norma ISO 3744:2010 (UNE-EN ISO 3744:2011) con una distancia de medición d = 1 m.

Ensayo sin carga:

Los ensayos de ruido deben realizarse según la parte A, punto 1.2, del presente anexo.

Período o períodos de observación/determinación del nivel de potencia acústica resultante si se aplican dos o más condiciones de funcionamiento:

El período de observación durará por lo menos 15 segundos o al menos 3 ciclos de funcionamiento de la máquina.

1. Plataformas elevadoras con motor de combustión

EN 280-1:2022 (UNE-EN 280-1:2023), punto 4.12.2.

2. Desbrozadoras

EN ISO 22868:2021 (UNE-EN ISO 22868:2021).

3. Montacargas para el transporte de materiales de construcción

Véase el punto 0.

El centro geométrico del motor deberá situarse sobre el centro de la semiesfera. El montacargas ascenderá sin carga fuera de la semiesfera –en caso necesario– en dirección del punto 1.

4. Sierras de cinta para obras

EN ISO 19085-16:2021 (UNE-EN ISO 19085-16:2022), punto 6.2.2.

Se aplicará el método de medición de esta norma basado en la norma EN ISO 3744:2010 (UNE-EN ISO 3744:2011).

5. Sierras circulares de mesa para obras

Superficie de medición/número de posiciones de micrófono/distancia de medición:

ISO 7960:1995, anexo A, distancia de medición d = 1 m.

Ensayo con carga:

ISO 7960:1995, anexo A (punto A2b únicamente).

Período de observación:

ISO 7960:1995, anexo A.

6. Sierras de cadena portátiles

a) Con motor de combustión:

EN ISO 22868:2021 (UNE-EN ISO 22868:2021).

b) Con motor eléctrico:

EN 62841-4-1:2020 (UNE-EN 62841-4-1:2020), anexo I.

7. Vehículos baldeadores y aspiradores de alta presión

Cuando ambos dispositivos puedan funcionar simultáneamente, deberán funcionar con arreglo a los puntos 26 y 52 de la presente parte B. En caso contrario, las emisiones sonoras de ambos dispositivos se medirán por separado y se indicarán los valores más altos.

8. Máquinas compactadoras

a) Planchas y apisonadoras vibratorias:

EN 500-4: 2011 (UNE-EN 500-4:2011), punto 5.10.1.

b) Rodillos:

EN 474-13:2022 (UNE-EN 474-13:2022), punto 4.6.

9. Motocompresores

EN ISO 2151:2008 (UNE-EN ISO 2151:2009).

El período de observación durará por lo menos 15 segundos.

10. Trituradores de hormigón y martillos picadores de mano

a) Con motor de combustión:

Superficie de medición/número de posiciones de micrófono/distancia de medición:

Semiesfera/seis posiciones de micrófono según la norma EN ISO 3744:2010 (UNE-EN ISO 3744:2011), anexo F, y el cuadro siguiente, dependiendo de la masa de la máquina como figura en el cuadro siguiente:

Masa de la máquina m en kg Radio de la semiesfera (en m) z para las posiciones de los micrófonos 2, 4, 6 y 8 (en m)
m < 10 2 0,75
m ≥ 10 4 1,50

Instalación de la máquina:

Todos los aparatos se ensayarán en posición vertical.

Si el aparato sometido a ensayo dispone de un conducto de salida del aire, su eje se colocará equidistante de dos posiciones de micrófono. El ruido de la fuente de alimentación no influirá en la medición del ruido emitido por el aparato.

Soporte del aparato:

El aparato estará conectado durante el ensayo a una herramienta incrustada en un bloque de hormigón de forma cúbica enterrado en el suelo.

Durante los ensayos podrá insertarse una pieza de acero entre el aparato y la herramienta de soporte. Esa pieza intermedia formará una estructura estable entre el aparato y la herramienta de soporte. La figura 10.1 muestra esos requisitos.

Características del bloque:

El bloque tendrá la forma de un cubo de 0,60 m ± 2 mm de lado y lo más regular posible. Será de hormigón armado y vibrado a fondo en capas de hasta 0,20 m para evitar una sedimentación excesiva.

Calidad del hormigón:

La calidad del hormigón corresponderá a C 50/60 de EN 206:2013+A2:2021 (UNE-EN 206:2013+A2:2021).

El cubo estará reforzado por varillas de 8 mm de diámetro no conectadas entre sí, de manera que cada varilla sea independiente de las demás. En la figura 10.2 se ilustra el concepto del diseño.

Herramienta de soporte:

La herramienta se encapsulará dentro del bloque y consistirá en un pisón con un diámetro de entre 178 mm y 220 mm y un mango idéntico a los utilizados normalmente con el aparato objeto del ensayo, que cumpla la norma ISO 1180:1983/ADD 1:1985, pero suficientemente largo para que pueda realizarse el ensayo.

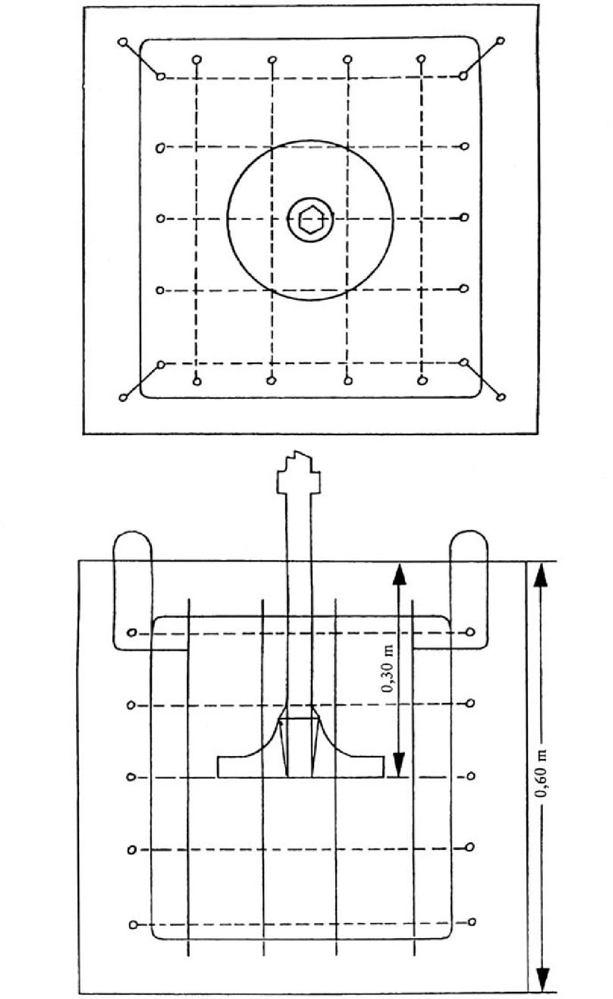
Deberá llevarse a cabo un tratamiento adecuado para integrar ambos componentes. La herramienta se fijará al bloque de manera que la parte de abajo del pisón esté a 0,30 m de la cara superior del bloque (véase la figura 10.2).

El bloque debe conservar su integridad mecánica, sobre todo en el punto de encuentro entre la herramienta de soporte y el hormigón. Antes y después de cada ensayo se verificará que la herramienta encapsulada dentro del bloque de hormigón forma parte integrante de él.

Colocación del cubo:

El cubo se introducirá en un hoyo totalmente relleno de cemento, cubierto por una losa pantalla de por lo menos 100 kg/m2, como se indica en la figura 10.3, de manera que la superficie superior de la losa pantalla no sobresalga del suelo. Para evitar ruidos parásitos, el bloque se aislará de la parte inferior y de los costados del hoyo por medio de bloques elásticos con una frecuencia de corte no superior a la mitad de la velocidad de golpeo del aparato objeto de ensayo, expresada en golpes por segundo.

La abertura de la losa pantalla por la que pasa el mango del instrumento será lo más pequeña posible y se encapsulará por medio de una junta flexible insonorizante.

Ensayo con carga:

El aparato objeto de ensayo estará conectado a la herramienta de soporte.

El aparato de ensayo funcionará en condiciones estables con la misma estabilidad acústica que durante el funcionamiento normal.

El aparato de ensayo funcionará a la potencia máxima especificada en las instrucciones de uso que se ponen a disposición del comprador.

Período de observación:

El período de observación durará por lo menos 15 segundos.

Figura 10.1 Esquema de la pieza intermedia

Imagen: /datos/imagenes/disp/2026/88/8023_16849554_1.png

Figura 10.2 Bloque de ensayo

Imagen: /datos/imagenes/disp/2026/88/8023_16849554_2.png

Figura 10.3 Dispositivo de ensayo

Imagen: /datos/imagenes/disp/2026/88/8023_16849554_3.png

El valor de la cota A será tal que la losa pantalla colocada sobre la junta elástica J esté al nivel del suelo.

b) Con motor eléctrico:

EN IEC 62841-2-6:2020 (UNE-EN IEC 62841-2-6:2020), EN IEC 62841-2-6:2020/A11:2020 (UNE-EN IEC 62841-2-6:2020/A11:2020), anexo I, punto I.2.

c) Con motor neumático o hidráulico:

Igual que con motor de combustión.

11. Hormigoneras

Ensayo con carga:

El aparato mezclador (tambor) se llenará hasta su capacidad nominal con arena de granulación entre 0 y 3 mm; la humedad se situará entre el 4 % y el 10 %.

El aparato mezclador funcionará por lo menos a la velocidad nominal.

Período de observación:

El período de observación durará por lo menos 15 segundos.

12. Tornos de construcción

a) Con motor de combustión:

Véase el punto 0.

El centro geométrico del motor deberá situarse sobre el centro de la semiesfera; el torno estará conectado, pero no se aplicará ninguna carga.

b) Con motor eléctrico:

EN 14492-2:2019 (UNE-EN 14492-2:2020), anexo M.

13. Máquinas de distribución, transporte y rociado de hormigón y mortero

EN 12001:2012 (UNE-EN 12001:2013), anexo C.

14. Cintas transportadoras

Véase el punto 0.

El centro geométrico del motor deberá situarse sobre el centro de la semiesfera. La cinta se desplazará sin carga y saldrá de la semiesfera, en caso necesario, en dirección al punto 1.

15. Equipos de refrigeración en vehículos

Ensayo con carga:

El equipo de refrigeración se instalará en un espacio de carga real o simulado y el nivel acústico se medirá en una posición estacionaria en la que, de acuerdo con las instrucciones que se ponen a disposición del comprador, la altura del equipo de refrigeración corresponda a los requisitos de instalación previstos. La fuente de alimentación del equipo de refrigeración funcionará a la velocidad que induzca la velocidad máxima del ventilador y el compresor de refrigeración indicada en las instrucciones. Si se desea que el equipo de refrigeración funcione con el motor del vehículo, no se utilizará este motor durante la medición, sino que el equipo de refrigeración se conectará a una fuente de alimentación eléctrica adecuada. Las unidades de tracción desmontables se desmontarán para efectuar la medición.

El nivel acústico del equipo de refrigeración instalado en el espacio de carga de las unidades de refrigeración para las que se pueda optar por distintas fuentes de alimentación se medirá por separado con cada una de esas fuentes de alimentación. El resultado de la medición reflejará, como mínimo, la forma de funcionamiento que produce el máximo ruido.

Período de observación:

El período de observación durará por lo menos 15 segundos.

16. Topadoras

ISO 6395:2008 (UNE-ISO 6395:2013) con las condiciones de funcionamiento y ensayo establecidas en el anexo C de dicha norma.

17. Equipos de perforación

a) Perforadoras móviles:

EN 16228-2:2014+A1:2021 (UNE-EN 16228-2:2015+A1:2022), punto 5.12.

b) Equipos de perforación en dirección horizontal:

EN 16228-3:2014+A1:2021 (UNE-EN 16228-3:2015+A1:2022), punto 5.15.

c) Equipos auxiliares intercambiables para perforación:

EN 16228-7:2014+A1:2021 (UNE-EN 16228-7:2015+A1:2022), punto 5.3.

d) Cualquier otro equipo para perforación:

EN 16228-1:2014+A1:2021 (UNE-EN 16228-1:2015+A1:2022), punto 5.27.2.2.

18. Motovolquetes

ISO 6395:2008 (UNE-ISO 6395:2013) con las condiciones de funcionamiento y ensayo establecidas en el anexo F de dicha norma.

19. Equipos de carga y descarga de cisternas o silos en camiones

Véase el punto 9 para motocompresores o bombas de vacío.

Véase el punto 56 para bombas de líquido.

20. Palas

ISO 6395:2008 (UNE-ISO 6395:2013) con las condiciones de funcionamiento y ensayo establecidas en el anexo B de dicha norma.

21. Palas cargadoras

ISO 6395:2008 (UNE-ISO 6395:2013) con las condiciones de funcionamiento y ensayo establecidas en el anexo E de dicha norma.

22. Contenedores de reciclado de vidrio

A los efectos de este código de ensayo del ruido, se utilizará el nivel de presión acústica integrado en el tiempo de un suceso único LE, como se define en la norma EN ISO 3744:2010 (UNE-EN ISO 3744:2011), punto 3.4, al medir el nivel de presión acústica en las posiciones de micrófono.

Corrección del entorno K2A:

Medición al aire libre:

K2A = 0

Medición en el interior:

El valor de la constante K2A, determinado con arreglo a la norma EN ISO 3744:2010 (UNE-EN ISO 3744:2011), anexo A, será ≤ 2,0 dB, en cuyo caso K2A no se tomará en consideración.

Condiciones de funcionamiento durante el ensayo:

La medición del ruido se llevará a cabo durante un ciclo completo, iniciándose con el contenedor vacío y concluyéndose cuando en el contenedor se hayan echado 120 botellas de vidrio.

Las botellas de vidrio se definen de la manera siguiente:

– capacidad: 75 cl;

– masa: 370 ± 30 g.

El encargado de realizar el ensayo sujetará cada botella por el cuello con su parte inferior dirigida hacia la abertura del contenedor, por donde la introducirá suavemente hacia el centro de este evitando, si es posible, que golpee las paredes. Solo se utilizará una abertura para echar las botellas, que será la más cercana a la posición de micrófono 12.

Período o períodos de observación/determinación del nivel de potencia acústica resultante si se aplican dos o más condiciones de funcionamiento.

El nivel de presión acústica integrado en el tiempo de un suceso único ponderado A se medirá simultáneamente en las seis posiciones de micrófono para cada botella que se eche en el contenedor.

El nivel de presión acústica integrado en el tiempo de un suceso único ponderado A medio relativo a la superficie de medición se calculará con arreglo a la norma EN ISO 3744:2010 (UNE-EN ISO 3744:2011), punto 8.2.2.

El nivel de presión acústica integrado en el tiempo de un suceso único ponderado A medio relativo a las 120 botellas de vidrio introducidas en el contenedor se calculará como la media logarítmica de los niveles de presión acústica integrados en el tiempo de un suceso único ponderados A medios relativos a la superficie de medición.

23. Niveladoras

ISO 6395:2008 (UNE-ISO 6395:2013) con las condiciones de funcionamiento y ensayo establecidas en el anexo G de dicha norma.

24. Máquinas para el acabado de la hierba/recortadoras de hierba

Véase el punto 2.

25. Recortadoras de setos

a) Con motor de combustión:

EN ISO 22868:2021 (UNE-EN ISO 22868:2021).

b) Con motor eléctrico:

EN IEC 62841-4-2:2019 (UNE-EN 62841-4-2:2019), anexo I, punto I.2.

26. Baldeadoras de alta presión

Ensayo con carga:

La baldeadora de alta presión se ensayará en posición estacionaria. El motor y las unidades auxiliares funcionarán a la velocidad indicada por el fabricante con respecto al funcionamiento del órgano de trabajo. Las bombas de alta presión estarán funcionando a su velocidad máxima y a la presión de funcionamiento indicada por el fabricante. Se utilizará una tobera adaptada para que la válvula de reducción de presión se encuentre por debajo de su umbral de reacción. El ruido del flujo a través de la tobera no influirá sobre los resultados de la medición.

Período de observación:

El período de observación durará por lo menos 30 segundos.

27. Máquinas de chorro de agua de alta presión

a) Con presión nominal ≤ 35 MPa:

EN 60335-2-79:2012 (UNE-EN 60335-2-79:2013), anexo CC.

b) Con presión nominal > 35 MPa:

EN 1829-1:2010 (UNE-EN 1829-1:2010), punto 6.8.

28. Martillos hidráulicos

Superficie de medición/número de posiciones de micrófono/distancia de medición:

Semiesfera/seis posiciones de micrófono según la norma EN ISO 3744:2010 (UNE-EN ISO 3744:2011), anexo F/r = 10 m.

Instalación de la máquina:

Para el ensayo, se enganchará el martillo a un vehículo portador y se usará una estructura de bloque de ensayo especial. La figura 28.1 presenta las características de esta estructura y la figura 28.2 muestra la posición del vehículo portador.

Vehículo portador:

El vehículo portador del martillo sometido a ensayo cumplirá los requisitos de las especificaciones técnicas para martillos de prueba, sobre todo en lo referente a los límites de peso, potencia hidráulica de salida, caudal de alimentación del aceite y contrapresión del cable de retorno.

Montaje:

Tanto el montaje mecánico como las conexiones (tubos, mangueras, etc.) deberán ajustarse a las especificaciones incluidas en los datos técnicos del martillo. Deberá eliminarse todo ruido significativo producido por los tubos y los diversos componentes mecánicos necesarios para la instalación. Todas las conexiones de los componentes deberán estar bien apretadas.

Estabilidad del martillo y fuerza estática de estabilización:

El vehículo portador mantendrá firme en su sitio al martillo para que tenga la misma estabilidad que tendría en condiciones normales de funcionamiento. El martillo deberá funcionar en posición vertical.

Herramienta:

Para las mediciones se utilizará una herramienta embotada. La longitud de la herramienta cumplirá los requisitos de la figura 28.1 (bloque de ensayo).

Ensayo con carga:

Potencia hidráulica de entrada y circulación de aceite:

Las condiciones de funcionamiento del martillo hidráulico se ajustarán, medirán y comunicarán debidamente, junto con los correspondientes valores de la especificación técnica. Durante el ensayo, el martillo se usará de forma que se pueda llegar al 90 % o más de la potencia hidráulica de entrada y circulación de aceite del martillo.

Se cuidará de mantener la incertidumbre total de las cadenas de medición de ps y Q dentro de un margen de ± 5 %, a fin de lograr un grado de exactitud de ± 10 % en la determinación de la potencia hidráulica de entrada. Suponiendo una correlación lineal entre la potencia hidráulica de entrada y la potencia acústica emitida, ello significaría una variación de menos de ± 0,4 dB en la determinación del nivel de la potencia acústica.

Componentes ajustables que afectan a la potencia del martillo:

Los ajustes previos de todos los acumuladores, válvulas centrales de presión y otros posibles componentes ajustables deben hacerse conforme a los valores fijados en los datos técnicos. Si puede haber más de una tasa fija de golpeo, deberán efectuarse mediciones con todas las tasas posibles. Se presentarán los valores máximos y mínimos.

Cantidades que deben medirse:

ps: Valor medio de la presión del alimentador hidráulico durante el funcionamiento del martillo en, al menos, diez golpes;

Q: Valor medio de la circulación del aceite en la entrada del ruptor medida al mismo tiempo que ps;

T: La temperatura del aceite deberá estar entre + 40 °C y + 60 °C durante las mediciones. La temperatura del ruptor deberá estabilizarse en su punto normal de funcionamiento antes de comenzar las mediciones;

Pa: Las presiones del gas de cebado de todos los acumuladores deberán medirse en situación estática (con el ruptor sin funcionar), con temperatura ambiente estable entre + 15 °C y + 25 °C. La medición de la temperatura ambiente se efectuará al mismo tiempo que la medición de la presión del gas de cebado de los acumuladores.

Parámetros que deberán evaluarse a partir de los parámetros medidos en funcionamiento:

PIN: Potencia hidráulica de entrada del ruptor, PIN = ps Q.

Medición de la presión del alimentador hidráulico ps:

– ps deberá medirse lo más cerca posible de la conexión de entrada del ruptor;

– ps deberá medirse con un manómetro (diámetro ≥ 100 mm; clase de precisión ± 1,0 % FSO).

Circulación del aceite en la entrada del ruptor, Q:

– Q deberá medirse en el alimentador lo más cerca posible de la conexión de entrada del ruptor;

– Q deberá medirse con un flujómetro eléctrico (clase de precisión ± 2,5 % respecto de la medida obtenida).

Punto de medición de la temperatura del aceite, T:

– T deberá medirse en el depósito de aceite del vehículo portador o en el alimentador hidráulico conectado al martillo. El lugar en que se mida deberá indicarse en el informe.

– El margen de error de la medida de la temperatura deberá ser de ± 2 °C respecto del valor real.

Período de observación/determinación del nivel de potencia acústica resultante:

El período de observación durará por lo menos 15 segundos.

Se repetirán las mediciones tres veces o más, si hace falta. El resultado final se calculará hallando la media aritmética de los dos valores más altos que no difieran en más de 1 dB.

Figura 28.1

Imagen: /datos/imagenes/disp/2026/88/8023_16849554_4.png

Figura 28.2

Imagen: /datos/imagenes/disp/2026/88/8023_16849554_5.png

Definiciones:

d: Diámetro de la herramienta (mm);

d1: Diámetro del yunque 1 200 ± 100 mm;

d2: Diámetro interior de la estructura de soporte del yunque ≤ 1 800 mm;

d3: Diámetro de la plataforma del bloque de ensayo ≤ 2 200 mm;

d4: Diámetro de la abertura de la herramienta en la plataforma ≤ 350 mm;

d5: Diámetro de la junta de la herramienta ≤ 1 000 mm;

h1: Parte visible de la herramienta entre la parte más baja de la envuelta y la superficie superior de la junta de la herramienta (mm) h1 = d ± d/2;

h2: Espesor de la junta de la herramienta sobre la plataforma ≤ 20 mm (si la junta de la herramienta se encuentra debajo de la plataforma, su espesor no estará limitado; puede estar hecha de gomaespuma);

h3: Distancia entre la superficie superior de la plataforma y la superficie superior del yunque 250 ± 50 mm;

h4: Espesor de la junta de la plataforma de gomaespuma aislante ≤ 30 mm;

h5: Espesor del yunque 350 ± 50 mm;

h6: Penetración de la herramienta ≤ 50 mm;

Si se utiliza una estructura de bloque de ensayo de forma tetragonal, la dimensión de máxima longitud deberá ser igual a 0,89 × el correspondiente diámetro.

El espacio vacío entre la plataforma y el yunque puede rellenarse con gomaespuma elástica u otro material absorbente, densidad < 220 kg/m3.

29. Generadores de energía hidráulica

Instalación de la máquina:

El generador de energía hidráulica se instalará sobre el plano reflectante. Los generadores montados sobre patines se instalarán sobre un soporte de 0,40 m de altura, a no ser que las condiciones de instalación del fabricante exijan otra cosa.

Ensayo con carga:

Durante el ensayo no deberá conectarse ninguna herramienta al generador de energía hidráulica.

El generador de energía hidráulica se pondrá en régimen permanente dentro de la gama especificada por el fabricante. Funcionará a su velocidad nominal y a su presión nominal. La velocidad y la presión nominales serán las indicadas en las instrucciones que se ponen a disposición del comprador.

Período de observación:

El período de observación durará por lo menos 15 segundos.

30. Cortadoras de juntas

a) Máquinas para cortar pavimentos con conductor a pie:

EN 13862:2021 (UNE-EN 13862:2022), punto 4.10.2.

b) Máquinas de mano portátiles con motor de combustión interna, montadas en un soporte móvil, destinadas a cortar pavimentos:

EN ISO 19432-1:2020 (UNE-EN ISO 19432-1:2020), punto 4.19.2.

c) Las demás cortadoras de juntas:

Ensayo con carga:

La cortadora de juntas se equipará con la cuchilla más ancha posible de las especificadas por el fabricante en las instrucciones que se ponen a disposición del comprador. El motor funcionará a la velocidad máxima con la cuchilla al ralentí.

Período de observación:

El período de observación durará por lo menos 15 segundos.

31. Compactadoras de basuras

ISO 6395:2008 (UNE-ISO 6395:2013) con las condiciones de funcionamiento y ensayo establecidas en el anexo H de dicha norma.

32. Cortadoras de césped

a) Cortadoras de césped rotatorias y de cilindro con motor de combustión:

EN ISO 5395-1:2013 (UNE-EN ISO 5395-1:2014), EN ISO 5395-1:2013/A1:2018 (UNE-EN ISO 5395-1:2014/A1:2018), punto 4.3, inciso segundo.

Corrección del entorno K2A:

Si K2A ≤ 0,5 dB, puede ignorarse.

b) Cortadoras de césped rotatorias y de cilindro con motor eléctrico con conductor a bordo sentado o de pie, y de conducción a pie:

EN IEC 62841-4-3:2021 (UNE-EN IEC 62841-4-3:2021), EN IEC 62841-4-3:2021/A11:2021 (UNE-EN IEC 62841-4-3:2021/A11:2021), anexo I, punto I.2.

33. Máquinas para el acabado del césped/recortadoras de césped

EN 50636-2-91:2014 (UNE-EN 50636-2-91:2014), anexo CC.

34. Sopladores de hojas

a) Con motor de combustión:

EN ISO 22868:2021 (UNE-EN ISO 22868:2021).

b) Con motor eléctrico:

EN 50636-2-100:2014 (UNE-EN 50636-2-100:2014), anexo CC.

35. Aspiradores de hojas

Véase el punto 34.

36. Carretillas elevadoras

EN 12053:2001+A1:2008 (UNE-EN 12053:2002+A1:2008).

37. Cargadoras

ISO 6395:2008 (UNE-ISO 6395:2013) con las condiciones de funcionamiento y ensayo establecidas en el anexo D de dicha norma.

38. Grúas móviles

EN 13000:2010+A1:2014 (UNE-EN 13000:2010+A1:2014), punto 5.3.

39. Contenedores de basura móviles

Superficie de ensayo:

– Superficie reflectante de hormigón o asfalto no poroso.

– Sala de laboratorio con espacio libre sobre un plano reflectante.

Corrección del entorno K2A:

Medición al aire libre:

K2A = 0

Medición en el interior:

El valor de la constante K2A, determinado con arreglo a la norma EN ISO 3744:2010 (UNE-EN ISO 3744:2011), anexo A, será ≤ 2,0 dB, en cuyo caso K2A no se tomará en consideración.

Superficie de medición/número de posiciones de micrófono/distancia de medición:

Semiesfera/seis posiciones de micrófono según la norma EN ISO 3744:2010 (UNE-EN ISO 3744:2011), anexo F/r = 3 m.

Condiciones de funcionamiento durante el ensayo:

Todas las mediciones se efectuarán con el contenedor vacío.

Ensayo n.o 1: cierre de la tapa dejándola caer sobre el contenedor.

Para reducir al mínimo la influencia del operario sobre las mediciones, el operario estará situado en la parte trasera del contenedor (del lado de las bisagras). Soltará la tapa por el centro, para evitar que se combe al caer.

La medición se efectuará durante el siguiente ciclo, repetido veinte veces:

– para empezar, la tapa se levantará en vertical,

– se soltará hacia adelante, si es posible sin darle impulso, mientras el operario permanece en la parte de atrás, sin moverse hasta que la tapa se haya cerrado,

– una vez completamente cerrada, se volverá a levantar la tapa a su posición inicial.

Nota: Si es necesario, el operario puede desplazarse un momento para levantar la tapa.

Ensayo n.o 2: apertura completa de la tapa.

Para reducir al mínimo la influencia del operario sobre las mediciones, el operario estará situado en la parte trasera del contenedor (del lado de las bisagras) en el caso de los contenedores de cuatro ruedas, y del lado derecho del contenedor (entre la posición del micrófono 10 y la del micrófono 12) en el caso de los contenedores de dos ruedas. Soltará la tapa desde el centro o lo más cerca posible del centro.

Para evitar que el contenedor se mueva, se bloquearán las ruedas durante el ensayo. En el caso de los contenedores de dos ruedas, y para evitar que el contenedor comience a dar botes, el operario puede sujetarlo con una mano en el borde superior.

La medición se efectuará durante el siguiente ciclo:

– para empezar, la tapa se abrirá horizontalmente,

– se soltará la tapa sin darle impulso,

– una vez completamente abierta, y antes de que experimente un posible rebote, la tapa se levantará a la posición inicial.

Ensayo n.o 3: rodaje del contenedor sobre una pista artificial irregular.

Para este ensayo se utilizará una pista de ensayo artificial que simule un firme irregular. La pista constará de dos franjas paralelas de malla de acero (6 m de largo por 400 mm de ancho), sujetas a la superficie reflectante a intervalos aproximados de 20 cm. La distancia entre ambas franjas se adaptará según el tipo de contenedor, para que las ruedas puedan desplazarse a lo largo de toda la pista. La instalación se hará en condiciones que aseguren una superficie plana. Si es necesario, la pista se fijará al suelo con material elástico para evitar cualquier emisión de ruidos parásitos.

Nota: Cada una de las franjas puede estar compuesta de varias tiras de 400 mm de anchura encajadas.

En las figuras 39.1 y 39.2 se da un ejemplo de una pista adecuada. El operario se colocará al lado de las bisagras de la tapa.

La medición se efectuará mientras el operario arrastra el contenedor por la pista artificial con una velocidad constante de aproximadamente 1 m/s, entre los puntos A y B (situados a 4,24 m de distancia; véase la figura 39.3) en el momento en que el eje de las ruedas (en el caso de contenedores de dos ruedas) o el primer eje de ruedas (en el caso de contenedores de cuatro ruedas) llega al punto A o al punto B. Se repetirá este procedimiento tres veces en cada dirección.

Durante el ensayo, para un contenedor de dos ruedas, el ángulo entre el contenedor y la pista será de 45°. Para un contenedor de cuatro ruedas, el operario se asegurará de que todas ellas hagan el debido contacto con la pista.

Períodos de observación/determinación del nivel de potencia acústica resultante si se aplican dos o más condiciones de funcionamiento.

Ensayos n.o 1 y n.o 2: cierre de la tapa dejándola caer sobre el contenedor y apertura completa de la tapa.

Si es posible se efectuarán las mediciones simultáneamente en las seis posiciones de micrófono. De lo contrario, los niveles acústicos medidos en cada posición de micrófono se clasificarán en orden creciente y los niveles de potencia acústica se calcularán asociando los valores de cada posición de micrófono en función de su hilera.

Se medirá el nivel de presión acústica integrado en el tiempo de un suceso único ponderado A para cada uno de los veinte cierres y de las veinte aperturas de la tapa en cada punto de medición. Los niveles de potencia acústica LWAcierre y LWAapertura se calcularán a partir de la media cuadrática de los cinco valores más altos obtenidos.

Ensayo n.o 3: rodaje del contenedor sobre una pista artificial irregular.

El período de observación T será igual al tiempo necesario para recorrer la distancia entre el punto A y el punto B sobre la pista.

El nivel de potencia acústica LWArodaje será igual a la media de seis valores que difieran en menos de 2 dB. En caso de que no se cumpla este criterio con seis mediciones, deberá repetirse el ciclo tantas veces como sea necesario.

El nivel de potencia acústica resultante se calculará con arreglo a la fórmula siguiente:

LWA = 10 log 1/3 (100,1 LWAcierre + 100,1 LWAapertura + 100,1 LWArodaje)

Figura 39.1 Dibujo de la pista de rodadura

Imagen: /datos/imagenes/disp/2026/88/8023_16849554_6.png

Figura 39.2 Detalle de la construcción y montaje de la pista de rodadura

Imagen: /datos/imagenes/disp/2026/88/8023_16849554_7.png

Figura 39.3 Distancia de medición

Imagen: /datos/imagenes/disp/2026/88/8023_16849554_8.png

40. Motoazadas

Véase el punto 32.

La herramienta deberá estar desconectada o desmontada durante la medición.

41. Pavimentadoras

EN 500-6:2006+A1:2008 (UNE-EN 500-6:2008+A1:2008), punto 5.17.

42. Equipo de manejo de pilotes

a) Equipos de cimentación:

EN 16228-4:2014+A1:2021 (UNE-EN 16228-4:2015+A1:2022), punto 5.8.

b) Equipos auxiliares intercambiables para manejo de pilotes:

EN 16228-7:2014+A1:2021 (UNE-EN 16228-7:2015+A1:2022), punto 5.3.

c) Cualquier otro equipo de manejo de pilotes:

EN 16228-1:2014+A1:2021 (UNE-EN 16228-1:2015+A1:2022), punto 5.27.2.2.

43. Colocadores de tuberías

ISO 6393:2008 (UNE-ISO 6393:2009).

44. Tractores oruga para nieve

ISO 6393:2008 (UNE-ISO 6393:2009), con los procedimientos y las condiciones de funcionamiento descritos para las topadoras. La superficie de ensayo delimitada será una superficie dura reflectante –5.3.2. en la norma ISO 6393:2008 (UNE-ISO 6393:2009)–.

45. Grupos electrógenos

EN ISO 8528-10:2022 (UNE-EN ISO 8528-10:2022).

Se aplicará el método de medición de esta norma basado en la norma EN ISO 3744:2010 (UNE-EN ISO 3744:2011).

46. Barredoras mecánicas

a) Máquinas para la limpieza de calzadas:

EN 17106-2:2021 (UNE-EN 17106-2:2022), punto 4.3.

b) Las demás barredoras mecánicas para uso al aire libre:

EN 60335-2-72:2012 (UNE-EN 60335-2-72:2013), anexo DD.

47. Vehículos recogebasuras

EN 1501-4:2023 (EN 1501-4:2023).

48. Flexadoras para carretera

EN 500-2:2006+A1:2008 (UNE-EN 500-2:2007+A1:2008), punto 5.17.

49. Escarificadores

a) Con motor de combustión:

EN 13684:2018 (UNE-EN 13684:2018), punto 5.16.2.

b) Con motor eléctrico:

EN IEC 62841-4-7:2022 (UNE-EN IEC 62841-4-7:2022), EN IEC 62841-4-7:2022/A11:2022 (UNE-EN IEC 62841-4-7:2022/A11:2022), anexo I, punto I.2.

50. Trituradoras/astilladoras

a) Trituradoras/astilladoras de jardín de carga manual:

i) Con motor de combustión:

EN 13683:2003+A2:2011 (UNE-EN 13683:2004+A2:2011), punto 5.10.2;

EN 13683:2003+A2:2011/AC:2013 (UNE-EN 13683:2004+A2:2011/AC:2013).

ii) Con motor eléctrico:

EN 50434:2014 (UNE-EN 50434:2014), punto 20.107.2.

b) Astilladoras de madera de carga manual horizontal utilizadas en silvicultura:

EN 13525:2020 (UNE-EN 13525:2020), punto 5.5.

c) Astilladoras de madera de carga manual vertical utilizadas en silvicultura, astilladoras de madera de carga mecánica (vertical y horizontal) utilizadas en silvicultura, y las demás trituradoras/astilladoras:

Ensayo con carga:

La trituradora/astilladora se ensayará astillando una o varias piezas de madera.

El ciclo consistirá en el astillado de una pieza circular de madera (pino o madera contrachapada) de 1,5 m de largo, como mínimo, terminada en punta por un lado, y con un diámetro aproximadamente igual al máximo que la cortadora/astilladora pueda aceptar según se especifique en las instrucciones de uso que se ponen a disposición del comprador.

Período de observación/determinación del nivel de potencia acústica resultante:

El período de observación durará mientras se disponga de material en la zona de astillado, pero nunca será superior a 20 segundos. Si son posibles las dos condiciones de funcionamiento, deberá indicarse el nivel de potencia acústica más alto.

51. Máquinas quitanieves con herramientas giratorias

a) Máquinas limpiadoras de nieve para calzadas:

EN 17106-3-1:2021 (UNE-EN 17106-3-1:2022), punto 4.2.

b) Quitanieves conducidas a pie y con puesto de conducción:

i) Con motor de combustión:

EN ISO 8437-4:2021 (UNE-EN ISO 8437-4:2021), anexo A.

ii) Con motor eléctrico:

La máquina deberá funcionar a la velocidad máxima sin carga durante 10 minutos antes del inicio del ensayo. El recogedor o impulsor deberán estar lubricados conforme a las instrucciones del fabricante.

Durante el ensayo, el colector o impulsor deberán estar conectados y sin carga. El ensayo se realizará en posición estacionaria a la velocidad máxima sin carga.

La medición se realizará colocando la máquina sobre la superficie de tal forma que la proyección del centro geométrico de sus partes principales (excluyendo la empuñadura, etc.) coincida con el origen del sistema de coordenadas de las posiciones de los micrófonos. Si se utiliza una superficie artificial, esta se deberá colocar de tal forma que su centro geométrico también coincida con el origen del sistema de coordenadas de las posiciones de los micrófonos. El eje longitudinal de la máquina deberá coincidir con el eje de abscisas. La medición se llevará a cabo sin la presencia de un operario.

Durante las mediciones, la máquina funcionará en condiciones estables. Una vez que la emisión de ruido sea constante, el intervalo de tiempo de medición durará por lo menos 15 segundos. Si las mediciones se realizan en bandas de frecuencia de octava o de tercio de octava, el período mínimo de observación durará 30 segundos para bandas de frecuencia centradas en 160 Hz o por debajo, y 15 segundos para bandas de frecuencia centradas en 200 Hz o por encima.

52. Vehículos aspiradores

Ensayo con carga:

El vehículo aspirador se ensayará en posición estacionaria. El motor y las unidades auxiliares funcionarán a la velocidad indicada por el fabricante con respecto al funcionamiento del órgano de trabajo. Las bombas de vacío funcionarán a la velocidad máxima indicada por el fabricante. El equipo de aspiración funcionará de tal manera que la presión interna sea igual a la presión atmosférica (0 % de vacío). El ruido del flujo de la tobera de aspiración no influirá sobre los resultados de las mediciones.

Período de observación:

El período de observación durará por lo menos 15 segundos.

53. Grúas de torre

EN 14439:2006+A2:2009 (UNE-EN 14439:2008+A2:2010), punto 6.4.1.

54. Zanjadoras

ISO 6393:2008 (UNE-ISO 6393:2009).

55. Camiones hormigonera

EN 12609:2021 (UNE-EN 12609:2021), anexo B.

56. Bombas de agua

EN ISO 20361:2019 (UNE-EN ISO 20361:2020), EN ISO 20361:2019/A11:2020 (UNE-EN ISO 20361:2020/A11:2020).

Se aplicará el método de medición de esta norma basado en la norma EN ISO 3744:2010 (UNE-EN ISO 3744:2011).

El período de observación durará por lo menos 15 segundos.

57. Grupos electrógenos de soldadura

EN ISO 8528-10:2022 (EN ISO 8528-10:2022).

Se aplicará el método de medición de esta norma basado en la norma EN ISO 3744:2010 (UNE-EN ISO 3744:2011).»

Artículo segundo. Modificación del Real Decreto 1644/2008, de 10 de octubre, por el que se establecen las normas para la comercialización y puesta en servicio de las máquinas.

El Real Decreto 1644/2008, de 10 de octubre, por el que se establecen las normas para la comercialización y puesta en servicio de las máquinas, se modifica como sigue:

Uno. En el apartado 2 del artículo 2 se añaden dos nuevos párrafos n) y ñ) con la siguiente redacción:

«n) “Bienes pertinentes para crisis”: bienes pertinentes para crisis tal como se definen en el artículo 3, número 6, del Reglamento (UE) 2024/2747 del Parlamento Europeo y del Consejo, de 9 de octubre de 2024, por el que se establece un marco de medidas relativas a una emergencia del mercado interior y a la resiliencia de dicho mercado y se modifica el Reglamento (CE) n.º 2679/98 del Consejo.

ñ) “Modo de emergencia del mercado interior”: modo de emergencia del mercado interior tal como se define en el artículo 3, número 3, del Reglamento (UE) 2024/2747 del Parlamento Europeo y del Consejo, de 9 de octubre de 2024.»

Dos. Se introduce un nuevo capítulo, el capítulo VII, a continuación del artículo 21, con el siguiente contenido:

«CAPÍTULO VII
Procedimientos de emergencia
Artículo 22. Aplicación de los procedimientos de emergencia.

1. Los artículos 23 a 26 serán de aplicación en el momento en que la Comisión Europea haya adoptado un acto de ejecución con arreglo al artículo 28 del Reglamento (UE) 2024/2747 del Parlamento Europeo y del Consejo, de 9 de octubre de 2024, con respecto a las máquinas reguladas por la Directiva 2006/42/CE del Parlamento Europeo y del Consejo, de 17 de mayo de 2006.

2. Los efectos de dichos artículos se desplegarán únicamente mientras dure el modo de emergencia del mercado interior que se haya activado de conformidad con el artículo 18 del Reglamento (UE) 2024/2747 del Parlamento Europeo y del Consejo, de 9 de octubre de 2024, y se aplicarán únicamente a las máquinas incluidas en el ámbito de aplicación de este real decreto que hayan sido designadas como bienes pertinentes para crisis con arreglo al apartado 4 del artículo 18 del mencionado Reglamento (UE) 2024/2747 del Parlamento Europeo y del Consejo, de 9 de octubre de 2024.

3. Sin perjuicio de lo indicado en el apartado anterior, lo previsto en el apartado 7 del artículo 24 seguirá siendo de aplicación tras la expiración o desactivación del modo de emergencia del mercado interior.

4. Salvo que la autoridad competente de vigilancia del mercado considere que existe un riesgo para la salud o la seguridad de las personas, las máquinas que hayan sido introducidas en el mercado y puestas en servicio en el territorio español de conformidad con el apartado 1 del artículo 25, se seguirán considerando conformes con los requisitos esenciales de salud y seguridad pertinentes establecidos en el anexo I del presente real decreto tras la expiración o derogación del acto de ejecución al que se refiere el apartado 1 del artículo 21 sexies de la Directiva 2006/42/CE del Parlamento Europeo y del Consejo, de 17 de mayo de 2006, o tras la expiración o desactivación del modo de emergencia del mercado interior.

5. La aplicación de los artículos 24 y 25, así como la del apartado 4 del presente artículo deberá ajustarse a lo dispuesto en los actos de ejecución que la Comisión adopte en virtud del apartado 4 del artículo 21 ter de la Directiva 2006/42/CE del Parlamento Europeo y del Consejo, de 17 de mayo de 2006. Las autoridades competentes tomarán las disposiciones pertinentes para dar cumplimiento a las medidas de aplicación establecidas en dichos actos.

Artículo 23. Priorización de la evaluación de la conformidad de las máquinas designadas como bienes pertinentes para crisis.

1. El presente artículo será de aplicación a las máquinas enumeradas en el acto de ejecución al que se refiere el apartado 1 del artículo 22, que, de acuerdo con artículo 12, están sujetas a procedimientos de evaluación de la conformidad en los que se requiere la participación obligatoria de un organismo notificado.

2. Los organismos notificados harán todo lo posible por tramitar con carácter prioritario todas las solicitudes de evaluación de la conformidad de las máquinas a que se refiere el apartado 1, con independencia de que dichas solicitudes hayan sido presentadas antes o después de que el presente artículo sea de aplicación de acuerdo con lo indicado en el artículo 22.

3. La priorización de las solicitudes de evaluación de la conformidad de las máquinas con arreglo al apartado 2 no dará lugar a costes adicionales desproporcionados para los fabricantes que hayan presentado dichas solicitudes.

4. Los organismos notificados harán esfuerzos razonables por aumentar sus capacidades en materia de ensayo para las máquinas a que se refiere el apartado 1 en relación con las cuales hayan sido notificados.

Artículo 24. Excepción a los procedimientos de evaluación de la conformidad que requieren la participación obligatoria de un organismo notificado.

1. Sin perjuicio de lo indicado en el artículo 12, la autoridad competente podrá autorizar, previa solicitud debidamente justificada de un operador económico, la introducción en el mercado o la puesta en servicio en el territorio español de las máquinas específicas enumeradas en el acto de ejecución a que se refiere el apartado 1 del artículo 22 y que no hayan sido sometidas a los procedimientos de evaluación de la conformidad a los que se refiere el artículo 12 que requieren la participación obligatoria de un organismo notificado, pero para las cuales haya quedado demostrado el cumplimiento de todos los requisitos esenciales de salud y seguridad aplicables establecidos en el presente real decreto de conformidad con los procedimientos contemplados en dicha autorización.

2. A los efectos del apartado anterior, tendrán la consideración de autoridad competente las siguientes:

a) Cuando la máquina está diseñada y fabricada para su instalación y utilización en una ubicación específica, la comunidad autónoma correspondiente a dicha ubicación;

b) Cuando la máquina no está diseñada y fabricada para su instalación y utilización en una ubicación específica:

1.º Si la máquina está fabricada en España, la comunidad autónoma donde se lleve a cabo la fabricación de la máquina. En aquellos casos en los que la fabricación se lleve a cabo en varias comunidades autónomas, la autoridad competente será aquella comunidad en la que radique la sede social del fabricante, si esta está radicada en España, o, en caso contrario, aquella de entre las comunidades autónomas donde se lleve a cabo la fabricación en la que se presente por primera vez la solicitud de excepción.

2.º Si la máquina no está fabricada en España, pero el fabricante o su representante autorizado está establecido en territorio español, la comunidad autónoma donde esté establecido dicho fabricante o representante autorizado. En caso de que el fabricante o representante autorizado esté establecido en más de una comunidad autónoma, la autoridad competente será aquella comunidad en la que radique la sede social del fabricante o representante autorizado, si esta está radicada en España, o, en caso contrario, aquella de entre las comunidades autónomas donde esté establecido el fabricante o representante autorizado en la que se presente por primera vez la solicitud de excepción.

3.º Si el fabricante de la máquina no está establecido en territorio español, pero el importador de la máquina o, en su defecto, el distribuidor sí lo está, la comunidad autónoma donde esté establecido dicho operador económico. En caso de que el mencionado operador económico esté establecido en más de una comunidad autónoma, la autoridad competente será aquella comunidad en la que radique la sede social del mismo, si esta está radicada en España, o, en caso contrario, aquella de entre las comunidades autónomas donde esté establecido el operador económico en la que se presente por primera vez la solicitud de excepción.

4.º Si ni el fabricante de la máquina ni el operador económico que solicita la excepción están establecidos en territorio español, la Dirección General de Estrategia Industrial y de la Pequeña y Mediana Empresa del Ministerio de Industria y Turismo.

3. Toda autorización expedida de conformidad con el apartado 1 establecerá las condiciones y los requisitos con arreglo a los cuales las máquinas puedan introducirse en el mercado o ponerse en servicio. Dichas autorizaciones establecerán, como mínimo, lo siguiente:

a) Una descripción de los procedimientos mediante los cuales se ha demostrado con éxito el cumplimiento de los requisitos esenciales de salud y seguridad aplicables establecidos en el anexo I del presente real decreto;

b) Todo requisito específico relativo a la trazabilidad de las máquinas de que se trate;

c) Una fecha final de validez de la autorización, que no podrá exceder del último día del período durante el cual se haya activado el modo de emergencia del mercado interior de conformidad con el artículo 18 del Reglamento (UE) 2024/2747 del Parlamento Europeo y del Consejo, de 9 de octubre de 2024;

d) Todo requisito específico relativo a la necesidad de garantizar una evaluación continua de la conformidad de las máquinas de que se trate;

e) Las medidas que deben tomarse al expirar o desactivarse el modo de emergencia del mercado interior con respecto a las máquinas de que se trate que se han introducido en el mercado o puesto en servicio.

4. Los fabricantes de las máquinas sujetas al procedimiento de autorización contemplado en el apartado 1 declararán, bajo su exclusiva responsabilidad, que las máquinas en cuestión cumplen todos los requisitos esenciales de salud y seguridad aplicables establecidos en el anexo I, y serán responsables del cumplimiento de todos los procedimientos de evaluación de la conformidad indicados en la autorización.

5. La autoridad competente indicada en el apartado 2 podrá reconocer, de oficio, como válidas en el territorio español las autorizaciones concedidas en otros Estados miembros de conformidad con el apartado 1 del artículo 21 quinquies de la Directiva 2006/42/CE del Parlamento Europeo y del Consejo, de 17 de mayo de 2006, siempre que los requisitos establecidos en las citadas autorizaciones garanticen la conformidad con los requisitos esenciales de salud y seguridad aplicables establecidos en el anexo I.

6. La autoridad competente remitirá inmediatamente a la Comisión y a los demás Estados miembros la información relativa a las autorizaciones concedidas de conformidad con el apartado 1, así como de todo acto por el que se reconozcan como válidas las autorizaciones concedidas por otro Estado miembro de acuerdo con el apartado anterior.

Igualmente, la autoridad competente remitirá la información indicada en el párrafo anterior a la Dirección General de Estrategia Industrial y de la Pequeña y Mediana Empresa del Ministerio de Industria y Turismo, que publicará dicha información en el portal de internet del Ministerio de Industria y Turismo.

7. Las máquinas para las que se haya concedido una autorización de conformidad con el apartado 1 del presente artículo no llevarán el marcado CE.

No será de aplicación el artículo 6 del presente real decreto a las máquinas autorizadas en otro Estado miembro de conformidad con el apartado 1 del artículo 21 quinquies de la Directiva 2006/42/CE del Parlamento Europeo y del Consejo, de 17 de mayo de 2006, salvo por lo dispuesto en el siguiente apartado.

8. Sin perjuicio de lo indicado en el artículo 6 del presente real decreto, no se podrá prohibir, restringir u obstaculizar la introducción en el mercado o puesta en servicio en territorio español de las siguientes máquinas que, cumpliendo todos los requisitos esenciales de salud y seguridad aplicables establecidos en el presente real decreto, no cuenten con el marcado CE:

a) Aquellas para las que las autoridades competentes indicadas en el apartado 2.b) hayan concedido una autorización de acuerdo con lo indicado en el apartado 1 y que cuenten con la información indicada en el apartado 10;

b) Aquellas para las que las autoridades competentes indicadas en el apartado 2.b) hayan reconocido la validez de la autorización concedida en otro Estado miembro de conformidad con el apartado 5 y que cuenten con la información indicada en el apartado 10;

c) Las máquinas objeto del acto de ejecución al que se refiere el apartado 2 o el 3 del artículo 21 quinquies de la Directiva 2006/42/CE del Parlamento Europeo y del Consejo, de 17 de mayo de 2006, por el que se amplía la validez de las autorizaciones concedidas por los Estados miembros, y que cuenten con la información indicada en dicho acto, al menos, en castellano.

9. Sin perjuicio de lo indicado en el artículo 6 del presente real decreto, las máquinas que no cuenten con el marcado CE para las que la autoridad competente a la que se refiere el apartado 2.a) haya concedido una autorización de acuerdo con el apartado 1 o haya reconocido la validez de la autorización concedida en otro Estado miembro de conformidad con el apartado 5 y que no hayan sido objeto del acto de ejecución al que se refiere el apartado 2 o el 3 del artículo 21 quinquies de la Directiva 2006/42/CE del Parlamento Europeo y del Consejo, de 17 de mayo de 2006, solo podrán introducirse en el mercado y ponerse en servicio en la ubicación específica para la que se concede la autorización.

Las comunidades autónomas podrán reconocer como válidas, para ubicaciones específicas dentro de su territorio, las autorizaciones concedidas por otras comunidades autónomas de conformidad con los apartados 1 y 2.a).

10. Las máquinas introducidas en el mercado y puestas en servicio en el territorio español de conformidad con lo indicado en los párrafos a) y b) del apartado 8 irán acompañadas de la declaración responsable indicada en el apartado 4, que se incluirá al menos en castellano, y de una copia de la autorización expedida por la autoridad competente de acuerdo con el apartado 1 o, en su caso, de la resolución por la que se reconoce la validez de la autorización concedida en otro Estado miembro de conformidad con el apartado 5, y llevarán la siguiente información, al menos, en castellano, así como el resto de información aplicable requerida en el presente real decreto:

a) Las máquinas que cuenten con una autorización expedida por la autoridad competente a la que hacen referencia los párrafos 1.º a 3.º del apartado 2.b) y que no hayan sido objeto del acto de ejecución al que se refiere el apartado 2 o el 3 del artículo 21 quinquies de la Directiva 2006/42/CE del Parlamento Europeo y del Consejo, de 17 de mayo de 2006, llevarán la información indicada en la resolución por la que se concede dicha autorización.

b) Las máquinas que cuenten con una autorización expedida por la Dirección General de Estrategia Industrial y de la Pequeña y Mediana Empresa del Ministerio de Industria y Turismo de acuerdo con lo indicado en el apartado 1 y que no hayan sido objeto del acto de ejecución al que se refiere el apartado 2 o el 3 del artículo 21 quinquies de la Directiva 2006/42/CE del Parlamento Europeo y del Consejo, de 17 de mayo de 2006, incluirán en el producto o embalaje la información relativa a que la máquina ha sido autorizado por el Ministerio de Industria y Turismo, junto con la referencia a la resolución por la que se concede dicha autorización. La autorización podrá establecer requisitos para completar o modificar el contenido y presentación de dicha información.

c) Las máquinas para las que la autoridad competente a la que hacen referencia los párrafo 1.º a 3.º del apartado 2.b) haya reconocido la validez de la autorización concedida en otro Estado miembro de conformidad con el apartado 5 y que no hayan sido objeto del acto de ejecución al que se refiere el apartado 2 o el 3 del artículo 21 quinquies de la Directiva 2006/42/CE del Parlamento Europeo y del Consejo, de 17 de mayo de 2006, llevarán la información indicada en la resolución por la que se reconoce la validez de dicha autorización.

d) Las máquinas para las que la Dirección General de Estrategia Industrial y de la Pequeña y Mediana Empresa del Ministerio de Industria y Turismo haya reconocido la validez de la autorización concedida en otro Estado miembro de conformidad con el apartado 5 y que no hayan sido objeto del acto de ejecución al que se refiere el apartado 2 o el 3 del artículo 21 quinquies de la Directiva 2006/42/CE del Parlamento Europeo y del Consejo, de 17 de mayo de 2006, incluirán en el producto o embalaje la información relativa a que la máquina ha sido autorizado en otro Estado miembro y que dicha autorización ha sido reconocida por el Ministerio de Industria y Turismo, junto con la referencia a la resolución por la que se concede dicho reconocimiento. La resolución por la que se reconoce la autorización concedida en otro Estado miembro podrá establecer requisitos para completar o modificar el contenido y presentación de dicha información.

11. Las comunidades autónomas podrán tomar a nivel nacional todas las medidas correctivas y restrictivas contempladas en el Reglamento (UE) 2019/1020 del Parlamento Europeo y del Consejo, de 20 de junio de 2019, relativo a la vigilancia del mercado y la conformidad de los productos y por el que se modifican la Directiva 2004/42/CE y los Reglamentos (CE) n.º 765/2008 y (UE) n.º 305/2011 y en el presente real decreto con respecto a las máquinas introducidas en el mercado o puestas en servicio de conformidad con este artículo.

Las comunidades autónomas informarán inmediatamente de dichas medidas a la Comisión y a las autoridades de vigilancia del mercado de todos los demás Estados miembros.

12. Las autorizaciones concedidas de acuerdo con el apartado 1 o el reconocimiento de las autorizaciones concedidas en otros Estados miembros de acuerdo con el apartado 5 no afectará a la aplicación de los procedimientos de evaluación de la conformidad pertinentes establecidos en el artículo 12.

Artículo 25. Presunción de conformidad basada en normas y especificaciones comunes de las máquinas que hayan sido designadas como bienes pertinentes para crisis.

1. Sin perjuicio de lo dispuesto en el artículo 7, se presumirá que las máquinas que han sido designadas como bienes pertinentes para crisis que son conformes con las normas o las especificaciones comunes a las que se refiere el artículo 21 sexies de la Directiva 2006/42/CE del Parlamento Europeo y del Consejo, de 17 de mayo de 2006, o partes de ellas, cumplen los requisitos esenciales de salud y seguridad pertinentes establecidos en el anexo I de este real decreto que están cubiertos por dichas normas, especificaciones comunes o partes de ellas. A partir del día siguiente a la expiración o desactivación del modo de emergencia del mercado interior, los fabricantes no podrán invocar la presunción de conformidad que confieren dichas normas o especificaciones comunes.

2. Cuando el órgano competente de una comunidad autónoma considere que una norma o especificación común contemplada en el apartado 1 del artículo 21 sexies de la Directiva 2006/42/CE del Parlamento Europeo y del Consejo, de 17 de mayo de 2006, no satisface plenamente los requisitos esenciales de salud y seguridad pertinentes establecidos en el anexo I de este real decreto, lo comunicará al órgano competente del Ministerio de Industria y Turismo enviando una explicación detallada.

El órgano competente del Ministerio de Industria y Turismo informará de ello a la Comisión.

Artículo 26. Priorización de las actividades de vigilancia del mercado y asistencia a otras autoridades de vigilancia del mercado.

1. Las comunidades autónomas darán prioridad a las actividades de vigilancia del mercado en relación con las máquinas enumeradas en el acto de ejecución a que se refiere el apartado 1 del artículo 22.

2. Las comunidades autónomas harán todo lo posible por prestar asistencia a otras autoridades de vigilancia del mercado durante un modo de emergencia del mercado interior, incluyendo cuando se disponga de los medios y capacidades disponibles, el envío de equipos de expertos para reforzar temporalmente la plantilla de las autoridades de vigilancia del mercado que soliciten asistencia, o proporcionando apoyo logístico, como el refuerzo de la capacidad de ensayo de las máquinas enumeradas en el acto de ejecución a que se refiere el apartado 1 del artículo 22.

3. En caso de que la autoridad de vigilancia del mercado de una comunidad autónoma requiera de la asistencia de otras autoridades de vigilancia del mercado, remitirá solicitud de asistencia a través de los grupos de trabajo correspondientes de la Conferencia Sectorial de Industria y PYME.

Las demandas de asistencia podrán incluir, entre otros, los aspectos indicados en el apartado 2.

4. Cuando la solicitud de asistencia a la que se refiere el apartado anterior no pueda ser atendida por ninguna autoridad de vigilancia del mercado de las comunidades autónomas por falta de recursos y/o capacidades, la comunidad autónoma solicitante podrá demandar asistencia de las autoridades de vigilancia del mercado de otros Estados miembros directamente o a través de la Oficina de Enlace Única de vigilancia del mercado en España, quien remitirá la solicitud de asistencia a las oficinas de enlace único de vigilancia del mercado del resto de Estados miembros.

Adicionalmente a lo indicado en el párrafo anterior, el Ministerio de Industria y Turismo, previa solicitud de la autoridad de vigilancia del mercado de la comunidad autónoma demandante de asistencia, remitirá dicha solicitud a las autoridades de vigilancia del mercado del resto de Estados miembros a través del grupo de cooperación administrativa correspondiente al que se refiere el artículo 32 del Reglamento (UE) 2019/1020 del Parlamento Europeo y del Consejo, de 20 de junio de 2019.

5. Sin perjuicio de lo indicado en el apartado siguiente, las solicitudes de asistencia procedentes de autoridades de vigilancia del mercado de otros Estados miembros que se reciban en el Ministerio de Industria y Turismo o en las autoridades de vigilancia del mercado de las comunidades autónomas serán remitidas al conjunto de las autoridades de vigilancia del mercado de las comunidades autónomas a través de los grupos de trabajo correspondientes de la Conferencia Sectorial de Industria y PYME, informando de ello a la Oficina de Enlace Única.

Las solicitudes de asistencia procedentes de autoridades de vigilancia del mercado de otros Estados miembros que se reciban en la Oficina de Enlace Única serán enviadas al Ministerio de Industria y Turismo para su remisión a las autoridades de vigilancia del mercado de las comunidades autónomas a través de los grupos de trabajo correspondientes de la Conferencia Sectorial de Industria y PYME.

En el plazo máximo de cinco días hábiles desde la remisión de la solicitud a los grupos de trabajo correspondientes de la Conferencia Sectorial de Industria y PYME, el Ministerio de Industria y Turismo informará a la Oficina de Enlace Única sobre el resultado de la solicitud, indicando, en su caso, las autoridades de vigilancia que pueden prestar asistencia. La Oficina de Enlace Única remitirá dicha información al Estado miembro solicitante.

6. Cuando la solicitud indicada en el apartado anterior requiera asistencia específica de una autoridad de vigilancia del mercado concreta, las solicitudes serán remitidas directamente a dicha comunidad autónoma informando de ello al Estado miembro solicitante.

7. Las solicitudes de asistencia entre las autoridades de vigilancia del mercado, así como el resto de comunicaciones a las que se refiere el presente artículo se realizarán por medios electrónicos.»

Artículo tercero. Modificación del Real Decreto 1388/2011, de 14 de octubre, por el que se dictan las disposiciones de aplicación de la Directiva 2010/35/UE del Parlamento Europeo y del Consejo de 16 de junio de 2010 sobre equipos a presión transportables y por la que se derogan las Directivas 76/767/CEE, 84/525/CEE, 84/526/CEE, 84/527/CEE y 1999/36/CE.

El Real Decreto 1388/2011, de 14 de octubre, por el que se dictan las disposiciones de aplicación de la Directiva 2010/35/UE del Parlamento Europeo y del Consejo de 16 de junio de 2010 sobre equipos a presión transportables y por la que se derogan las Directivas 76/767/CEE, 84/525/CEE, 84/526/CEE, 84/527/CEE y 1999/36/CE, se modifica como sigue:

Uno. En el artículo 2 se añaden dos nuevos apartados 24 y 25 con la siguiente redacción:

«24. Bienes pertinentes para crisis: bienes pertinentes para crisis tal como se definen en el artículo 3, número 6, del Reglamento (UE) 2024/2747 del Parlamento Europeo y del Consejo, de 9 de octubre de 2024, por el que se establece un marco de medidas relativas a una emergencia del mercado interior y a la resiliencia de dicho mercado y se modifica el Reglamento (CE) n.º 2679/98 del Consejo.

25. Modo de emergencia del mercado interior: modo de emergencia del mercado interior tal como se define en el artículo 3, número 3, del Reglamento (UE) 2024/2747 del Parlamento Europeo y del Consejo, de 9 de octubre de 2024.»

Dos. Se introduce un nuevo capítulo, el capítulo VI, a continuación del artículo 30, con el siguiente contenido:

«CAPÍTULO VI
Procedimientos de emergencia
Artículo 31. Aplicación de los procedimientos de emergencia.

1. Los artículos 32 a 34 serán de aplicación en el momento en que la Comisión Europea haya adoptado un acto de ejecución con arreglo al artículo 28 del Reglamento (UE) 2024/2747 del Parlamento Europeo y del Consejo, de 9 de octubre de 2024, con respecto a los equipos a presión transportables regulados por la Directiva 2010/35/UE del Parlamento Europeo y del Consejo, de 16 de junio de 2010.

2. Los efectos de dichos artículos se desplegarán únicamente mientras dure el modo de emergencia del mercado interior que se haya activado de conformidad con el artículo 18 del Reglamento (UE) 2024/2747 del Parlamento Europeo y del Consejo, de 9 de octubre de 2024, y se aplicarán únicamente a los equipos a presión transportables incluidos en el ámbito de aplicación de este real decreto que hayan sido designados como bienes pertinentes para crisis con arreglo al apartado 4 del artículo 18 del mencionado Reglamento (UE) 2024/2747 del Parlamento Europeo y del Consejo, de 9 de octubre de 2024.

3. Sin perjuicio de lo indicado en el apartado anterior, lo previsto en el apartado 7 del artículo 33 seguirá siendo de aplicación tras la expiración o desactivación del modo de emergencia del mercado interior.

4. La aplicación del artículo 33 del presente artículo deberá ajustarse a lo dispuesto en los actos de ejecución que la Comisión adopte en virtud del apartado 4 del artículo 33 bis de la Directiva 2010/35/UE del Parlamento Europeo y del Consejo, de 16 de junio de 2010. Las autoridades competentes tomarán las disposiciones pertinentes para dar cumplimiento a las medidas de aplicación establecidas en dichos actos.

Artículo 32. Priorización de la evaluación de la conformidad de los equipos a presión transportables designados como bienes pertinentes para crisis.

1. El presente artículo será de aplicación a los equipos a presión transportables enumerados en el acto de ejecución al que se refiere el apartado 1 del artículo 31, que, de acuerdo con el artículo 12, están sujetos a procedimientos de evaluación de la conformidad en los que se requiere la participación obligatoria de un organismo notificado.

2. Los organismos notificados harán todo lo posible por tramitar con carácter prioritario todas las solicitudes de evaluación de la conformidad de los equipos a presión transportables a que se refiere el apartado 1, con independencia de que dichas solicitudes hayan sido presentadas antes o después de que el presente artículo sea de aplicación de acuerdo con lo indicado en el artículo 31.

3. La priorización de las solicitudes de evaluación de la conformidad de los equipos a presión transportables con arreglo al apartado 2 no dará lugar a costes adicionales desproporcionados para los fabricantes que hayan presentado dichas solicitudes.

4. Los organismos notificados harán esfuerzos razonables por aumentar sus capacidades en materia de ensayo para los equipos a presión transportables a que se refiere el apartado 1 en relación con las cuales hayan sido notificados.

Artículo 33. Excepción a los procedimientos de evaluación de la conformidad que requieren la participación obligatoria de un organismo notificado.

1. Sin perjuicio de lo indicado en el artículo 12, la autoridad competente podrá autorizar, previa solicitud debidamente justificada de un operador económico, la introducción en el mercado en el territorio español de un equipo a presión transportable específico enumerado en el acto de ejecución a que se refiere el apartado 1 del artículo 31, y que no haya sido sometido a los procedimientos de evaluación de la conformidad a los que se refiere el artículo 12 que requieren la participación obligatoria de un organismo notificado, pero para el cual haya quedado demostrado el cumplimiento de todos los requisitos aplicables establecidos en los anexos de la Directiva 2008/68/CE del Parlamento Europeo y del Consejo, de 24 de septiembre de 2008, sobre el transporte terrestre de mercancías peligrosas y en el presente real decreto de conformidad con los procedimientos contemplados en dicha autorización.

2. A los efectos del apartado anterior, tendrán la consideración de autoridad competente las siguientes:

a) Si el equipo a presión transportable está fabricado en España, la comunidad autónoma donde se lleve a cabo la fabricación del equipo a presión transportable. En aquellos casos en los que la fabricación se lleve a cabo en varias comunidades autónomas, la autoridad competente será aquella comunidad en la que radique la sede social del fabricante, si esta está radicada en España, o, en caso contrario, aquella de entre las comunidades autónomas donde se lleve a cabo la fabricación en la que se presente por primera vez la solicitud de excepción.

b) Si el equipo a presión transportable no está fabricado en España, pero el fabricante o su representante autorizado está establecido en territorio español, la comunidad autónoma donde esté establecido dicho fabricante o representante autorizado. En caso de que el fabricante o representante autorizado esté establecido en más de una comunidad autónoma, la autoridad competente será aquella comunidad en la que radique la sede social del fabricante o representante autorizado, si esta está radicada en España, o, en caso contrario, aquella de entre las comunidades autónomas donde esté establecido el fabricante o representante autorizado en la que se presente por primera vez la solicitud de excepción.

c) Si el fabricante del equipo a presión transportable no está establecido en territorio español, pero el importador del equipo a presión transportable o, en su defecto, el distribuidor sí lo está, la comunidad autónoma donde esté establecido dicho operador económico. En caso de que el mencionado operador económico esté establecido en más de una comunidad autónoma, la autoridad competente será aquella comunidad en la que radique la sede social del mismo, si esta está radicada en España, o, en caso contrario, aquella de entre las comunidades autónomas donde esté establecido el operador económico en la que se presente por primera vez la solicitud de excepción.

d) Si ni el fabricante del equipo a presión transportable ni el operador económico que solicita la excepción están establecidos en territorio español, la Dirección General de Estrategia Industrial y de la Pequeña y Mediana Empresa del Ministerio de Industria y Turismo.

3. Toda autorización expedida de conformidad con el apartado 1 establecerá las condiciones y los requisitos con arreglo a los cuales un equipo a presión transportable pueda introducirse en el mercado. Dichas autorizaciones establecerán, como mínimo, lo siguiente:

a) Una descripción de los procedimientos mediante los cuales se ha demostrado con éxito el cumplimiento de los requisitos aplicables establecidos en los anexos de la Directiva 2008/68/CE del Parlamento Europeo y del Consejo, de 24 de septiembre de 2008, y en el presente real decreto;

b) Todo requisito específico relativo a la trazabilidad del equipo a presión transportable de que se trate;

c) Una fecha final de validez de la autorización, que no podrá exceder del último día del período durante el cual se haya activado el modo de emergencia del mercado interior de conformidad con el artículo 18 del Reglamento (UE) 2024/2747 del Parlamento Europeo y del Consejo, de 9 de octubre de 2024;

d) Todo requisito específico relativo a la necesidad de garantizar la evaluación continua de la conformidad del equipo a presión transportable de que se trate;

e) Las medidas que deban tomarse al expirar o desactivarse el modo de emergencia del mercado interior con respecto al equipo a presión transportable de que se trate que se ha introducido en el mercado.

4. Los fabricantes y los importadores de un equipo a presión transportable sujeto al procedimiento de autorización contemplado en el apartado 1 declararán, bajo su exclusiva responsabilidad, que el equipo a presión transportable en cuestión cumple todos los requisitos aplicables establecidos en los anexos de la Directiva 2008/68/CE del Parlamento Europeo y del Consejo, de 24 de septiembre de 2008, y en el presente real decreto y serán responsables del cumplimiento de todos los procedimientos de evaluación de la conformidad indicados en la autorización.

5. La autoridad competente indicada en el apartado 2 podrá reconocer, de oficio, como válidas en el territorio español las autorizaciones concedidas en otros Estados miembros de conformidad con el apartado 1 del artículo 33 quater de la Directiva 2010/35/UE del Parlamento Europeo y del Consejo, de 16 de junio de 2010, sobre equipos a presión transportables y por la que se derogan las Directivas 76/767/CEE, 84/525/CEE, 84/526/CEE, 84/527/CEE y 1999/36/CE del Consejo, siempre que los requisitos establecidos en las citadas autorizaciones garanticen la conformidad con los requisitos establecidos en los anexos de la Directiva 2008/68/CE del Parlamento Europeo y del Consejo, de 24 de septiembre de 2008, y en el presente real decreto.

6. La autoridad competente remitirá inmediatamente a la Comisión y a los demás Estados miembros la información relativa a las autorizaciones concedidas de conformidad con el apartado 1, así como de todo acto por el que se reconozcan como válidas las autorizaciones concedidas por otro Estado miembro de acuerdo con el apartado anterior.

Igualmente, la autoridad competente remitirá la información indicada en el párrafo anterior a la Dirección General de Estrategia Industrial y de la Pequeña y Mediana Empresa del Ministerio de Industria y Turismo, que publicará dicha información en el portal de internet del Ministerio de Industria y Turismo.

7. Los equipos a presión transportables para las que se haya concedido una autorización de conformidad con el apartado 1 del presente artículo no llevarán el marcado “Π”.

No será de aplicación el artículo 15 del presente real decreto a los equipos a presión transportables autorizados en otro Estado miembro de conformidad con el apartado 1 del artículo 33 quater de la Directiva 2010/35/UE del Parlamento Europeo y del Consejo, de 16 de junio de 2010, salvo por lo dispuesto en el siguiente apartado.

8. Sin perjuicio de lo indicado en el artículo 15 del presente real decreto, no se podrá prohibir, limitar o impedir en todo el territorio español la libre circulación, la comercialización y la utilización de los siguientes equipos a presión transportables que, cumpliendo todos los requisitos aplicables establecidos en los anexos de la Directiva 2008/68/CE del Parlamento Europeo y del Consejo, de 24 de septiembre de 2008, no cuenten con el marcado “Π”:

a) Los que cuenten con una autorización de acuerdo con lo indicado en el apartado 1 y que cuenten con la información indicada en el siguiente apartado;

b) Aquellos para los que se haya reconocido la validez de la autorización concedida en otro Estado miembro de conformidad con el apartado 5 y que cuenten con la información indicada en el siguiente apartado;

c) Los equipos a presión transportables objeto del acto de ejecución al que se refiere el apartado 2 o el 3 del artículo 33 quater de la Directiva 2010/35/UE del Parlamento Europeo y del Consejo, de 16 de junio de 2010, por el que se amplía la validez de las autorizaciones concedidas por los Estados miembros, y que cuenten con la información indicada en dicho acto, al menos, en castellano.

9. Los equipos a presión transportables introducidos en el mercado en el territorio español de conformidad con lo indicado en los párrafos a) y b) del apartado anterior llevarán la siguiente información, al menos, en castellano, así como el resto de información aplicable requerida en el presente real decreto:

a) Los equipos a presión transportables que cuenten con una autorización expedida por la autoridad competente a la que hacen referencia los párrafos a) a c) del apartado 2 y que no hayan sido objeto del acto de ejecución al que se refiere el apartado 2 o el 3 del artículo 33 quater de la Directiva 2010/35/UE del Parlamento Europeo y del Consejo, de 16 de junio de 2010, llevarán la información indicada en la resolución por la que se concede dicha autorización.

b) Los equipos a presión transportables que cuenten con una autorización expedida por la Dirección General de Estrategia Industrial y de la Pequeña y Mediana Empresa del Ministerio de Industria y Turismo de acuerdo con lo indicado en el apartado 1 y que no hayan sido objeto del acto de ejecución al que se refiere el apartado 2 o el 3 del artículo 33 quater de la Directiva 2010/35/UE del Parlamento Europeo y del Consejo, de 16 de junio de 2010, incluirán en el equipo o embalaje la información relativa a que el equipo a presión transportable ha sido autorizado por el Ministerio de Industria y Turismo, junto con la referencia a la resolución por la que se concede dicha autorización. La autorización podrá establecer requisitos para modificar el contenido y presentación de dicha información.

c) Los equipos a presión transportables para los que la autoridad competente a la que hacen referencia los párrafos a) a c) del apartado 2 haya reconocido la validez de la autorización concedida en otro Estado miembro de conformidad con el apartado 5 y que no hayan sido objeto del acto de ejecución al que se refiere el apartado 2 o el 3 del artículo 33 quater de la Directiva 2010/35/UE del Parlamento Europeo y del Consejo, de 16 de junio de 2010, llevarán la información indicada en la resolución por la que se reconoce la validez de dicha autorización.

d) Los equipos a presión transportables para los que la Dirección General de Estrategia Industrial y de la Pequeña y Mediana Empresa del Ministerio de Industria y Turismo haya reconocido la validez de la autorización concedida en otro Estado miembro de conformidad con el apartado 5 y que no hayan sido objeto del acto de ejecución al que se refiere el apartado 2 o el 3 del artículo 33 quater de la Directiva 2010/35/UE del Parlamento Europeo y del Consejo, de 16 de junio de 2010, incluirán en el equipo o embalaje la información relativa a que el equipo a presión transportable, ha sido autorizado en otro Estado miembro y que dicha autorización ha sido reconocida por el Ministerio de Industria y Turismo, junto con la referencia a la resolución por la que se concede dicho reconocimiento. La resolución por la que se reconoce la autorización concedida en otro Estado miembro podrá establecer requisitos para modificar el contenido y presentación de dicha información.

10. Las comunidades autónomas podrán tomar a nivel nacional todas las medidas correctivas y restrictivas contempladas en el Reglamento (UE) 2019/1020 del Parlamento Europeo y del Consejo, de 20 de junio de 2019, relativo a la vigilancia del mercado y la conformidad de los productos y por el que se modifican la Directiva 2004/42/CE y los Reglamentos (CE) n.º 765/2008 y (UE) n.º 305/2011 y en el presente real decreto con respecto a los equipos a presión transportables introducidos en el mercado de conformidad con este artículo.

Las comunidades autónomas informarán inmediatamente de dichas medidas a la Comisión y a las autoridades de vigilancia del mercado de todos los demás Estados miembros.

11. Las autorizaciones concedidas de acuerdo con el apartado 1 o el reconocimiento de las autorizaciones concedidas en otros Estados miembros de acuerdo con el apartado 5 no afectará a la aplicación de los procedimientos de evaluación de la conformidad pertinentes establecidos en el artículo 12.

Artículo 34. Priorización de las actividades de vigilancia del mercado y asistencia a otras autoridades de vigilancia del mercado.

1. Las comunidades autónomas darán prioridad a las actividades de vigilancia del mercado en relación con los equipos a presión transportables enumerados en el acto de ejecución a que se refiere el apartado 1 del artículo 31.

2. Las comunidades autónomas harán todo lo posible por prestar asistencia a otras autoridades de vigilancia del mercado durante un modo de emergencia del mercado interior, incluyendo cuando se disponga de los medios y capacidades disponibles, el envío de equipos de expertos para reforzar temporalmente la plantilla de las autoridades de vigilancia del mercado que soliciten asistencia, o proporcionando apoyo logístico, como el refuerzo de la capacidad de ensayo de los equipos a presión transportables enumerados en el acto de ejecución a que se refiere el apartado 1 del artículo 31.

3. En caso de que la autoridad de vigilancia del mercado de una comunidad autónoma requiera de la asistencia de otras autoridades de vigilancia del mercado, remitirá solicitud de asistencia a través de los grupos de trabajo correspondiente de la Conferencia Sectorial de Industria y PYME.

Las demandas de asistencia podrán incluir, entre otros, los aspectos indicados en el apartado 2.

4. Cuando la solicitud de asistencia a la que se refiere el apartado anterior no pueda ser atendida por ninguna autoridad de vigilancia del mercado de las comunidades autónomas por falta de recursos y/o capacidades, la comunidad autónoma solicitante podrá demandar asistencia de las autoridades de vigilancia del mercado de otros Estados miembros directamente o a través de la Oficina de Enlace Única de vigilancia del mercado en España, quien remitirá la solicitud de asistencia a las oficinas de enlace único de vigilancia del mercado del resto de Estados miembros.

Adicionalmente a lo indicado en el párrafo anterior, el Ministerio de Industria y Turismo, previa solicitud de la autoridad de vigilancia del mercado de la comunidad autónoma demandante de asistencia, remitirá dicha solicitud a las autoridades de vigilancia del mercado del resto de Estados miembros a través del grupo de cooperación administrativa correspondiente al que se refiere el artículo 32 del Reglamento (UE) 2019/1020 del Parlamento Europeo y del Consejo, de 20 de junio de 2019.

5. Sin perjuicio de lo indicado en el apartado siguiente, las solicitudes de asistencia procedentes de autoridades de vigilancia del mercado de otros Estados miembros que se reciban en el Ministerio de Industria y Turismo o en las autoridades de vigilancia del mercado de las comunidades autónomas serán remitidas al conjunto de las autoridades de vigilancia del mercado de las comunidades autónomas a través de los grupos de trabajo correspondientes de la Conferencia Sectorial de Industria y PYME, informando de ello a la Oficina de Enlace Única.

Las solicitudes de asistencia procedentes de autoridades de vigilancia del mercado de otros Estados miembros que se reciban en la Oficina de Enlace Única serán enviadas al Ministerio de Industria y Turismo para su remisión a las autoridades de vigilancia del mercado de las comunidades autónomas a través de los grupos de trabajo correspondientes de la Conferencia Sectorial de Industria y PYME.

En el plazo máximo de cinco días hábiles desde la remisión de la solicitud a los grupos de trabajo correspondientes de la Conferencia Sectorial de Industria y PYME, el Ministerio de Industria y Turismo informará a la Oficina de Enlace Única sobre el resultado de la solicitud, indicando, en su caso, las autoridades de vigilancia que pueden prestar asistencia. La Oficina de Enlace Única remitirá dicha información al Estado miembro solicitante.

6. Cuando la solicitud indicada en el apartado anterior requiera asistencia específica de una autoridad de vigilancia del mercado concreta, las solicitudes serán remitidas directamente a dicha comunidad autónoma informando de ello al Estado miembro solicitante.

7. Las solicitudes de asistencia entre las autoridades de vigilancia del mercado, así como el resto de comunicaciones a las que se refiere el presente artículo se realizarán por medios electrónicos.»

Artículo cuarto. Modificación del Real Decreto 709/2015, de 24 de julio, por el que se establecen los requisitos esenciales de seguridad para la comercialización de los equipos a presión.

El Real Decreto 709/2015, de 24 de julio, por el que se establecen los requisitos esenciales de seguridad para la comercialización de los equipos a presión, se modifica como sigue:

Uno. En el artículo 2 se añaden dos nuevos apartados 35 y 36 con la siguiente redacción:

«35. Bienes pertinentes para crisis: bienes pertinentes para crisis tal como se definen en el artículo 3, número 6, del Reglamento (UE) 2024/2747 del Parlamento Europeo y del Consejo, de 9 de octubre de 2024, por el que se establece un marco de medidas relativas a una emergencia del mercado interior y a la resiliencia de dicho mercado y se modifica el Reglamento (CE) n.º 2679/98 del Consejo.

36. Modo de emergencia del mercado interior: modo de emergencia del mercado interior tal como se define en el artículo 3, número 3, del Reglamento (UE) 2024/2747 del Parlamento Europeo y del Consejo, de 9 de octubre de 2024.»

Dos. Se introduce un nuevo capítulo, el capítulo VII, a continuación del artículo 35, con el siguiente contenido:

«CAPÍTULO VII
Procedimientos de emergencia
Artículo 36. Aplicación de los procedimientos de emergencia.

1. Los artículos 37 a 40 serán de aplicación en el momento en que la Comisión Europea haya adoptado un acto de ejecución con arreglo al artículo 28 del Reglamento (UE) 2024/2747 del Parlamento Europeo y del Consejo, de 9 de octubre de 2024, con respecto a los equipos a presión o conjuntos regulados por la Directiva 2014/68/UE del Parlamento Europeo y del Consejo, de 15 de mayo de 2014.

2. Los efectos de dichos artículos se desplegarán únicamente mientras dure el modo de emergencia del mercado interior que se haya activado de conformidad con el artículo 18 del Reglamento (UE) 2024/2747 del Parlamento Europeo y del Consejo, de 9 de octubre de 2024, y se aplicarán únicamente a los equipos a presión o conjuntos incluidos en el ámbito de aplicación de este real decreto que hayan sido designados como bienes pertinentes para crisis con arreglo al apartado 4 del artículo 18 del mencionado Reglamento (UE) 2024/2747 del Parlamento Europeo y del Consejo, de 9 de octubre de 2024.

3. Sin perjuicio de lo indicado en el apartado anterior, lo previsto en el apartado 7 del artículo 38 seguirá siendo de aplicación tras la expiración o desactivación del modo de emergencia del mercado interior.

4. Salvo que la autoridad competente de vigilancia del mercado considere que existe un riesgo para la salud o la seguridad de las personas, los equipos a presión o conjuntos que hayan sido introducidos en el mercado o utilizados por los fabricantes para sus propios fines en el territorio español de conformidad con el apartado 1 del artículo 39, se seguirán considerando conformes con los requisitos esenciales de seguridad aplicables establecidos en el anexo I del presente real decreto tras la expiración o derogación del acto de ejecución al que se refiere el apartado 1 del artículo 43 quinquies de la Directiva 2014/68/UE del Parlamento Europeo y del Consejo, de 15 de mayo de 2014, o tras la expiración o desactivación del modo de emergencia del mercado interior.

5. La aplicación de los artículos 38 y 39, así como la del apartado 4 del presente artículo deberá ajustarse a lo dispuesto en los actos de ejecución que la Comisión adopte en virtud del apartado 4 del artículo 43 bis de la Directiva 2014/68/UE del Parlamento Europeo y del Consejo, de 15 de mayo de 2014. Las autoridades competentes tomarán las disposiciones pertinentes para dar cumplimiento a las medidas de aplicación establecidas en dichos actos.

Artículo 37. Priorización de la evaluación de la conformidad de los equipos a presión o conjuntos designados como bienes pertinentes para crisis.

1. El presente artículo será de aplicación a los equipos a presión o conjuntos enumerados en el acto de ejecución al que se refiere el apartado 1 del artículo 36, que, de acuerdo con el artículo 14, están sujetos a procedimientos de evaluación de la conformidad en los que se requiere la participación obligatoria de un organismo notificado.

2. Los organismos notificados harán todo lo posible por tramitar con carácter prioritario todas las solicitudes de evaluación de la conformidad de los equipos a presión o conjuntos a que se refiere el apartado 1, con independencia de que dichas solicitudes hayan sido presentadas antes o después de que el presente artículo sea de aplicación de acuerdo con lo indicado en el artículo 36.

3. La priorización de las solicitudes de evaluación de la conformidad de los equipos a presión o conjuntos con arreglo al apartado 2 no dará lugar a costes adicionales desproporcionados para los fabricantes que hayan presentado dichas solicitudes.

4. Los organismos notificados harán esfuerzos razonables por aumentar sus capacidades en materia de ensayo para los equipos a presión o conjuntos a que se refiere el apartado 1 en relación con las cuales hayan sido notificados.

Artículo 38. Excepción a los procedimientos de evaluación de la conformidad que requieren la participación obligatoria de un organismo notificado.

1. Sin perjuicio de lo indicado en el artículo 14, la autoridad competente podrá autorizar, previa solicitud debidamente justificada de un operador económico, la introducción en el mercado o la utilización por el fabricante para sus propios fines de un equipo a presión o conjunto específico enumerado en el acto de ejecución a que se refiere el apartado 1 del artículo 36, y que no haya sido sometido a los procedimientos de evaluación de la conformidad a los que se refiere el artículo 14 que requieren la participación obligatoria de un organismo notificado, pero para el cual haya quedado demostrado el cumplimiento de todos los requisitos esenciales de seguridad aplicables establecidos en el anexo I de este real decreto de conformidad con los procedimientos contemplados en dicha autorización.

2. A los efectos del apartado anterior, tendrán la consideración de autoridad competente las siguientes:

a) Cuando el equipo a presión o conjunto está diseñado y fabricado para su instalación y utilización en una ubicación específica, la comunidad autónoma correspondiente a dicha ubicación;

b) Cuando el equipo a presión o conjunto no está diseñado y fabricado para su instalación y utilización en una ubicación específica:

1.º Si el equipo a presión o conjunto está fabricado en España, la comunidad autónoma donde se lleve a cabo la fabricación del equipo a presión o conjunto. En aquellos casos en los que la fabricación se lleve a cabo en varias comunidades autónomas, la autoridad competente será aquella comunidad en la que radique la sede social del fabricante, si esta está radicada en España, o, en caso contrario, aquella de entre las comunidades autónomas donde se lleve a cabo la fabricación en la que se presente por primera vez la solicitud de excepción.

2.º Si el equipo a presión o conjunto no está fabricado en España, pero el fabricante o su representante autorizado está establecido en territorio español, la comunidad autónoma donde esté establecido dicho fabricante o representante autorizado. En caso de que el fabricante o representante autorizado esté establecido en más de una comunidad autónoma, la autoridad competente será aquella comunidad en la que radique la sede social del fabricante o representante autorizado, si esta está radicada en España, o, en caso contrario, aquella de entre las comunidades autónomas donde esté establecido el fabricante o representante autorizado en la que se presente por primera vez la solicitud de excepción.

3.º Si el fabricante del equipo a presión o conjunto no está establecido en territorio español, pero el importador del equipo a presión o conjunto o, en su defecto, el distribuidor sí lo está, la comunidad autónoma donde esté establecido dicho operador económico. En caso de que el mencionado operador económico esté establecido en más de una comunidad autónoma, la autoridad competente será aquella comunidad en la que radique la sede social del mismo, si esta está radicada en España, o, en caso contrario, aquella de entre las comunidades autónomas donde esté establecido el operador económico en la que se presente por primera vez la solicitud de excepción.

4.º Si ni el fabricante del equipo a presión o conjunto ni el operador económico que solicita la excepción están establecidos en territorio español, la Dirección General de Estrategia Industrial y de la Pequeña y Mediana Empresa del Ministerio de Industria y Turismo.

3. Toda autorización expedida de conformidad con el apartado 1 establecerá las condiciones y los requisitos con arreglo a los cuales un equipo a presión o conjunto puede introducirse en el mercado o utilizarse por el fabricante para sus propios fines. Dichas autorizaciones establecerán, como mínimo, lo siguiente:

a) Una descripción de los procedimientos mediante los cuales se ha demostrado con éxito el cumplimiento de los requisitos esenciales de seguridad aplicables establecidos en el anexo I del presente real decreto;

b) Todo requisito específico relativo a la trazabilidad del equipo a presión o conjunto de que se trate;

c) Una fecha final de validez de la autorización, que no podrá exceder del último día del período durante el cual se haya activado el modo de emergencia del mercado interior de conformidad con el artículo 18 del Reglamento (UE) 2024/2747 del Parlamento Europeo y del Consejo, de 9 de octubre de 2024;

d) Todo requisito específico relativo a la necesidad de garantizar la evaluación continua de la conformidad del equipo a presión o conjunto de que se trate;

e) Las medidas que deban tomarse al expirar o desactivarse el modo de emergencia del mercado interior con respecto al equipo a presión o conjunto de que se trate que se ha introducido en el mercado o utilizado para los propios fines del fabricante.

4. Los fabricantes de un equipo a presión o conjunto sujeto al procedimiento de autorización contemplado en el apartado 1 declararán, bajo su exclusiva responsabilidad, que el equipo a presión o conjunto en cuestión cumple todos los requisitos esenciales de seguridad aplicables establecidos en el anexo I del presente real decreto y serán responsables del cumplimiento de todos los procedimientos de evaluación de la conformidad indicados en la autorización.

5. La autoridad competente indicada en el apartado 2 podrá reconocer, de oficio, como válidas las autorizaciones concedidas en otros Estados miembros de conformidad con el apartado 1 del artículo 43 quater de la Directiva 2014/68/UE del Parlamento Europeo y del Consejo, de 15 de mayo de 2014, relativa a la armonización de las legislaciones de los Estados miembros sobre la comercialización de equipos a presión, siempre que los requisitos establecidos en las citadas autorizaciones garanticen la conformidad con los requisitos esenciales de seguridad aplicables establecidos en el anexo I del presente real decreto.

6. La autoridad competente remitirá inmediatamente a la Comisión y a los demás Estados miembros la información relativa a las autorizaciones concedidas de conformidad con el apartado 1, así como de todo acto por el que se reconozcan como válidas las autorizaciones concedidas por otro Estado miembro de acuerdo con el apartado anterior.

Igualmente, la autoridad competente remitirá la información indicada en el párrafo anterior a la Dirección General de Estrategia Industrial y de la Pequeña y Mediana Empresa del Ministerio de Industria y Turismo, que publicará dicha información en el portal de internet del Ministerio de Industria y Turismo.

7. Los equipos a presión o conjuntos para las que se haya concedido una autorización de conformidad con el apartado 1 del presente artículo no llevarán el marcado CE.

Asimismo, no será de aplicación el artículo 5 del presente real decreto a los equipos a presión o conjuntos autorizados en otro Estado miembro de conformidad con el apartado 1 del artículo 43 quater de la Directiva 2014/68/UE del Parlamento Europeo y del Consejo, de 15 de mayo de 2014, salvo por lo dispuesto en el siguiente apartado.

8. Sin perjuicio de lo indicado en el artículo 5 del presente real decreto, no se podrá prohibir, restringir u obstaculizar, a causa de los riesgos debidos a la presión, la introducción en el mercado o la utilización por el fabricante para sus propios fines de un equipo a presión o conjunto en territorio español de los siguientes equipos a presión o conjuntos que, cumpliendo todos los requisitos esenciales de seguridad aplicables establecidos en el anexo I de este real decreto, no cuenten con el marcado CE:

a) Aquellos para los que las autoridades competentes indicadas en el apartado 2.b) hayan concedido una autorización de acuerdo con lo indicado en el apartado 1 y que cuenten con la información indicada en el apartado 10;

b) Aquellos para los que las autoridades competentes indicadas en el apartado 2.b) hayan reconocido la validez de la autorización concedida en otro Estado miembro de conformidad con el apartado 5 y que cuenten con la información indicada en el apartado 10;

c) Los equipos a presión o conjuntos objeto del acto de ejecución al que se refiere el apartado 2 o el 3 del artículo 43 quater de la Directiva 2014/68/UE del Parlamento Europeo y del Consejo, de 15 de mayo de 2014, por el que se amplía la validez de las autorizaciones concedidas por los Estados miembros, y que cuenten con la información indicada en dicho acto, al menos, en castellano.

9. Sin perjuicio de lo indicado en el artículo 5 del presente real decreto, los equipos a presión o conjuntos que no cuenten con el marcado CE para los que la autoridad competente a la que se refiere el apartado 2.a) haya concedido una autorización de acuerdo con el apartado 1 o haya reconocido la validez de la autorización concedida en otro Estado miembro de conformidad con el apartado 5 y que no hayan sido objeto del acto de ejecución al que se refiere el apartado 2 o el 3 del artículo 43 quater de la Directiva 2014/68/UE del Parlamento Europeo y del Consejo, de 15 de mayo de 2014, solo podrán introducirse en el mercado o utilizarse para los propios fines del fabricante en la ubicación específica para la que se concede la autorización.

Las comunidades autónomas podrán reconocer como válidas, para ubicaciones específicas dentro de su territorio, las autorizaciones concedidas por otras comunidades autónomas de conformidad con los apartados 1 y 2.a).

10. Los equipos a presión o conjuntos introducidos en el mercado o utilizados para los propios fines del fabricante en el territorio español de conformidad con lo indicado en los párrafos a) y b) del apartado 8 llevarán la siguiente información, al menos, en castellano, así como el resto de información aplicable requerida en el presente real decreto:

a) Los equipos a presión o conjuntos que cuenten con una autorización expedida por la autoridad competente a la que hacen referencia los párrafos 1.º a 3.º del apartado 2.b) y que no hayan sido objeto del acto de ejecución al que se refiere el apartado 2 o el 3 del artículo 43 quater de la Directiva 2014/68/UE del Parlamento Europeo y del Consejo, de 15 de mayo de 2014, llevarán la información indicada en la resolución por la que se concede dicha autorización.

b) Los equipos a presión o conjuntos que cuenten con una autorización expedida por la Dirección General de Estrategia Industrial y de la Pequeña y Mediana Empresa del Ministerio de Industria y Turismo de acuerdo con lo indicado en el apartado 1 y que no hayan sido objeto del acto de ejecución al que se refiere el apartado 2 o el 3 del artículo 43 quater de la Directiva 2014/68/UE del Parlamento Europeo y del Consejo, de 15 de mayo de 2014, incluirán en el producto o embalaje la información relativa a que el equipo a presión o conjunto, según corresponda, ha sido autorizado por el Ministerio de Industria y Turismo, junto con la referencia a la resolución por la que se concede dicha autorización. La autorización podrá establecer requisitos para modificar el contenido y presentación de dicha información.

c) Los equipos a presión o conjuntos para los que la autoridad competente a la que hacen referencia los párrafo 1.º a 3.º del apartado 2.b) haya reconocido la validez de la autorización concedida en otro Estado miembro de conformidad con el apartado 5 y que no hayan sido objeto del acto de ejecución al que se refiere el apartado 2 o el 3 del artículo 43 quater de la Directiva 2014/68/UE del Parlamento Europeo y del Consejo, de 15 de mayo de 2014, llevarán la información indicada en la resolución por la que se reconoce la validez de dicha autorización.

d) Los equipos a presión o conjuntos para los que la Dirección General de Estrategia Industrial y de la Pequeña y Mediana Empresa del Ministerio de Industria y Turismo haya reconocido la validez de la autorización concedida en otro Estado miembro de conformidad con el apartado 5 y que no hayan sido objeto del acto de ejecución al que se refiere el apartado 2 o el 3 del artículo 43 quater de la Directiva 2014/68/UE del Parlamento Europeo y del Consejo, de 15 de mayo de 2014, incluirán en el producto o embalaje la información relativa a que el equipo a presión o conjunto, según corresponda, ha sido autorizado en otro Estado miembro y que dicha autorización ha sido reconocida por el Ministerio de Industria y Turismo, junto con la referencia a la resolución por la que se concede dicho reconocimiento. La resolución por la que se reconoce la autorización concedida en otro Estado miembro podrá establecer requisitos para modificar el contenido y presentación de dicha información.

11. Las comunidades autónomas podrán tomar a nivel nacional todas las medidas correctivas y restrictivas contempladas en el Reglamento (UE) 2019/1020 del Parlamento Europeo y del Consejo, de 20 de junio de 2019, relativo a la vigilancia del mercado y la conformidad de los productos y por el que se modifican la Directiva 2004/42/CE y los Reglamentos (CE) n.º 765/2008 y (UE) n.º 305/2011 y en el presente real decreto con respecto a los equipos a presión o conjuntos introducidas en el mercado o utilizados por el fabricante para sus propios fines de conformidad con este artículo.

Las comunidades autónomas informarán inmediatamente de dichas medidas a la Comisión y a las autoridades de vigilancia del mercado de todos los demás Estados miembros.

12. Las autorizaciones concedidas de acuerdo con el apartado 1 o el reconocimiento de las autorizaciones concedidas en otros Estados miembros de acuerdo con el apartado 5 no afectará a la aplicación de los procedimientos de evaluación de la conformidad pertinentes establecidos en el artículo 14.

Artículo 39. Presunción de conformidad basada en normas y especificaciones comunes de los equipos a presión o conjuntos que hayan sido designados como bienes pertinentes para crisis.

1. Sin perjuicio de lo dispuesto en el artículo 12, se presumirá que los equipos a presión o conjuntos que han sido designados como bienes pertinentes para crisis que son conformes con las normas o las especificaciones comunes a las que se refiere el artículo 43 quinquies de la Directiva 2014/68/UE del Parlamento Europeo y del Consejo, de 15 de mayo de 2014, o partes de ellas, cumplen los requisitos esenciales de seguridad aplicables establecidos en el anexo I de este real decreto que están cubiertos por dichas normas, especificaciones comunes o partes de ellas. A partir del día siguiente a la expiración o desactivación del modo de emergencia del mercado interior, los fabricantes no podrán invocar la presunción de conformidad que confieren dichas normas o especificaciones comunes.

2. Cuando el órgano competente de una comunidad autónoma considere que una norma o especificación común contemplada en el apartado 1 del artículo 43 quinquies de la Directiva 2014/68/UE del Parlamento Europeo y del Consejo, de 15 de mayo de 2014, no satisface plenamente los requisitos esenciales de seguridad aplicables establecidos en el anexo I de este real decreto, lo comunicará al órgano competente del Ministerio de Industria y Turismo enviando una explicación detallada.

El órgano competente del Ministerio de Industria y Turismo informará de ello a la Comisión.

Artículo 40. Priorización de las actividades de vigilancia del mercado y asistencia a otras autoridades de vigilancia del mercado.

1. Las comunidades autónomas darán prioridad a las actividades de vigilancia del mercado en relación con los equipos a presión o conjuntos enumerados en el acto de ejecución a que se refiere el apartado 1 del artículo 36.

2. Las comunidades autónomas harán todo lo posible por prestar asistencia a otras autoridades de vigilancia del mercado durante un modo de emergencia del mercado interior, incluyendo cuando se disponga de los medios y capacidades disponibles, el envío de equipos de expertos para reforzar temporalmente la plantilla de las autoridades de vigilancia del mercado que soliciten asistencia, o proporcionando apoyo logístico, como el refuerzo de la capacidad de ensayo de los equipos a presión o conjuntos enumerados en el acto de ejecución a que se refiere el apartado 1 del artículo 36.

3. En caso de que la autoridad de vigilancia del mercado de una comunidad autónoma requiera de la asistencia de otras autoridades de vigilancia del mercado, remitirá solicitud de asistencia a través de los grupos de trabajo correspondiente de la Conferencia Sectorial de Industria y PYME.

Las demandas de asistencia podrán incluir, entre otros, los aspectos indicados en el apartado 2.

4. Cuando la solicitud de asistencia a la que se refiere el apartado anterior no pueda ser atendida por ninguna autoridad de vigilancia del mercado de las comunidades autónomas por falta de recursos y/o capacidades, la comunidad autónoma solicitante podrá demandar asistencia de las autoridades de vigilancia del mercado de otros Estados miembros directamente o a través de la Oficina de Enlace Única de vigilancia del mercado en España, quien remitirá la solicitud de asistencia a las oficinas de enlace único de vigilancia del mercado del resto de Estados miembros.

Adicionalmente a lo indicado en el párrafo anterior, el Ministerio de Industria y Turismo, previa solicitud de la autoridad de vigilancia del mercado de la comunidad autónoma demandante de asistencia, remitirá dicha solicitud a las autoridades de vigilancia del mercado del resto de Estados miembros a través del grupo de cooperación administrativa correspondiente al que se refiere el artículo 32 del Reglamento (UE) 2019/1020 del Parlamento Europeo y del Consejo, de 20 de junio de 2019.

5. Sin perjuicio de lo indicado en el apartado siguiente, las solicitudes de asistencia procedentes de autoridades de vigilancia del mercado de otros Estados miembros que se reciban en el Ministerio de Industria y Turismo o en las autoridades de vigilancia del mercado de las comunidades autónomas serán remitidas al conjunto de las autoridades de vigilancia del mercado de las comunidades autónomas a través de los grupos de trabajo correspondientes de la Conferencia Sectorial de Industria y PYME, informando de ello a la Oficina de Enlace Única.

Las solicitudes de asistencia procedentes de autoridades de vigilancia del mercado de otros Estados miembros que se reciban en la Oficina de Enlace Única serán enviadas al Ministerio de Industria y Turismo para su remisión a las autoridades de vigilancia del mercado de las comunidades autónomas a través de los grupos de trabajo correspondientes de la Conferencia Sectorial de Industria y PYME.

En el plazo máximo de cinco días hábiles desde la remisión de la solicitud a los grupos de trabajo correspondientes de la Conferencia Sectorial de Industria y PYME, el Ministerio de Industria y Turismo informará a la Oficina de Enlace Única sobre el resultado de la solicitud, indicando, en su caso, las autoridades de vigilancia que pueden prestar asistencia. La Oficina de Enlace Única remitirá dicha información al Estado miembro solicitante.

6. Cuando la solicitud indicada en el apartado anterior requiera asistencia específica de una autoridad de vigilancia del mercado concreta, las solicitudes serán remitidas directamente a dicha comunidad autónoma informando de ello al Estado miembro solicitante.

7. Las solicitudes de asistencia entre las autoridades de vigilancia del mercado, así como el resto de comunicaciones a las que se refiere el presente artículo se realizarán por medios electrónicos.»

Artículo quinto. Modificación del Real Decreto 108/2016, de 18 de marzo, por el que se establecen los requisitos esenciales de seguridad para la comercialización de los recipientes a presión simples.

El Real Decreto 108/2016, de 18 de marzo, por el que se establecen los requisitos esenciales de seguridad para la comercialización de los recipientes a presión simples, se modifica como sigue:

Uno. En el artículo 2 se añaden dos nuevos apartados 19 y 20 con la siguiente redacción:

«19. Bienes pertinentes para crisis: bienes pertinentes para crisis tal como se definen en el artículo 3, número 6, del Reglamento (UE) 2024/2747 del Parlamento Europeo y del Consejo, de 9 de octubre de 2024, por el que se establece un marco de medidas relativas a una emergencia del mercado interior y a la resiliencia de dicho mercado y se modifica el Reglamento (CE) n.º 2679/98 del Consejo.

20. Modo de emergencia del mercado interior: modo de emergencia del mercado interior tal como se define en el artículo 3, número 3, del Reglamento (UE) 2024/2747 del Parlamento Europeo y del Consejo, de 9 de octubre de 2024.»

Dos. Se introduce un nuevo capítulo, el capítulo VII, a continuación del artículo 34, con el siguiente contenido:

«CAPÍTULO VII
Procedimientos de emergencia
Artículo 35. Aplicación de los procedimientos de emergencia.

1. Los artículos 36 a 39 serán de aplicación en el momento en que la Comisión Europea haya adoptado un acto de ejecución con arreglo al artículo 28 del Reglamento (UE) 2024/2747 del Parlamento Europeo y del Consejo, de 9 de octubre de 2024, con respecto a los recipientes regulados por la Directiva 2014/29/UE del Parlamento Europeo y del Consejo, de 26 de febrero de 2014.

2. Los efectos de dichos artículos se desplegarán únicamente mientras dure el modo de emergencia del mercado interior que se haya activado de conformidad con el artículo 18 del Reglamento (UE) 2024/2747 del Parlamento Europeo y del Consejo, de 9 de octubre de 2024, y se aplicarán únicamente a los recipientes incluidos en el ámbito de aplicación de este real decreto que hayan sido designados como bienes pertinentes para crisis con arreglo al apartado 4 del artículo 18 del mencionado Reglamento (UE) 2024/2747 del Parlamento Europeo y del Consejo, de 9 de octubre de 2024.

3. Sin perjuicio de lo indicado en el apartado anterior, lo previsto en el apartado 7 del artículo 37 seguirá siendo de aplicación tras la expiración o desactivación del modo de emergencia del mercado interior.

4. Salvo que la autoridad competente de vigilancia del mercado considere que existe un riesgo para la salud o la seguridad de las personas, los recipientes que hayan sido introducidos en el mercado en el territorio español de conformidad con el apartado 1 del artículo 38, se seguirán considerando conformes con los requisitos esenciales de seguridad aplicables establecidos en el anexo I del presente real decreto tras la expiración o derogación del acto de ejecución al que se refiere el apartado 1 del artículo 38 quinquies de la Directiva 2014/29/UE del Parlamento Europeo y del Consejo, de 26 de febrero de 2014, o tras la expiración o desactivación del modo de emergencia del mercado interior.

5. La aplicación de los artículos 37 y 38, así como la del apartado 4 del presente artículo deberá ajustarse a lo dispuesto en los actos de ejecución que la Comisión adopte en virtud del apartado 4 del artículo 38 bis de la Directiva 2014/29/UE del Parlamento Europeo y del Consejo, de 26 de febrero de 2014. Las autoridades competentes tomarán las disposiciones pertinentes para dar cumplimiento a las medidas de aplicación establecidas en dichos actos.

Artículo 36. Priorización de la evaluación de la conformidad de los recipientes designados como bienes pertinentes para crisis.

1. El presente artículo será de aplicación a los recipientes enumerados en el acto de ejecución al que se refiere el apartado 1 del artículo 35, que, de acuerdo con el artículo 13, estén sujetos a procedimientos de evaluación de la conformidad en los que se requiere la participación obligatoria de un organismo notificado.

2. Los organismos notificados harán todo lo posible por tramitar con carácter prioritario todas las solicitudes de evaluación de la conformidad de los recipientes a que se refiere el apartado 1, con independencia de que dichas solicitudes hayan sido presentadas antes o después de que el presente artículo sea de aplicación de acuerdo con lo indicado en el artículo 35.

3. La priorización de las solicitudes de evaluación de la conformidad de los recipientes con arreglo al apartado 2 no dará lugar a costes adicionales desproporcionados para los fabricantes que hayan presentado dichas solicitudes.

4. Los organismos notificados harán esfuerzos razonables por aumentar sus capacidades en materia de ensayo para los recipientes a que se refiere el apartado 1 en relación con las cuales hayan sido notificados.

Artículo 37. Excepción a los procedimientos de evaluación de la conformidad que requieren la participación obligatoria de un organismo notificado.

1. Sin perjuicio de lo indicado en el artículo 13, la autoridad competente podrá autorizar, previa solicitud debidamente justificada de un operador económico, la introducción en el mercado en el territorio español de un recipiente específico enumerado en el acto de ejecución a que se refiere el apartado 1 del artículo 35, y que no haya sido sometido a los procedimientos de evaluación de la conformidad a los que se refiere el artículo 13 que requieren la participación obligatoria de un organismo notificado, pero para el cual haya quedado demostrado el cumplimiento de todos los requisitos esenciales de seguridad aplicables establecidos en el anexo I de este real decreto de conformidad con los procedimientos contemplados en la autorización.

2. A los efectos del apartado anterior, tendrán la consideración de autoridad competente las siguientes:

a) Cuando el recipiente está diseñado y fabricado para su instalación y utilización en una ubicación específica, la comunidad autónoma correspondiente a dicha ubicación;

b) Cuando el recipiente no está diseñado y fabricado para su instalación y utilización en una ubicación específica:

1.º Si el recipiente está fabricado en España, la comunidad autónoma donde se lleve a cabo la fabricación del recipiente. En aquellos casos en los que la fabricación se lleve a cabo en varias comunidades autónomas, la autoridad competente será aquella comunidad en la que radique la sede social del fabricante, si esta está radicada en España, o, en caso contrario, aquella de entre las comunidades autónomas donde se lleve a cabo la fabricación en la que se presente por primera vez la solicitud de excepción.

2.º Si el recipiente no está fabricado en España, pero el fabricante o su representante autorizado está establecido en territorio español, la comunidad autónoma donde esté establecido dicho fabricante o representante autorizado. En caso de que el fabricante o representante autorizado esté establecido en más de una comunidad autónoma, la autoridad competente será aquella comunidad en la que radique la sede social del fabricante o representante autorizado, si esta está radicada en España, o, en caso contrario, aquella de entre las comunidades autónomas donde esté establecido el fabricante o representante autorizado en la que se presente por primera vez la solicitud de excepción.

3.º Si el fabricante del recipiente no está establecido en territorio español, pero el importador del recipiente o, en su defecto, el distribuidor sí lo está, la comunidad autónoma donde esté establecido dicho operador económico. En caso de que el mencionado operador económico esté establecido en más de una comunidad autónoma, la autoridad competente será aquella comunidad en la que radique la sede social del mismo, si esta está radicada en España, o, en caso contrario, aquella de entre las comunidades autónomas donde esté establecido el operador económico en la que se presente por primera vez la solicitud de excepción.

4.º Si ni el fabricante del recipiente ni el operador económico que solicita la excepción están establecidos en territorio español, la Dirección General de Estrategia Industrial y de la Pequeña y Mediana Empresa del Ministerio de Industria y Turismo.

3. Toda autorización expedida de conformidad con el apartado 1 establecerá las condiciones y los requisitos con arreglo a los cuales un recipiente pueda introducirse en el mercado. Dichas autorizaciones establecerán, como mínimo, lo siguiente:

a) Una descripción de los procedimientos mediante los cuales se ha demostrado con éxito el cumplimiento de los requisitos esenciales de seguridad aplicables establecidos en el anexo I del presente real decreto;

b) Todo requisito específico relativo a la trazabilidad del recipiente de que se trate;

c) Una fecha final de validez de la autorización, que no podrá exceder del último día del período durante el cual se haya activado el modo de emergencia del mercado interior de conformidad con el artículo 18 del Reglamento (UE) 2024/2747 del Parlamento Europeo y del Consejo, de 9 de octubre de 2024;

d) Todo requisito específico relativo a la necesidad de garantizar la evaluación continua de la conformidad del recipiente de que se trate;

e) Las medidas que deban tomarse al expirar o desactivarse el modo de emergencia del mercado interior con respecto al recipiente de que se trate que se ha introducido en el mercado.

4. Los fabricantes de los recipientes sujetos al procedimiento de autorización contemplado en el apartado 1 declararán, bajo su exclusiva responsabilidad, que los recipientes en cuestión cumplen todos los requisitos esenciales de seguridad aplicables establecidos en el anexo I del presente real decreto y serán responsables del cumplimiento de todos los procedimientos de evaluación de la conformidad indicados en la autorización.

5. La autoridad competente indicada en el apartado 2 podrá reconocer, de oficio, como válidas en el territorio español las autorizaciones concedidas en otros Estados miembros de conformidad con el apartado 1 del artículo 38 quater de la Directiva 2014/29/UE del Parlamento Europeo y del Consejo, de 26 de febrero de 2014, sobre la armonización de las legislaciones de los Estados miembros en materia de comercialización de los recipientes a presión simples, siempre que los requisitos establecidos en las citadas autorizaciones garanticen la conformidad con los requisitos esenciales de seguridad aplicables establecidos en el anexo I del presente real decreto.

6. La autoridad competente remitirá inmediatamente a la Comisión y a los demás Estados miembros la información relativa a las autorizaciones concedidas de conformidad con el apartado 1, así como de todo acto por el que se reconozcan como válidas las autorizaciones concedidas por otro Estado miembro de acuerdo con el apartado anterior.

Igualmente, la autoridad competente remitirá la información indicada en el párrafo anterior a la Dirección General de Estrategia Industrial y de la Pequeña y Mediana Empresa del Ministerio de Industria y Turismo, que publicará dicha información en el portal de internet del Ministerio de Industria y Turismo.

7. Los recipientes para los que se haya concedido una autorización de conformidad con el apartado 1 del presente artículo no llevarán el marcado CE.

No será de aplicación el artículo 5 del presente real decreto a los recipientes autorizados en otro Estado miembro de conformidad con el apartado 1 del artículo 38 quater de la Directiva 2014/29/UE del Parlamento Europeo y del Consejo, de 26 de febrero de 2014, salvo por lo dispuesto en el siguiente apartado.

8. Sin perjuicio de lo indicado en el artículo 5 del presente real decreto, no se podrá prohibir, restringir ni obstaculizar la introducción en el mercado y la puesta en servicio en territorio español de los siguientes recipientes que, cumpliendo todos los requisitos esenciales de seguridad aplicables establecidos en el anexo I de este real decreto, no cuenten con el marcado CE:

a) Aquellos para los que las autoridades competentes indicadas en el apartado 2.b) hayan concedido una autorización de acuerdo con lo indicado en el apartado 1 y que cuenten con la información indicada en el apartado 10;

b) Aquellos para los que las autoridades competentes indicadas en el apartado 2.b) hayan reconocido la validez de la autorización concedida en otro Estado miembro de conformidad con el apartado 5 y que cuenten con la información indicada en el apartado 10;

c) Los que hayan sido objeto del acto de ejecución al que se refiere el apartado 2 o el 3 del artículo 38 quater de la Directiva 2014/29/UE del Parlamento Europeo y del Consejo, de 26 de febrero de 2014, por el que se amplía la validez de las autorizaciones concedidas por los Estados miembros, y que cuenten con la información indicada en dicho acto, al menos, en castellano.

9. Sin perjuicio de lo indicado en el artículo 5 del presente real decreto, los recipientes que no cuenten con el marcado CE para los que la autoridad competente a la que se refiere el apartado 2.a) haya concedido una autorización de acuerdo con el apartado 1 o haya reconocido la validez de la autorización concedida en otro Estado miembro de conformidad con el apartado 5 y que no hayan sido objeto del acto de ejecución al que se refiere el apartado 2 o el 3 del artículo 38 quater de la Directiva 2014/29/UE del Parlamento Europeo y del Consejo, de 26 de febrero de 2014, solo podrán introducirse en el mercado o ponerse en servicio en la ubicación específica para la que se concede la autorización.

Las comunidades autónomas podrán reconocer como válidas, para ubicaciones específicas dentro de su territorio, las autorizaciones concedidas por otras comunidades autónomas de conformidad con los apartados 1 y 2.a).

10. Los recipientes introducidos en el mercado en el territorio español de conformidad con lo indicado en los párrafos a) y b) del apartado 8 llevarán la siguiente información, al menos, en castellano, así como el resto de información aplicable requerida en el presente real decreto:

a) Los recipientes que cuenten con una autorización expedida por la autoridad competente a la que hacen referencia los párrafos 1.º a 3.º del apartado 2.b) y que no hayan sido objeto del acto de ejecución al que se refiere el apartado 2 o el 3 del artículo 38 quater de la Directiva 2014/29/UE del Parlamento Europeo y del Consejo, de 26 de febrero de 2014, llevarán la información indicada en la resolución por la que se concede dicha autorización.

b) Los recipientes que cuenten con una autorización expedida por la Dirección General de Estrategia Industrial y de la Pequeña y Mediana Empresa del Ministerio de Industria y Turismo de acuerdo con lo indicado en el apartado 1 y que no hayan sido objeto del acto de ejecución al que se refiere el apartado 2 o el 3 del artículo 38 quater de la Directiva 2014/29/UE del Parlamento Europeo y del Consejo, de 26 de febrero de 2014, incluirán en el producto o embalaje la información relativa a que el recipiente ha sido autorizado por el Ministerio de Industria y Turismo, junto con la referencia a la resolución por la que se concede dicha autorización. La autorización podrá establecer requisitos para modificar el contenido y presentación de dicha información.

c) Los recipientes para los que la autoridad competente a la que hacen referencia los párrafo 1.º a 3.º del apartado 2.b) haya reconocido la validez de la autorización concedida en otro Estado miembro de conformidad con el apartado 5 y que no hayan sido objeto del acto de ejecución al que se refiere el apartado 2 o el 3 del artículo 38 quater de la Directiva 2014/29/UE del Parlamento Europeo y del Consejo, de 26 de febrero de 2014, llevarán la información indicada en la resolución por la que se reconoce la validez de dicha autorización.

d) Los recipientes para los que la Dirección General de Estrategia Industrial y de la Pequeña y Mediana Empresa del Ministerio de Industria y Turismo haya reconocido la validez de la autorización concedida en otro Estado miembro de conformidad con el apartado 5 y que no hayan sido objeto del acto de ejecución al que se refiere el apartado 2 o el 3 del artículo 38 quater de la Directiva 2014/29/UE del Parlamento Europeo y del Consejo, de 26 de febrero de 2014, incluirán en el producto o embalaje la información relativa a que el recipiente ha sido autorizado en otro Estado miembro y que dicha autorización ha sido reconocida por el Ministerio de Industria y Turismo, junto con la referencia a la resolución por la que se concede dicho reconocimiento. La resolución por la que se reconoce la autorización concedida en otro Estado miembro podrá establecer requisitos para modificar el contenido y presentación de dicha información.

11. Las comunidades autónomas podrán tomar a nivel nacional todas las medidas correctivas y restrictivas contempladas en el Reglamento (UE) 2019/1020 del Parlamento Europeo y del Consejo, de 20 de junio de 2019, relativo a la vigilancia del mercado y la conformidad de los productos y por el que se modifican la Directiva 2004/42/CE y los Reglamentos (CE) n.º 765/2008 y (UE) n.º 305/2011 y en el presente real decreto con respecto a los recipientes introducidos en el mercado de conformidad con este artículo.

Las comunidades autónomas informarán inmediatamente de dichas medidas a la Comisión y a las autoridades de vigilancia del mercado de todos los demás Estados miembros.

12. Las autorizaciones concedidas de acuerdo con el apartado 1 o el reconocimiento de las autorizaciones concedidas en otros Estados miembros de acuerdo con el apartado 5 no afectará a la aplicación de los procedimientos de evaluación de la conformidad pertinentes establecidos en el artículo 13.

Artículo 38. Presunción de conformidad basada en normas y especificaciones comunes de los recipientes que hayan sido designados como bienes pertinentes para crisis.

1. Sin perjuicio de lo dispuesto en el artículo 12, se presumirá que los recipientes que han sido designados como bienes pertinentes para crisis que son conformes con las normas o las especificaciones comunes a las que se refiere el artículo 38 quinquies de la Directiva 2014/29/UE del Parlamento Europeo y del Consejo, de 26 de febrero de 2014, o partes de ellas, cumplen los requisitos esenciales de seguridad aplicables establecidos en el anexo I de este real decreto que están cubiertos por dichas normas, especificaciones comunes o partes de ellas. A partir del día siguiente a la expiración o desactivación del modo de emergencia del mercado interior, los fabricantes no podrán invocar la presunción de conformidad que confieren dichas normas o especificaciones comunes.

2. Cuando el órgano competente de una comunidad autónoma considere que una norma o especificación común contemplada en el apartado 1 del artículo 38 quinquies de la Directiva 2014/29/UE del Parlamento Europeo y del Consejo, de 26 de febrero de 2014, no satisface plenamente los requisitos esenciales de seguridad aplicables establecidos en el anexo I de este real decreto, lo comunicará al órgano competente del Ministerio de Industria y Turismo enviando una explicación detallada.

El órgano competente del Ministerio de Industria y Turismo informará de ello a la Comisión.

Artículo 39. Priorización de las actividades de vigilancia del mercado y asistencia a otras autoridades de vigilancia del mercado.

1. Las comunidades autónomas darán prioridad a las actividades de vigilancia del mercado en relación con los recipientes enumerados en el acto de ejecución a que se refiere el apartado 1 del artículo 35.

2. Las comunidades autónomas harán todo lo posible por prestar asistencia a otras autoridades de vigilancia del mercado durante un modo de emergencia del mercado interior, incluyendo cuando se disponga de los medios y capacidades disponibles, el envío de equipos de expertos para reforzar temporalmente la plantilla de las autoridades de vigilancia del mercado que soliciten asistencia, o proporcionando apoyo logístico, como el refuerzo de la capacidad de ensayo de los recipientes enumerados en el acto de ejecución a que se refiere el apartado 1 del artículo 35.

3. En caso de que la autoridad de vigilancia del mercado de una comunidad autónoma requiera de la asistencia de otras autoridades de vigilancia del mercado, remitirá solicitud de asistencia a través de los grupos de trabajo correspondiente de la Conferencia Sectorial de Industria y PYME.

Las demandas de asistencia podrán incluir, entre otros, los aspectos indicados en el apartado 2.

4. Cuando la solicitud de asistencia a la que se refiere el apartado anterior no pueda ser atendida por ninguna autoridad de vigilancia del mercado de las comunidades autónomas por falta de recursos y/o capacidades, la comunidad autónoma solicitante podrá demandar asistencia de las autoridades de vigilancia del mercado de otros Estados miembros directamente o a través de la Oficina de Enlace Única de vigilancia del mercado en España, quien remitirá la solicitud de asistencia a las oficinas de enlace único de vigilancia del mercado del resto de Estados miembros.

Adicionalmente a lo indicado en el párrafo anterior, el Ministerio de Industria y Turismo, previa solicitud de la autoridad de vigilancia del mercado de la comunidad autónoma demandante de asistencia, remitirá dicha solicitud a las autoridades de vigilancia del mercado del resto de Estados miembros a través del grupo de cooperación administrativa correspondiente al que se refiere el artículo 32 del Reglamento (UE) 2019/1020 del Parlamento Europeo y del Consejo, de 20 de junio de 2019.

5. Sin perjuicio de lo indicado en el apartado siguiente, las solicitudes de asistencia procedentes de autoridades de vigilancia del mercado de otros Estados miembros que se reciban en el Ministerio de Industria y Turismo o en las autoridades de vigilancia del mercado de las comunidades autónomas serán remitidas al conjunto de las autoridades de vigilancia del mercado de las comunidades autónomas a través de los grupos de trabajo correspondientes de la Conferencia Sectorial de Industria y PYME, informando de ello a la Oficina de Enlace Única.

Las solicitudes de asistencia procedentes de autoridades de vigilancia del mercado de otros Estados miembros que se reciban en la Oficina de Enlace Única serán enviadas al Ministerio de Industria y Turismo para su remisión a las autoridades de vigilancia del mercado de las comunidades autónomas a través de los grupos de trabajo correspondientes de la Conferencia Sectorial de Industria y PYME.

En el plazo máximo de cinco días hábiles desde la remisión de la solicitud a los grupos de trabajo correspondientes de la Conferencia Sectorial de Industria y PYME, el Ministerio de Industria y Turismo informará a la Oficina de Enlace Única sobre el resultado de la solicitud, indicando, en su caso, las autoridades de vigilancia que pueden prestar asistencia. La Oficina de Enlace Única remitirá dicha información al Estado miembro solicitante.

6. Cuando la solicitud indicada en el apartado anterior requiera asistencia específica de una autoridad de vigilancia del mercado concreta, las solicitudes serán remitidas directamente a dicha comunidad autónoma informando de ello al Estado miembro solicitante.

7. Las solicitudes de asistencia entre las autoridades de vigilancia del mercado, así como el resto de comunicaciones a las que se refiere el presente artículo se realizarán por medios electrónicos.»

Artículo sexto. Modificación del Real Decreto 144/2016, de 8 de abril, por el que se establecen los requisitos esenciales de salud y seguridad exigibles a los aparatos y sistemas de protección para su uso en atmósferas potencialmente explosivas y por el que se modifica el Real Decreto 455/2012, de 5 de marzo, por el que se establecen las medidas destinadas a reducir la cantidad de vapores de gasolina emitidos a la atmósfera durante el repostaje de los vehículos de motor en las estaciones de servicio.

El Real Decreto 144/2016, de 8 de abril, por el que se establecen los requisitos esenciales de salud y seguridad exigibles a los aparatos y sistemas de protección para su uso en atmósferas potencialmente explosivas y por el que se modifica el Real Decreto 455/2012, de 5 de marzo, por el que se establecen las medidas destinadas a reducir la cantidad de vapores de gasolina emitidos a la atmósfera durante el repostaje de los vehículos de motor en las estaciones de servicio, se modifica como sigue:

Uno. En el artículo 2 se añaden dos nuevos apartados 27 y 28 con la siguiente redacción:

«27. Bienes pertinentes para crisis: bienes pertinentes para crisis tal como se definen en el artículo 3, número 6, del Reglamento (UE) 2024/2747 del Parlamento Europeo y del Consejo, de 9 de octubre de 2024, por el que se establece un marco de medidas relativas a una emergencia del mercado interior y a la resiliencia de dicho mercado y se modifica el Reglamento (CE) n.º 2679/98 del Consejo.

28. Modo de emergencia del mercado interior: modo de emergencia del mercado interior tal como se define en el artículo 3, número 3, del Reglamento (UE) 2024/2747 del Parlamento Europeo y del Consejo, de 9 de octubre de 2024.»

Dos. Se introduce un nuevo capítulo, el capítulo VII, a continuación del artículo 34, con el siguiente contenido:

«CAPÍTULO VII
Procedimientos de emergencia
Artículo 35. Aplicación de los procedimientos de emergencia.

1. Los artículos 36 a 39 serán de aplicación en el momento en que la Comisión Europea haya adoptado un acto de ejecución con arreglo al artículo 28 del Reglamento (UE) 2024/2747 del Parlamento Europeo y del Consejo, de 9 de octubre de 2024, con respecto a los productos regulados por la Directiva 2014/34/UE del Parlamento Europeo y del Consejo, de 26 de febrero de 2014.

2. Los efectos de dichos artículos se desplegarán únicamente mientras dure el modo de emergencia del mercado interior que se haya activado de conformidad con el artículo 18 del Reglamento (UE) 2024/2747 del Parlamento Europeo y del Consejo, de 9 de octubre de 2024, y se aplicarán únicamente a los productos incluidos en el ámbito de aplicación de este real decreto que hayan sido designados como bienes pertinentes para crisis con arreglo al apartado 4 del artículo 18 del mencionado Reglamento (UE) 2024/2747 del Parlamento Europeo y del Consejo, de 9 de octubre de 2024.

3. Sin perjuicio de lo indicado en el apartado anterior, lo previsto en el apartado 7 del artículo 37 seguirá siendo de aplicación tras la expiración o desactivación del modo de emergencia del mercado interior.

4. Salvo que la autoridad competente de vigilancia del mercado considere que existe un riesgo para la salud o la seguridad de las personas, los productos que hayan sido introducidos en el mercado o utilizados por los fabricantes para sus propios fines en el territorio español de conformidad con el apartado 1 del artículo 38, se seguirán considerando conformes con los requisitos esenciales de salud y seguridad establecidos en el anexo II del presente real decreto tras la expiración o derogación del acto de ejecución al que se refiere el apartado 1 del artículo 38 quinquies de la Directiva 2014/34/UE del Parlamento Europeo y del Consejo, de 26 de febrero de 2014, o tras la expiración o desactivación del modo de emergencia del mercado interior.

5. La aplicación de los artículos 37 y 38, así como la del apartado 4 del presente artículo deberá ajustarse a lo dispuesto en los actos de ejecución que la Comisión adopte en virtud del apartado 4 del artículo 38 bis de la Directiva 2014/34/UE del Parlamento Europeo y del Consejo, de 26 de febrero de 2014. Las autoridades competentes tomarán las disposiciones pertinentes para dar cumplimiento a las medidas de aplicación establecidas en dichos actos.

Artículo 36. Priorización de la evaluación de la conformidad de los productos designados como bienes pertinentes para crisis.

1. El presente artículo será de aplicación a los productos enumerados en el acto de ejecución al que se refiere el apartado 1 del artículo 35, que, de acuerdo con el artículo 13, están sujetos a procedimientos de evaluación de la conformidad en los que se requiere la participación obligatoria de un organismo notificado.

2. Los organismos notificados harán todo lo posible por tramitar con carácter prioritario todas las solicitudes de evaluación de la conformidad de los productos a que se refiere el apartado 1, con independencia de que dichas solicitudes hayan sido presentadas antes o después de que el presente artículo sea de aplicación de acuerdo con lo indicado en el artículo 35.

3. La priorización de las solicitudes de evaluación de la conformidad de los productos con arreglo al apartado 2 no dará lugar a costes adicionales desproporcionados para los fabricantes que hayan presentado dichas solicitudes.

4. Los organismos notificados harán esfuerzos razonables por aumentar sus capacidades en materia de ensayo para los productos a que se refiere el apartado 1 en relación con las cuales hayan sido notificados.

Artículo 37. Excepción a los procedimientos de evaluación de la conformidad que requieren la participación obligatoria de un organismo notificado.

1. Sin perjuicio de lo indicado en el artículo 13, la autoridad competente podrá autorizar, previa solicitud debidamente justificada de un operador económico, la introducción en el mercado o la utilización por el fabricante para sus propios fines de un producto específico enumerado en el acto de ejecución a que se refiere el apartado 1 del artículo 35, y que no haya sido sometido a los procedimientos de evaluación de la conformidad a los que se refiere el artículo 13 que requieren la participación obligatoria de un organismo notificado, pero para el cual haya quedado demostrado el cumplimiento de todos los requisitos esenciales de salud y seguridad aplicables establecidos en el anexo II de este real decreto de conformidad con los procedimientos contemplados en dicha autorización.

2. A los efectos del apartado anterior, tendrán la consideración de autoridad competente las siguientes:

a) Cuando el producto está diseñado y fabricado para su instalación y utilización en una ubicación específica, la comunidad autónoma correspondiente a dicha ubicación;

b) Cuando el producto no está diseñado y fabricado para su instalación y utilización en una ubicación específica:

1.º Si el producto está fabricado en España, la comunidad autónoma donde se lleve a cabo la fabricación del producto. En aquellos casos en los que la fabricación se lleve a cabo en varias comunidades autónomas, la autoridad competente será aquella comunidad en la que radique la sede social del fabricante, si esta está radicada en España, o, en caso contrario, aquella de entre las comunidades autónomas donde se lleve a cabo la fabricación en la que se presente por primera vez la solicitud de excepción.

2.º Si el producto no está fabricado en España, pero el fabricante o su representante autorizado está establecido en territorio español, la comunidad autónoma donde esté establecido dicho fabricante o representante autorizado. En caso de que el fabricante o representante autorizado esté establecido en más de una comunidad autónoma, la autoridad competente será aquella comunidad en la que radique la sede social del fabricante o representante autorizado, si esta está radicada en España, o, en caso contrario, aquella de entre las comunidades autónomas donde esté establecido el fabricante o representante autorizado en la que se presente por primera vez la solicitud de excepción.

3.º Si el fabricante del producto no está establecido en territorio español, pero el importador del producto o, en su defecto, el distribuidor sí lo está, la comunidad autónoma donde esté establecido dicho operador económico. En caso de que el mencionado operador económico esté establecido en más de una comunidad autónoma, la autoridad competente será aquella comunidad en la que radique la sede social del mismo, si esta está radicada en España, o, en caso contrario, aquella de entre las comunidades autónomas donde esté establecido el operador económico en la que se presente por primera vez la solicitud de excepción.

4.º Si ni el fabricante del producto ni el operador económico que solicita la excepción están establecidos en territorio español, la Dirección General de Estrategia Industrial y de la Pequeña y Mediana Empresa del Ministerio de Industria y Turismo.

3. Toda autorización expedida de conformidad con el apartado 1 establecerá las condiciones y los requisitos con arreglo a los cuales un producto puede introducirse en el mercado o utilizarse por el fabricante para sus propios fines. Dichas autorizaciones establecerán, como mínimo, lo siguiente:

a) Una descripción de los procedimientos mediante los cuales se ha demostrado con éxito el cumplimiento de los requisitos esenciales de salud y seguridad aplicables establecidos en el anexo II del presente real decreto;

b) Todo requisito específico relativo a la trazabilidad del producto de que se trate;

c) Una fecha final de validez de la autorización, que no podrá exceder del último día del período durante el cual se haya activado el modo de emergencia del mercado interior de conformidad con el artículo 18 del Reglamento (UE) 2024/2747 del Parlamento Europeo y del Consejo, de 9 de octubre de 2024;

d) Todo requisito específico relativo a la necesidad de garantizar la evaluación continua de la conformidad del producto de que se trate;

e) Las medidas que deban tomarse al expirar o desactivarse el modo de emergencia del mercado interior con respecto al producto de que se trate que se ha introducido en el mercado.

4. Los fabricantes de un producto sujeto al procedimiento de autorización contemplado en el apartado 1 declararán, bajo su exclusiva responsabilidad, que el producto en cuestión cumple todos los requisitos esenciales de salud y seguridad aplicables establecidos en el anexo II del presente real decreto y serán responsables del cumplimiento de todos los procedimientos de evaluación de la conformidad indicados en la autorización.

5. La autoridad competente indicada en el apartado 2 podrá reconocer, de oficio, como válidas las autorizaciones concedidas en otros Estados miembros de conformidad con el apartado 1 del artículo 38 quater de la Directiva 2014/34/UE del Parlamento Europeo y del Consejo, de 26 de febrero de 2014, sobre la armonización de las legislaciones de los Estados miembros en materia de aparatos y sistemas de protección para uso en atmósferas potencialmente explosivas, siempre que los requisitos establecidos en las citadas autorizaciones garanticen la conformidad con los requisitos esenciales de salud y seguridad aplicables establecidos en el anexo II del presente real decreto.

6. La autoridad competente remitirá inmediatamente a la Comisión y a los demás Estados miembros la información relativa a las autorizaciones concedidas de conformidad con el apartado 1, así como de todo acto por el que se reconozcan como válidas las autorizaciones concedidas por otro Estado miembro de acuerdo con el apartado anterior.

Igualmente, la autoridad competente remitirá la información indicada en el párrafo anterior a la Dirección General de Estrategia Industrial y de la Pequeña y Mediana Empresa del Ministerio de Industria y Turismo, que publicará dicha información en el portal de internet del Ministerio de Industria y Turismo.

7. Los productos para los que se haya concedido una autorización de conformidad con el apartado 1 del presente artículo no llevarán el marcado CE.

Asimismo, no será de aplicación el artículo 5 del presente real decreto a los productos autorizados en otro Estado miembro de conformidad con el apartado 1 del artículo 38 quater de la Directiva 2014/34/UE del Parlamento Europeo y del Consejo, de 26 de febrero de 2014, salvo por lo dispuesto en el siguiente apartado.

8. Sin perjuicio de lo indicado en el artículo 5 del presente real decreto, no se podrá prohibir, restringir u obstaculizar la introducción en el mercado o la utilización por el fabricante para sus propios fines de un producto en territorio español de los siguientes productos que, cumpliendo todos los requisitos esenciales de salud y seguridad aplicables establecidos en el anexo II de este real decreto, no cuenten con el marcado CE:

a) Aquellos para los que las autoridades competentes indicadas en el apartado 2.b) hayan concedido una autorización de acuerdo con lo indicado en el apartado 1 y que cuenten con la información indicada en el apartado 10;

b) Aquellos para los que las autoridades competentes indicadas en el apartado 2.b) hayan reconocido la validez de la autorización concedida en otro Estado miembro de conformidad con el apartado 5 y que cuenten con la información indicada en el apartado 10;

c) Los productos objeto del acto de ejecución al que se refiere el apartado 2 o el 3 del artículo 38 quater de la Directiva 2014/34/UE del Parlamento Europeo y del Consejo, de 26 de febrero de 2014, por el que se amplía la validez de las autorizaciones concedidas por los Estados miembros, y que cuenten con la información indicada en dicho acto, al menos, en castellano.

9. Sin perjuicio de lo indicado en el artículo 5 del presente real decreto, los productos que no cuenten con el marcado CE para los que la autoridad competente a la que se refiere el apartado 2.a) haya concedido una autorización de acuerdo con el apartado 1 o haya reconocido la validez de la autorización concedida en otro Estado miembro de conformidad con el apartado 5 y que no hayan sido objeto del acto de ejecución al que se refiere el apartado 2 o el 3 del artículo 38 quater de la Directiva 2014/34/UE del Parlamento Europeo y del Consejo, de 26 de febrero de 2014, solo podrán introducirse en el mercado o utilizarse para los propios fines del fabricante en la ubicación específica para la que se concede la autorización.

Las comunidades autónomas podrán reconocer como válidas, para ubicaciones específicas dentro de su territorio, las autorizaciones concedidas por otras comunidades autónomas de conformidad con los apartados 1 y 2.a).

10. Los productos introducidos en el mercado o utilizados para los propios fines del fabricante en el territorio español de conformidad con lo indicado en los párrafos a) y b) del apartado 8 irán acompañados de la declaración responsable indicada en el apartado 4, que se incluirá al menos en castellano, y de una copia de la autorización expedida por la autoridad competente de acuerdo con el apartado 1 o, en su caso, de la resolución por la que se reconoce la validez de la autorización concedida en otro Estado miembro de conformidad con el apartado 5, y llevarán la siguiente información, al menos, en castellano, así como el resto de información aplicable requerida en el presente real decreto:

a) Los productos que cuenten con una autorización expedida por la autoridad competente a la que hacen referencia los párrafos 1.º a 3.º del apartado 2.b) y que no hayan sido objeto del acto de ejecución al que se refiere el apartado 2 o el 3 del artículo 38 quater de la Directiva 2014/34/UE del Parlamento Europeo y del Consejo, de 26 de febrero de 2014, llevarán la información indicada en la resolución por la que se concede dicha autorización.

b) Los productos que cuenten con una autorización expedida por la Dirección General de Estrategia Industrial y de la Pequeña y Mediana Empresa del Ministerio de Industria y Turismo de acuerdo con lo indicado en el apartado 1 y que no hayan sido objeto del acto de ejecución al que se refiere el apartado 2 o el 3 del artículo 38 quater de la Directiva 2014/34/UE del Parlamento Europeo y del Consejo, de 26 de febrero de 2014, incluirán en el producto o embalaje la información relativa a que el producto ha sido autorizado por el Ministerio de Industria y Turismo, junto con la referencia a la resolución por la que se concede dicha autorización. La autorización podrá establecer requisitos para modificar el contenido y presentación de dicha información.

c) Los productos para los que la autoridad competente a la que hacen referencia los párrafo 1.º a 3.º del apartado 2.b) haya reconocido la validez de la autorización concedida en otro Estado miembro de conformidad con el apartado 5 y que no hayan sido objeto del acto de ejecución al que se refiere el apartado 2 o el 3 del artículo 38 quater de la Directiva 2014/34/UE del Parlamento Europeo y del Consejo, de 26 de febrero de 2014, llevarán la información indicada en la resolución por la que se reconoce la validez de dicha autorización.

d) Los productos para los que la Dirección General de Estrategia Industrial y de la Pequeña y Mediana Empresa del Ministerio de Industria y Turismo haya reconocido la validez de la autorización concedida en otro Estado miembro de conformidad con el apartado 5 y que no hayan sido objeto del acto de ejecución al que se refiere el apartado 2 o el 3 del artículo 38 quater de la Directiva 2014/34/UE del Parlamento Europeo y del Consejo, de 26 de febrero de 2014, incluirán en el producto o embalaje la información relativa a que el producto ha sido autorizado en otro Estado miembro y que dicha autorización ha sido reconocida por el Ministerio de Industria y Turismo, junto con la referencia a la resolución por la que se concede dicho reconocimiento. La resolución por la que se reconoce la autorización concedida en otro Estado miembro podrá establecer requisitos para modificar el contenido y presentación de dicha información.

11. Las comunidades autónomas podrán tomar a nivel nacional todas las medidas correctivas y restrictivas contempladas en el Reglamento (UE) 2019/1020 del Parlamento Europeo y del Consejo, de 20 de junio de 2019, relativo a la vigilancia del mercado y la conformidad de los productos y por el que se modifican la Directiva 2004/42/CE y los Reglamentos (CE) n.º 765/2008 y (UE) n.º 305/2011 y en el presente real decreto con respecto a los productos introducidos en el mercado o utilizados por el fabricante para sus propios fines de conformidad con este artículo.

Las comunidades autónomas informarán inmediatamente de dichas medidas a la Comisión y a las autoridades de vigilancia del mercado de todos los demás Estados miembros.

12. Las autorizaciones concedidas de acuerdo con el apartado 1 o el reconocimiento de las autorizaciones concedidas en otros Estados miembros de acuerdo con el apartado 5 no afectará a la aplicación de los procedimientos de evaluación de la conformidad pertinentes establecidos en el artículo 14.

Artículo 38. Presunción de conformidad basada en normas y especificaciones comunes de los productos que hayan sido designados como bienes pertinentes para crisis.

1. Sin perjuicio de lo dispuesto en el artículo 12, se presumirá que los productos que han sido designados como bienes pertinentes para crisis que son conformes con las normas o las especificaciones comunes a las que se refiere el artículo 38 quinquies de la Directiva 2014/34/UE del Parlamento Europeo y del Consejo, de 26 de febrero de 2014, o partes de ellas, cumplen los requisitos esenciales de salud y seguridad establecidos en el anexo II de este real decreto que están cubiertos por dichas normas, especificaciones comunes o partes de ellas. A partir del día siguiente a la expiración o desactivación del modo de emergencia del mercado interior, los fabricantes no podrán invocar la presunción de conformidad que confieren dichas normas o especificaciones comunes.

2. Cuando el órgano competente de una comunidad autónoma considere que una norma o especificación común contemplada en el apartado 1 del artículo 38 quinquies de la Directiva 2014/34/UE del Parlamento Europeo y del Consejo, de 26 de febrero de 2014, no satisface plenamente los requisitos esenciales de salud y seguridad establecidos en el anexo II de este real decreto, lo comunicará al órgano competente del Ministerio de Industria y Turismo enviando una explicación detallada.

El órgano competente del Ministerio de Industria y Turismo informará de ello a la Comisión.

Artículo 39. Priorización de las actividades de vigilancia del mercado y asistencia a otras autoridades de vigilancia del mercado.

1. Las comunidades autónomas darán prioridad a las actividades de vigilancia del mercado en relación con los productos enumerados en el acto de ejecución a que se refiere el apartado 1 del artículo 35.

2. Las comunidades autónomas harán todo lo posible por prestar asistencia a otras autoridades de vigilancia del mercado durante un modo de emergencia del mercado interior, incluyendo cuando se disponga de los medios y capacidades disponibles, el envío de equipos de expertos para reforzar temporalmente la plantilla de las autoridades de vigilancia del mercado que soliciten asistencia, o proporcionando apoyo logístico, como el refuerzo de la capacidad de ensayo de los productos enumerados en el acto de ejecución a que se refiere el apartado 1 del artículo 35.

3. En caso de que la autoridad de vigilancia del mercado de una comunidad autónoma requiera de la asistencia de otras autoridades de vigilancia del mercado, remitirá solicitud de asistencia a través de los grupos de trabajo correspondiente de la Conferencia Sectorial de Industria y PYME.

Las demandas de asistencia podrán incluir, entre otros, los aspectos indicados en el apartado 2.

4. Cuando la solicitud de asistencia a la que se refiere el apartado anterior no pueda ser atendida por ninguna autoridad de vigilancia del mercado de las comunidades autónomas por falta de recursos y/o capacidades, la comunidad autónoma solicitante podrá demandar asistencia de las autoridades de vigilancia del mercado de otros Estados miembros directamente o a través de la Oficina de Enlace Única de vigilancia del mercado en España, quien remitirá la solicitud de asistencia a las oficinas de enlace único de vigilancia del mercado del resto de Estados miembros.

Adicionalmente a lo indicado en el párrafo anterior, el Ministerio de Industria y Turismo, previa solicitud de la autoridad de vigilancia del mercado de la comunidad autónoma demandante de asistencia, remitirá dicha solicitud a las autoridades de vigilancia del mercado del resto de Estados miembros a través del grupo de cooperación administrativa correspondiente al que se refiere el artículo 32 del Reglamento (UE) 2019/1020 del Parlamento Europeo y del Consejo, de 20 de junio de 2019.

5. Sin perjuicio de lo indicado en el apartado siguiente, las solicitudes de asistencia procedentes de autoridades de vigilancia del mercado de otros Estados miembros que se reciban en el Ministerio de Industria y Turismo o en las autoridades de vigilancia del mercado de las comunidades autónomas serán remitidas al conjunto de las autoridades de vigilancia del mercado de las comunidades autónomas a través de los grupos de trabajo correspondientes de la Conferencia Sectorial de Industria y PYME, informando de ello a la Oficina de Enlace Única.

Las solicitudes de asistencia procedentes de autoridades de vigilancia del mercado de otros Estados miembros que se reciban en la Oficina de Enlace Única serán enviadas al Ministerio de Industria y Turismo para su remisión a las autoridades de vigilancia del mercado de las comunidades autónomas a través de los grupos de trabajo correspondientes de la Conferencia Sectorial de Industria y PYME.

En el plazo máximo de cinco días hábiles desde la remisión de la solicitud a los grupos de trabajo correspondientes de la Conferencia Sectorial de Industria y PYME, el Ministerio de Industria y Turismo informará a la Oficina de Enlace Única sobre el resultado de la solicitud, indicando, en su caso, las autoridades de vigilancia que pueden prestar asistencia. La Oficina de Enlace Única remitirá dicha información al Estado miembro solicitante.

6. Cuando la solicitud indicada en el apartado anterior requiera asistencia específica de una autoridad de vigilancia del mercado concreta, las solicitudes serán remitidas directamente a dicha comunidad autónoma informando de ello al Estado miembro solicitante.

7. Las solicitudes de asistencia entre las autoridades de vigilancia del mercado, así como el resto de comunicaciones a las que se refiere el presente artículo se realizarán por medios electrónicos.»

Artículo séptimo. Modificación del Real Decreto 186/2016, de 6 de mayo, por el que se regula la compatibilidad electromagnética de los equipos eléctricos y electrónicos.

El Real Decreto 186/2016, de 6 de mayo, por el que se regula la compatibilidad electromagnética de los equipos eléctricos y electrónicos, se modifica como sigue:

Uno. En el apartado 1 del artículo 3 se añaden dos párrafos apartados aa) y ab) con la siguiente redacción:

«aa) “Bienes pertinentes para crisis”: bienes pertinentes para crisis tal como se definen en el artículo 3, número 6, del Reglamento (UE) 2024/2747 del Parlamento Europeo y del Consejo, de 9 de octubre de 2024, por el que se establece un marco de medidas relativas a una emergencia del mercado interior y a la resiliencia de dicho mercado y se modifica el Reglamento (CE) n.º 2679/98 del Consejo.

ab) “Modo de emergencia del mercado interior”: modo de emergencia del mercado interior tal como se define en el artículo 3, número 3, del Reglamento (UE) 2024/2747 del Parlamento Europeo y del Consejo, de 9 de octubre de 2024.»

Dos. Se introduce un nuevo capítulo, el capítulo VII, a continuación del artículo 34, con el siguiente contenido:

«CAPÍTULO VII
Procedimientos de emergencia
Artículo 35. Aplicación de los procedimientos de emergencia.

1. Los artículos 36 y 37 serán de aplicación en el momento en que la Comisión Europea haya adoptado un acto de ejecución con arreglo al artículo 28 del Reglamento (UE) 2024/2747 del Parlamento Europeo y del Consejo, de 9 de octubre de 2024, con respecto a los aparatos regulados por la Directiva 2014/30/UE del Parlamento Europeo y del Consejo, de 26 de febrero de 2014.

2. Los efectos de dichos artículos se desplegarán únicamente mientras dure el modo de emergencia del mercado interior que se haya activado de conformidad con el artículo 18 del Reglamento (UE) 2024/2747 del Parlamento Europeo y del Consejo, de 9 de octubre de 2024, y se aplicarán únicamente a los aparatos incluidos en el ámbito de aplicación de este real decreto que hayan sido designados como bienes pertinentes para crisis con arreglo al apartado 4 del artículo 18 del mencionado Reglamento (UE) 2024/2747 del Parlamento Europeo y del Consejo, de 9 de octubre de 2024.

3. Salvo que la autoridad competente de vigilancia del mercado considere que existe un riesgo para la salud o la seguridad de las personas, los aparatos que hayan sido introducidos en el mercado en el territorio español de conformidad con el apartado 1 del artículo 36, se seguirán considerando conformes con los requisitos esenciales establecidos en el anexo I del presente real decreto tras la expiración o derogación del acto de ejecución al que se refiere el apartado 1 del artículo 40 ter de la Directiva 2014/30/UE del Parlamento Europeo y del Consejo, de 26 de febrero de 2014, o tras la expiración o desactivación del modo de emergencia del mercado interior.

4. La aplicación del artículo 36 y del apartado 3 del presente artículo deberá ajustarse a lo dispuesto en los actos de ejecución que la Comisión adopte en virtud del apartado 4 del artículo 40 bis de la Directiva 2014/30/UE del Parlamento Europeo y del Consejo, de 26 de febrero de 2014. Las autoridades competentes tomarán las disposiciones pertinentes para dar cumplimiento a las medidas de aplicación establecidas en dichos actos.

Artículo 36. Presunción de conformidad basada en normas y especificaciones comunes de los aparatos que hayan sido designados como bienes pertinentes para crisis.

1. Sin perjuicio de lo dispuesto en el artículo 13, se presumirá que los aparatos que han sido designados como bienes pertinentes para crisis que son conformes con las normas o las especificaciones comunes a las que se refiere el artículo 40 ter de la Directiva 2014/30/UE del Parlamento Europeo y del Consejo, de 26 de febrero de 2014, sobre la armonización de las legislaciones de los Estados miembros en materia de compatibilidad electromagnética, o partes de ellas, cumplen los requisitos esenciales establecidos en el anexo I de este real decreto que están cubiertos por dichas normas, especificaciones comunes o partes de ellas. A partir del día siguiente a la expiración o desactivación del modo de emergencia del mercado interior, los fabricantes no podrán invocar la presunción de conformidad que confieren dichas normas o especificaciones comunes.

2. Cuando el órgano competente de una comunidad autónoma considere que una norma o especificación común contemplada en el apartado 1 del artículo 40 ter de la Directiva 2014/30/UE del Parlamento Europeo y del Consejo, de 26 de febrero de 2014, no satisface plenamente los requisitos esenciales establecidos en el anexo I de este real decreto, lo comunicará al órgano competente del Ministerio de Industria y Turismo enviando una explicación detallada.

El órgano competente del Ministerio de Industria y Turismo informará de ello a la Comisión.

Artículo 37. Priorización de las actividades de vigilancia del mercado y asistencia a otras autoridades de vigilancia del mercado.

1. Las comunidades autónomas darán prioridad a las actividades de vigilancia del mercado en relación con los aparatos enumerados en el acto de ejecución a que se refiere el apartado 1 del artículo 35.

2. Las comunidades autónomas harán todo lo posible por prestar asistencia a otras autoridades de vigilancia del mercado durante un modo de emergencia del mercado interior, incluyendo cuando se disponga de los medios y capacidades disponibles, el envío de equipos de expertos para reforzar temporalmente la plantilla de las autoridades de vigilancia del mercado que soliciten asistencia, o proporcionando apoyo logístico, como el refuerzo de la capacidad de ensayo de los aparatos enumerados en el acto de ejecución a que se refiere el apartado 1 del artículo 35.

3. En caso de que la autoridad de vigilancia del mercado de una comunidad autónoma requiera de la asistencia de otras autoridades de vigilancia del mercado, remitirá solicitud de asistencia a través de los grupos de trabajo correspondiente de la Conferencia Sectorial de Industria y PYME.

Las demandas de asistencia podrán incluir, entre otros, los aspectos indicados en el apartado 2.

4. Cuando la solicitud de asistencia a la que se refiere el apartado anterior no pueda ser atendida por ninguna autoridad de vigilancia del mercado de las comunidades autónomas por falta de recursos y/o capacidades, la comunidad autónoma solicitante podrá demandar asistencia de las autoridades de vigilancia del mercado de otros Estados miembros directamente o a través de la Oficina de Enlace Única de vigilancia del mercado en España, quien remitirá la solicitud de asistencia a las oficinas de enlace único de vigilancia del mercado del resto de Estados miembros.

Adicionalmente a lo indicado en el párrafo anterior, el Ministerio de Industria y Turismo, previa solicitud de la autoridad de vigilancia del mercado de la comunidad autónoma demandante de asistencia, remitirá dicha solicitud a las autoridades de vigilancia del mercado del resto de Estados miembros a través del grupo de cooperación administrativa correspondiente al que se refiere el artículo 32 del Reglamento (UE) 2019/1020 del Parlamento Europeo y del Consejo, de 20 de junio de 2019.

5. Sin perjuicio de lo indicado en el apartado siguiente, las solicitudes de asistencia procedentes de autoridades de vigilancia del mercado de otros Estados miembros que se reciban en el Ministerio de Industria y Turismo o en las autoridades de vigilancia del mercado de las comunidades autónomas serán remitidas al conjunto de las autoridades de vigilancia del mercado de las comunidades autónomas a través de los grupos de trabajo correspondientes de la Conferencia Sectorial de Industria y PYME, informando de ello a la Oficina de Enlace Única.

Las solicitudes de asistencia procedentes de autoridades de vigilancia del mercado de otros Estados miembros que se reciban en la Oficina de Enlace Única serán enviadas al Ministerio de Industria y Turismo para su remisión a las autoridades de vigilancia del mercado de las comunidades autónomas a través de los grupos de trabajo correspondientes de la Conferencia Sectorial de Industria y PYME.

En el plazo máximo de cinco días hábiles desde la remisión de la solicitud a los grupos de trabajo correspondientes de la Conferencia Sectorial de Industria y PYME, el Ministerio de Industria y Turismo informará a la Oficina de Enlace Única sobre el resultado de la solicitud, indicando, en su caso, las autoridades de vigilancia que pueden prestar asistencia. La Oficina de Enlace Única remitirá dicha información al Estado miembro solicitante.

6. Cuando la solicitud indicada en el apartado anterior requiera asistencia específica de una autoridad de vigilancia del mercado concreta, las solicitudes serán remitidas directamente a dicha comunidad autónoma informando de ello al Estado miembro solicitante.

7. Las solicitudes de asistencia entre las autoridades de vigilancia del mercado, así como el resto de comunicaciones a las que se refiere el presente artículo se realizarán por medios electrónicos.»

Artículo octavo. Modificación del Real Decreto 187/2016, de 6 de mayo, por el que se regulan las exigencias de seguridad del material eléctrico destinado a ser utilizado en determinados límites de tensión.

El Real Decreto 187/2016, de 6 de mayo, por el que se regulan las exigencias de seguridad del material eléctrico destinado a ser utilizado en determinados límites de tensión, se modifica como sigue:

Uno. En el artículo 2 se añaden dos nuevos apartados 16) y 17) con la siguiente redacción:

«16) “Bienes pertinentes para crisis”: bienes pertinentes para crisis tal como se definen en el artículo 3, número 6, del Reglamento (UE) 2024/2747 del Parlamento Europeo y del Consejo, de 9 de octubre de 2024, por el que se establece un marco de medidas relativas a una emergencia del mercado interior y a la resiliencia de dicho mercado y se modifica el Reglamento (CE) n.º 2679/98 del Consejo.

17) “Modo de emergencia del mercado interior”: modo de emergencia del mercado interior tal como se define en el artículo 3, número 3, del Reglamento (UE) 2024/2747 del Parlamento Europeo y del Consejo, de 9 de octubre de 2024.»

Dos. Se introduce un nuevo capítulo, el capítulo VI, a continuación del artículo 23, con el siguiente contenido:

«CAPÍTULO VI
Procedimientos de emergencia
Artículo 24. Aplicación de los procedimientos de emergencia.

1. Los artículos 25 y 26 serán de aplicación en el momento en que la Comisión Europea haya adoptado un acto de ejecución con arreglo al artículo 28 del Reglamento (UE) 2024/2747 del Parlamento Europeo y del Consejo, de 9 de octubre de 2024, con respecto al material eléctrico regulado por la Directiva 2014/35/UE del Parlamento Europeo y del Consejo, de 26 de febrero de 2014.

2. Los efectos de dichos artículos se desplegarán únicamente mientras dure el modo de emergencia del mercado interior que se haya activado de conformidad con el artículo 18 del Reglamento (UE) 2024/2747 del Parlamento Europeo y del Consejo, de 9 de octubre de 2024, y se aplicarán únicamente al material eléctrico incluido en el ámbito de aplicación de este real decreto que haya sido designado como bien pertinente para crisis con arreglo al apartado 4 del artículo 18 del mencionado Reglamento (UE) 2024/2747 del Parlamento Europeo y del Consejo, de 9 de octubre de 2024.

3. Salvo que la autoridad competente de vigilancia del mercado considere que existe un riesgo para la salud o la seguridad de las personas, el material eléctrico que haya sido introducido en el mercado en el territorio español de conformidad con el apartado 1 del artículo 25, se seguirá considerando conforme con los objetivos de seguridad contemplados en el artículo 3 y establecidos en el anexo I del presente real decreto tras la expiración o derogación del acto de ejecución al que se refiere el apartado 1 del artículo 22 ter de la Directiva 2014/35/UE del Parlamento Europeo y del Consejo, de 26 de febrero de 2014, o tras la expiración o desactivación del modo de emergencia del mercado interior.

4. La aplicación del artículo 25 y del apartado 3 del presente artículo deberá ajustarse a lo dispuesto en los actos de ejecución que la Comisión adopte en virtud del apartado 4 del artículo 22 bis de la Directiva 2014/35/UE del Parlamento Europeo y del Consejo, de 26 de febrero de 2014. Las autoridades competentes tomarán las disposiciones pertinentes para dar cumplimiento a las medidas de aplicación establecidas en dichos actos.

Artículo 25. Presunción de conformidad basada en normas y especificaciones comunes del material eléctrico que haya sido designado como bien pertinente para crisis.

1. Sin perjuicio de lo dispuesto en los artículo 12, 13 y 14 se presumirá que el material eléctrico que ha sido designado como bien pertinente para crisis que es conforme con las normas o las especificaciones comunes a las que se refiere el artículo 22 ter de la Directiva 2014/35/UE del Parlamento Europeo y del Consejo, de 26 de febrero de 2014, sobre la armonización de las legislaciones de los Estados miembros en materia de comercialización de material eléctrico destinado a utilizarse con determinados límites de tensión, o partes de ellas, cumple los objetivos de seguridad contemplados en el artículo 3 y establecidos en el anexo I de este real decreto que están cubiertos por dichas normas, especificaciones comunes o partes de ellas. A partir del día siguiente a la expiración o desactivación del modo de emergencia del mercado interior, los fabricantes no podrán invocar la presunción de conformidad que confieren dichas normas o especificaciones comunes.

2. Cuando el órgano competente de una comunidad autónoma considere que una norma o especificación común contemplada en el apartado 1 del artículo 22 ter de la Directiva 2014/35/UE del Parlamento Europeo y del Consejo, de 26 de febrero de 2014, no satisface plenamente los objetivos de seguridad contemplados en el artículo 3 y establecidos en el anexo I de este real decreto, lo comunicará al órgano competente del Ministerio de Industria y Turismo enviando una explicación detallada.

El órgano competente del Ministerio de Industria y Turismo informará de ello a la Comisión.

Artículo 26. Priorización de las actividades de vigilancia del mercado y asistencia a otras autoridades de vigilancia del mercado.

1. Las comunidades autónomas darán prioridad a las actividades de vigilancia del mercado en relación con el material eléctrico enumerado en el acto de ejecución a que se refiere el apartado 1 del artículo 24.

2. Las comunidades autónomas harán todo lo posible por prestar asistencia a otras autoridades de vigilancia del mercado durante un modo de emergencia del mercado interior, incluyendo cuando se disponga de los medios y capacidades disponibles, el envío de equipos de expertos para reforzar temporalmente la plantilla de las autoridades de vigilancia del mercado que soliciten asistencia, o proporcionando apoyo logístico, como el refuerzo de la capacidad de ensayo del material eléctrico enumerado en el acto de ejecución a que se refiere el apartado 1 del artículo 24.

3. En caso de que la autoridad de vigilancia del mercado de una comunidad autónoma requiera de la asistencia de otras autoridades de vigilancia del mercado, remitirá solicitud de asistencia a través de los grupos de trabajo correspondiente de la Conferencia Sectorial de Industria y PYME.

Las demandas de asistencia podrán incluir, entre otros, los aspectos indicados en el apartado 2.

4. Cuando la solicitud de asistencia a la que se refiere el apartado anterior no pueda ser atendida por ninguna autoridad de vigilancia del mercado de las comunidades autónomas por falta de recursos y/o capacidades, la comunidad autónoma solicitante podrá demandar asistencia de las autoridades de vigilancia del mercado de otros Estados miembros directamente o a través de la Oficina de Enlace Única de vigilancia del mercado en España, quien remitirá la solicitud de asistencia a las oficinas de enlace único de vigilancia del mercado del resto de Estados miembros.

Adicionalmente a lo indicado en el párrafo anterior, el Ministerio de Industria y Turismo, previa solicitud de la autoridad de vigilancia del mercado de la comunidad autónoma demandante de asistencia, remitirá dicha solicitud a las autoridades de vigilancia del mercado del resto de Estados miembros a través del grupo de cooperación administrativa correspondiente al que se refiere el artículo 32 del Reglamento (UE) 2019/1020 del Parlamento Europeo y del Consejo, de 20 de junio de 2019.

5. Sin perjuicio de lo indicado en el apartado siguiente, las solicitudes de asistencia procedentes de autoridades de vigilancia del mercado de otros Estados miembros que se reciban en el Ministerio de Industria y Turismo o en las autoridades de vigilancia del mercado de las comunidades autónomas serán remitidas al conjunto de las autoridades de vigilancia del mercado de las comunidades autónomas a través de los grupos de trabajo correspondientes de la Conferencia Sectorial de Industria y PYME, informando de ello a la Oficina de Enlace Única.

Las solicitudes de asistencia procedentes de autoridades de vigilancia del mercado de otros Estados miembros que se reciban en la Oficina de Enlace Única serán enviadas al Ministerio de Industria y Turismo para su remisión a las autoridades de vigilancia del mercado de las comunidades autónomas a través de los grupos de trabajo correspondientes de la Conferencia Sectorial de Industria y PYME.

En el plazo máximo de cinco días hábiles desde la remisión de la solicitud a los grupos de trabajo correspondientes de la Conferencia Sectorial de Industria y PYME, el Ministerio de Industria y Turismo informará a la Oficina de Enlace Única sobre el resultado de la solicitud, indicando, en su caso, las autoridades de vigilancia que pueden prestar asistencia. La Oficina de Enlace Única remitirá dicha información al Estado miembro solicitante.

6. Cuando la solicitud indicada en el apartado anterior requiera asistencia específica de una autoridad de vigilancia del mercado concreta, las solicitudes serán remitidas directamente a dicha comunidad autónoma informando de ello al Estado miembro solicitante.

7. Las solicitudes de asistencia entre las autoridades de vigilancia del mercado, así como el resto de comunicaciones a las que se refiere el presente artículo se realizarán por medios electrónicos.»

Artículo noveno. Modificación del Real Decreto 203/2016, de 20 de mayo, por el que se establecen los requisitos esenciales de seguridad para la comercialización de ascensores y componentes de seguridad para ascensores.

El Real Decreto 203/2016, de 20 de mayo, por el que se establecen los requisitos esenciales de salud y seguridad para la comercialización de ascensores y componentes de seguridad para ascensores, se modifica como sigue:

Uno. En el artículo 2 se añaden dos nuevos párrafos v) y w) con la siguiente redacción:

«v) “Bienes pertinentes para crisis”: bienes pertinentes para crisis tal como se definen en el artículo 3, número 6, del Reglamento (UE) 2024/2747 del Parlamento Europeo y del Consejo, de 9 de octubre de 2024, por el que se establece un marco de medidas relativas a una emergencia del mercado interior y a la resiliencia de dicho mercado y se modifica el Reglamento (CE) n.º 2679/98 del Consejo.

w) “Modo de emergencia del mercado interior”: modo de emergencia del mercado interior tal como se define en el artículo 3, número 3, del Reglamento (UE) 2024/2747 del Parlamento Europeo y del Consejo, de 9 de octubre de 2024.»

Dos. Se introduce un nuevo capítulo, el capítulo VII, a continuación del artículo 37, con el siguiente contenido:

«CAPÍTULO VII
Procedimientos de emergencia
Artículo 38. Aplicación de los procedimientos de emergencia.

1. Los artículos 39 a 42 serán de aplicación en el momento en que la Comisión Europea haya adoptado un acto de ejecución con arreglo al artículo 28 del Reglamento (UE) 2024/2747 del Parlamento Europeo y del Consejo, de 9 de octubre de 2024, con respecto a los ascensores y componentes de seguridad para ascensores regulados por la Directiva 2014/33/UE del Parlamento Europeo y del Consejo, de 26 de febrero de 2014.

2. Los efectos de dichos artículos se desplegarán únicamente mientras dure el modo de emergencia del mercado interior que se haya activado de conformidad con el artículo 18 del Reglamento (UE) 2024/2747 del Parlamento Europeo y del Consejo, de 9 de octubre de 2024, y se aplicarán únicamente a los ascensores y componentes de seguridad para ascensores incluidos en el ámbito de aplicación de este real decreto que hayan sido designados como bienes pertinentes para crisis con arreglo al apartado 4 del artículo 18 del mencionado Reglamento (UE) 2024/2747 del Parlamento Europeo y del Consejo, de 9 de octubre de 2024.

3. Sin perjuicio de lo indicado en el apartado anterior, lo previsto en el apartado 8 del artículo 40 seguirá siendo de aplicación tras la expiración o desactivación del modo de emergencia del mercado interior.

4. Salvo que la autoridad competente de vigilancia del mercado considere que existe un riesgo para la salud o la seguridad de las personas, los ascensores y componentes de seguridad para ascensores que hayan sido introducidos en el mercado en el territorio español de conformidad con el apartado 1 del artículo 41, se seguirán considerando conformes con los requisitos esenciales de salud y seguridad aplicables establecidos en el anexo I del presente real decreto tras la expiración o derogación del acto de ejecución al que se refiere el apartado 1 del artículo 41.quinquies de la Directiva 2014/33/UE del Parlamento Europeo y del Consejo, de 26 de febrero de 2014, o tras la expiración o desactivación del modo de emergencia del mercado interior.

5. La aplicación de los artículos 40 y 41, así como del apartado 4 del presente artículo deberá ajustarse a lo dispuesto en los actos de ejecución que la Comisión adopte en virtud del apartado 4 del artículo 41.bis de la Directiva 2014/33/UE del Parlamento Europeo y del Consejo, de 26 de febrero de 2014. Las autoridades competentes tomarán las disposiciones pertinentes para dar cumplimiento a las medidas de aplicación establecidas en dichos actos.

Artículo 39. Priorización de la evaluación de la conformidad de los ascensores y componentes de seguridad para ascensores designados como bienes pertinentes para crisis.

1. El presente artículo será de aplicación a los ascensores y componentes de seguridad para ascensores enumerados en el acto de ejecución al que se refiere el apartado 1 del artículo 38, que, de acuerdo con los artículos 15 y 16, están sujetos a procedimientos de evaluación de la conformidad en los que se requiere la participación obligatoria de un organismo notificado.

2. Los organismos notificados harán todo lo posible por tramitar con carácter prioritario todas las solicitudes de evaluación de la conformidad de los ascensores y componentes de seguridad para ascensores a que se refiere el apartado 1, con independencia de que dichas solicitudes hayan sido presentadas antes o después de que el presente artículo sea de aplicación de acuerdo con lo indicado en el artículo 38.

3. La priorización de las solicitudes de evaluación de la conformidad de los ascensores y componentes de seguridad para ascensores con arreglo al apartado 2 no dará lugar a costes adicionales desproporcionados para los fabricantes que hayan presentado dichas solicitudes.

4. Los organismos notificados harán esfuerzos razonables por aumentar sus capacidades en materia de ensayo para los ascensores y componentes de seguridad para ascensores a que se refiere el apartado 1 en relación con las cuales hayan sido notificados.

Artículo 40. Excepción a los procedimientos de evaluación de la conformidad que requieren la participación obligatoria de un organismo notificado.

1. Sin perjuicio de lo indicado en los artículos 15, la autoridad competente podrá autorizar, previa solicitud debidamente justificada de un operador económico, la introducción en el mercado en el territorio español de un componente de seguridad para ascensores específico enumerado en el acto de ejecución a que se refiere el apartado 1 del artículo 38, y que no haya sido sometido a los procedimientos de evaluación de la conformidad a los que se refiere el artículo 15 que requieren la participación obligatoria de un organismo notificado, pero para el cual haya quedado demostrado el cumplimiento de todos los requisitos esenciales de salud y seguridad aplicables establecidos en el anexo I de este real decreto de conformidad con los procedimientos contemplados en la autorización.

2. Sin perjuicio de lo indicado en los artículos 16, la autoridad competente podrá autorizar, previa solicitud debidamente justificada de un operador económico, la introducción en el mercado y la puesta en servicio en el territorio español de un ascensor específico enumerado en el acto de ejecución a que se refiere el apartado 1 del artículo 38, y que no haya sido sometido a los procedimientos de evaluación de la conformidad a los que se refiere el artículo 16 que requieren la participación obligatoria de un organismo notificado, pero para el cual haya quedado demostrado el cumplimiento de todos los requisitos esenciales de salud y seguridad aplicables establecidos en el anexo I de este real decreto de conformidad con los procedimientos contemplados en la autorización.

3. A los efectos del apartado anterior, tendrán la consideración de autoridad competente las siguientes:

a) Cuando el ascensor o componente de seguridad para ascensores está diseñado y fabricado para su instalación y utilización en una ubicación específica, la comunidad autónoma correspondiente a dicha ubicación;

b) Cuando el ascensor o componente de seguridad para ascensores no está diseñado y fabricado para su instalación y utilización en una ubicación específica:

1.º Si el instalador del ascensor o su representante autorizado está establecido en España, la comunidad autónoma donde esté establecido dicho fabricante o representante autorizado. En caso de que el instalador o representante autorizado esté establecido en más de una comunidad autónoma, la autoridad competente será aquella comunidad en la que radique la sede social del fabricante o representante autorizado, si esta está radicada en España, o, en caso contrario, aquella de entre las comunidades autónomas donde esté establecido el fabricante o representante autorizado en la que se presente por primera vez la solicitud de excepción.

2.º Si el componente de seguridad para ascensores está fabricado en España, la comunidad autónoma donde se lleve a cabo la fabricación del componente de seguridad para ascensores. En aquellos casos en los que la fabricación se lleve a cabo en varias comunidades autónomas, la autoridad competente será aquella comunidad en la que radique la sede social del fabricante, si esta está radicada en España, o, en caso contrario, aquella de entre las comunidades autónomas donde se lleve a cabo la fabricación en la que se presente por primera vez la solicitud de excepción.

3.º Si el componente de seguridad para ascensores no está fabricado en España, pero el fabricante o su representante autorizado está establecido en territorio español, la comunidad autónoma donde esté establecido dicho fabricante o representante autorizado. En caso de que el fabricante o representante autorizado esté establecido en más de una comunidad autónoma, la autoridad competente será aquella comunidad en la que radique la sede social del fabricante o representante autorizado, si esta está radicada en España, o, en caso contrario, aquella de entre las comunidades autónomas donde esté establecido el fabricante o representante autorizado en la que se presente por primera vez la solicitud de excepción.

4.º Si el fabricante del componente de seguridad para ascensores no está establecido en territorio español, pero el importador del componente de seguridad para ascensores o, en su defecto, el distribuidor sí lo está, la comunidad autónoma donde esté establecido dicho operador económico. En caso de que el mencionado operador económico esté establecido en más de una comunidad autónoma, la autoridad competente será aquella comunidad en la que radique la sede social del mismo, si esta está radicada en España, o, en caso contrario, aquella de entre las comunidades autónomas donde esté establecido el operador económico en la que se presente por primera vez la solicitud de excepción.

5.º Si ni el instalador del ascensor ni su representante autorizado o si ni el fabricante del componente de seguridad para ascensores ni el operador económico que solicita la excepción están establecidos en territorio español, la Dirección General de Estrategia Industrial y de la Pequeña y Mediana Empresa del Ministerio de Industria y Turismo.

4. Toda autorización expedida de conformidad con los apartados 1 o 2 establecerá las condiciones y los requisitos con arreglo a los cuales un ascensor o un componente de seguridad para ascensores pueda introducirse en el mercado. Dichas autorizaciones establecerán, como mínimo, lo siguiente:

a) Una descripción de los procedimientos mediante los cuales se ha demostrado con éxito el cumplimiento de los requisitos esenciales de salud y seguridad aplicables establecidos en el anexo I del presente real decreto;

b) Todo requisito específico relativo a la trazabilidad del ascensor o componente de seguridad para ascensores de que se trate;

c) Una fecha final de validez de la autorización, que no podrá exceder del último día del período durante el cual se haya activado el modo de emergencia del mercado interior de conformidad con el artículo 18 del Reglamento (UE) 2024/2747 del Parlamento Europeo y del Consejo, de 9 de octubre de 2024;

d) Todo requisito específico relativo a la necesidad de garantizar la evaluación continua de la conformidad del ascensor o del componente de seguridad para ascensores de que se trate;

e) Las medidas que deban tomarse al expirar o desactivarse el modo de emergencia del mercado interior con respecto al ascensor o componente de seguridad para ascensores de que se trate que se ha introducido en el mercado.

5. Los instaladores de ascensores o los fabricantes de componentes de seguridad para ascensores sujetos al procedimiento de autorización contemplado en el apartado 1 o el 2, respectivamente, declararán, bajo su exclusiva responsabilidad, que los ascensores o componentes de seguridad para ascensores en cuestión cumplen todos los requisitos esenciales de salud y seguridad aplicables establecidos en el anexo I del presente real decreto y serán responsables del cumplimiento de todos los procedimientos de evaluación de la conformidad indicados en la autorización.

6. La autoridad competente indicada en el apartado 3 podrá reconocer, de oficio, como válidas en el territorio español las autorizaciones concedidas en otros Estados miembros de conformidad con el apartado 1 o el 2 del artículo 41 quater de la Directiva 2014/33/UE del Parlamento Europeo y del Consejo, de 26 de febrero de 2014, sobre la armonización de las legislaciones de los Estados miembros en materia de ascensores y componentes de seguridad para ascensores, siempre que los requisitos establecidos en las citadas autorizaciones garanticen la conformidad con los requisitos esenciales de salud y seguridad aplicables establecidos en el anexo I del presente real decreto.

7. La autoridad competente remitirá inmediatamente a la Comisión y a los demás Estados miembros la información relativa a las autorizaciones concedidas de conformidad con el apartado 1 o 2, así como de todo acto por el que se reconozcan como válidas las autorizaciones concedidas por otro Estado miembro de acuerdo con el apartado anterior.

Igualmente, la autoridad competente remitirá la información indicada en el párrafo anterior a la Dirección General de Estrategia Industrial y de la Pequeña y Mediana Empresa del Ministerio de Industria y Turismo, que publicará dicha información en el portal de internet del Ministerio de Industria y Turismo.

8. Los ascensores y componentes de seguridad para ascensores para los que se haya concedido una autorización de conformidad con el apartado 1 o el 2 del presente artículo no llevarán el marcado CE.

Asimismo, no será de aplicación el artículo 3 del presente real decreto a los ascensores y componentes de seguridad para ascensores autorizados en otro Estado miembro de conformidad con el apartado 1 o el 2 del artículo 41 quater de la Directiva 2014/33/UE del Parlamento Europeo y del Consejo, de 26 de febrero de 2014, salvo por lo dispuesto en los apartados 9 y 10.

9. Sin perjuicio de lo indicado en el artículo 3 del presente real decreto, no se podrá prohibir, restringir u obstaculizar la introducción en el mercado en territorio español de los siguientes componentes de seguridad para ascensores que, cumpliendo todos los requisitos esenciales de salud y seguridad aplicables establecidos en el anexo I de este real decreto, no cuenten con el marcado CE:

a) Aquellos para los que las autoridades competentes indicadas en el apartado 3.b) hayan concedido una autorización de acuerdo con lo indicado en el apartado 1 y que cuenten con la información indicada en el apartado 13;

b) Aquellos para los que las autoridades competentes indicadas en el apartado 3.b) hayan reconocido la validez de la autorización concedida en otro Estado miembro de conformidad con el apartado 6 y que cuenten con la información indicada en el apartado 13;

c) Los que hayan sido objeto del acto de ejecución al que se refiere el apartado 3 o el 4 del artículo 41 quater de la Directiva 2014/33/UE del Parlamento Europeo y del Consejo, de 26 de febrero de 2014, por el que se amplía la validez de las autorizaciones concedidas por los Estados miembros, y que cuenten con la información indicada en dicho acto, al menos, en castellano.

10. Sin perjuicio de lo indicado en el artículo 3 del presente real decreto, no se podrá prohibir, restringir u obstaculizar la introducción en el mercado ni la puesta en servicio en territorio español de los siguientes ascensores que, cumpliendo todos los requisitos esenciales de salud y seguridad aplicables establecidos en el anexo I de este real decreto, no cuenten con el marcado CE:

a) Aquellos para los que las autoridades competentes indicadas en el apartado 3.b) hayan concedido una autorización de acuerdo con lo indicado en el apartado 2 y que cuenten con la información indicada en el apartado 13;

b) Aquellos para los que las autoridades competentes indicadas en el apartado 3.b) hayan reconocido la validez de la autorización concedida en otro Estado miembro de conformidad con el apartado 6 y que cuenten con la información indicada en el apartado 13;

c) Los que hayan sido objeto del acto de ejecución al que se refiere el apartado 3 o el 4 del artículo 41 quater de la Directiva 2014/33/UE del Parlamento Europeo y del Consejo, de 26 de febrero de 2014, por el que se amplía la validez de las autorizaciones concedidas por los Estados miembros, y que cuenten con la información indicada en dicho acto, al menos, en castellano.

11. Sin perjuicio de lo indicado en el artículo 3 del presente real decreto, los componentes de seguridad para ascensores que no cuenten con el marcado CE para los que la autoridad competente a la que se refiere el apartado 3.a) haya concedido una autorización de acuerdo con el apartado 1 o haya reconocido la validez de la autorización concedida en otro Estado miembro de conformidad con el apartado 6 y que no hayan sido objeto del acto de ejecución al que se refiere el apartado 3 o el 4 del artículo 41 quater de la Directiva 2014/33/UE del Parlamento Europeo y del Consejo, de 26 de febrero de 2014, solo podrán introducirse en el mercado en la ubicación específica para la que se concede la autorización.

Las comunidades autónomas podrán reconocer como válidas, para ubicaciones específicas dentro de su territorio, las autorizaciones concedidas por otras comunidades autónomas de conformidad con los apartados 1 y 3.a).

12. Sin perjuicio de lo indicado en el artículo 3 del presente real decreto, los ascensores que no cuenten con el marcado CE para los que la autoridad competente a la que se refiere el apartado 3.a) haya concedido una autorización de acuerdo con el apartado 2 o haya reconocido la validez de la autorización concedida en otro Estado miembro de conformidad con el apartado 6 y que no hayan sido objeto del acto de ejecución al que se refiere el apartado 3 o el 4 del artículo 41 quater de la Directiva 2014/33/UE del Parlamento Europeo y del Consejo, de 26 de febrero de 2014, solo podrán introducirse en el mercado y ponerse en servicio en la ubicación específica para la que se concede la autorización.

Las comunidades autónomas podrán reconocer como válidas, para ubicaciones específicas dentro de su territorio, las autorizaciones concedidas por otras comunidades autónomas de conformidad con los apartados 2 y 3.a).

13. Los componentes de seguridad para ascensores introducidos en el mercado en el territorio español de conformidad con lo indicado en los párrafos a) y b) del apartado 9 y los ascensores introducidos en el mercado y puestos en servicio en el territorio español de conformidad con lo indicado en los párrafos a) y b) del apartado 10 irán acompañados de la declaración responsable indicada en el apartado 5, que se incluirá al menos en castellano, y de una copia de la autorización expedida por la autoridad competente de acuerdo con los apartado 1 o 2 o, en su caso, de la resolución por la que se reconoce la validez de la autorización concedida en otro Estado miembro de conformidad con el apartado 6, y llevarán la siguiente información, al menos, en castellano, así como el resto de información aplicable requerida en el presente real decreto:

a) Los componentes de seguridad para ascensores o los ascensores que cuenten con una autorización expedida por la autoridad competente a la que hacen referencia los párrafos 1.º a 4.º del apartado 3.b) y que no hayan sido objeto del acto de ejecución al que se refiere el apartado 3 o el 4 del artículo 41 quater de la Directiva 2014/33/UE del Parlamento Europeo y del Consejo, de 26 de febrero de 2014, llevarán la información indicada en la resolución por la que se concede dicha autorización.

b) Los componentes de seguridad para ascensores o los ascensores que cuenten con una autorización expedida por la Dirección General de Estrategia Industrial y de la Pequeña y Mediana Empresa del Ministerio de Industria y Turismo y que no hayan sido objeto del acto de ejecución al que se refiere el apartado 3 o el 4 del artículo 41 quater de la Directiva 2014/33/UE del Parlamento Europeo y del Consejo, de 26 de febrero de 2014, incluirán en el producto o embalaje la información relativa a que el componente de seguridad para ascensores o el ascensor, según corresponda, ha sido autorizado por el Ministerio de Industria y Turismo, junto con la referencia a la resolución por la que se concede dicha autorización. La autorización podrá establecer requisitos para modificar el contenido y presentación de dicha información.

c) Los componentes de seguridad para ascensores o los ascensores para los que la autoridad competente a la que hacen referencia los párrafo 1.º a 4.º del apartado 3.b) haya reconocido la validez de la autorización concedida en otro Estado miembro de conformidad con el apartado 6 y que no hayan sido objeto del acto de ejecución al que se refiere el apartado 3 o el 4 del artículo 41 quater de la Directiva 2014/33/UE del Parlamento Europeo y del Consejo, de 26 de febrero de 2014, llevarán la información indicada en la resolución por la que se concede dicha autorización.

d) Los componentes de seguridad para ascensores o los ascensores para los que la Dirección General de Estrategia Industrial y de la Pequeña y Mediana Empresa del Ministerio de Industria y Turismo haya reconocido la validez de la autorización concedida en otro Estado miembro de conformidad con el apartado 6 y que no hayan sido objeto del acto de ejecución al que se refiere el apartado 3 o el 4 del artículo 41 quater de la Directiva 2014/33/UE del Parlamento Europeo y del Consejo, de 26 de febrero de 2014, incluirán en el producto o embalaje la información relativa a que el componente de seguridad para ascensores o el ascensor, según corresponda, ha sido autorizado en otro Estado miembro y que dicha autorización ha sido reconocida por el Ministerio de Industria y Turismo, junto con la referencia a la resolución por la que se concede dicho reconocimiento. La resolución por la que se reconoce la autorización concedida en otro Estado miembro podrá establecer requisitos para modificar el contenido y presentación de dicha información.

14. Las comunidades autónomas podrán tomar a nivel nacional todas las medidas correctivas y restrictivas contempladas en el Reglamento (UE) 2019/1020 del Parlamento Europeo y del Consejo, de 20 de junio de 2019, relativo a la vigilancia del mercado y la conformidad de los productos y por el que se modifican la Directiva 2004/42/CE y los Reglamentos (CE) n.º 765/2008 y (UE) n.º 305/2011 y en el presente real decreto con respecto a los componentes de seguridad para ascensores o a los ascensores introducidos en el mercado de conformidad con este artículo.

Las comunidades autónomas informarán inmediatamente de dichas medidas a la Comisión y a las autoridades de vigilancia del mercado de todos los demás Estados miembros.

15. Las autorizaciones concedidas de acuerdo con el apartado 1 o al 2, así como el reconocimiento de las autorizaciones concedidas en otros Estados miembros de acuerdo con el apartado 6 no afectará a la aplicación de los procedimientos de evaluación de la conformidad pertinentes establecidos en los artículos 15 y 16.

Artículo 41. Presunción de conformidad basada en normas y especificaciones comunes de los ascensores y componentes de seguridad para ascensores que hayan sido designados como bienes pertinentes para crisis.

1. Sin perjuicio de lo dispuesto en el artículo 14, se presumirá que los ascensores y componentes de seguridad para ascensores que han sido designados como bienes pertinentes para crisis que son conformes con las normas o las especificaciones comunes a las que se refiere el artículo 41 quinquies de la Directiva 2014/33/UE del Parlamento Europeo y del Consejo, de 26 de febrero de 2014, o partes de ellas, cumplen los requisitos esenciales de salud y seguridad aplicables establecidos en el anexo I de este real decreto que están cubiertos por dichas normas, especificaciones comunes o partes de ellas. A partir del día siguiente a la expiración o desactivación del modo de emergencia del mercado interior, los instaladores de ascensores y los fabricantes de componentes de seguridad para ascensores no podrán invocar la presunción de conformidad que confieren dichas normas o especificaciones comunes.

2. Cuando el órgano competente de una comunidad autónoma considere que una norma o especificación común contemplada en el apartado 1 del artículo 41 quinquies de la Directiva 2014/33/UE del Parlamento Europeo y del Consejo, de 26 de febrero de 2014, no satisface plenamente los requisitos esenciales de salud y seguridad aplicables establecidos en el anexo I de este real decreto, lo comunicará al órgano competente del Ministerio de Industria y Turismo enviando una explicación detallada.

El órgano competente del Ministerio de Industria y Turismo informará de ello a la Comisión.

Artículo 42. Priorización de las actividades de vigilancia del mercado y asistencia a otras autoridades de vigilancia del mercado.

1. Las comunidades autónomas darán prioridad a las actividades de vigilancia del mercado en relación con los ascensores y componentes de seguridad para ascensores enumerados en el acto de ejecución a que se refiere el apartado 1 del artículo 38.

2. Las comunidades autónomas harán todo lo posible por prestar asistencia a otras autoridades de vigilancia del mercado durante un modo de emergencia del mercado interior, incluyendo cuando se disponga de los medios y capacidades disponibles, el envío de equipos de expertos para reforzar temporalmente la plantilla de las autoridades de vigilancia del mercado que soliciten asistencia, o proporcionando apoyo logístico, como el refuerzo de la capacidad de ensayo de los ascensores o componentes de seguridad para ascensores enumerados en el acto de ejecución a que se refiere el apartado 1 del artículo 38.

3. En caso de que la autoridad de vigilancia del mercado de una comunidad autónoma requiera de la asistencia de otras autoridades de vigilancia del mercado, remitirá solicitud de asistencia a través de los grupos de trabajo correspondiente de la Conferencia Sectorial de Industria y PYME.

Las demandas de asistencia podrán incluir, entre otros, los aspectos indicados en el apartado 2.

4. Cuando la solicitud de asistencia a la que se refiere el apartado anterior no pueda ser atendida por ninguna autoridad de vigilancia del mercado de las comunidades autónomas por falta de recursos y/o capacidades, la comunidad autónoma solicitante podrá demandar asistencia de las autoridades de vigilancia del mercado de otros Estados miembros directamente o a través de la Oficina de Enlace Única de vigilancia del mercado en España, quien remitirá la solicitud de asistencia a las oficinas de enlace único de vigilancia del mercado del resto de Estados miembros.

Adicionalmente a lo indicado en el párrafo anterior, el Ministerio de Industria y Turismo, previa solicitud de la autoridad de vigilancia del mercado de la comunidad autónoma demandante de asistencia, remitirá dicha solicitud a las autoridades de vigilancia del mercado del resto de Estados miembros a través del grupo de cooperación administrativa correspondiente al que se refiere el artículo 32 del Reglamento (UE) 2019/1020 del Parlamento Europeo y del Consejo, de 20 de junio de 2019.

5. Sin perjuicio de lo indicado en el apartado siguiente, las solicitudes de asistencia procedentes de autoridades de vigilancia del mercado de otros Estados miembros que se reciban en el Ministerio de Industria y Turismo o en las autoridades de vigilancia del mercado de las comunidades autónomas serán remitidas al conjunto de las autoridades de vigilancia del mercado de las comunidades autónomas a través de los grupos de trabajo correspondientes de la Conferencia Sectorial de Industria y PYME, informando de ello a la Oficina de Enlace Única.

Las solicitudes de asistencia procedentes de autoridades de vigilancia del mercado de otros Estados miembros que se reciban en la Oficina de Enlace Única serán enviadas al Ministerio de Industria y Turismo para su remisión a las autoridades de vigilancia del mercado de las comunidades autónomas a través de los grupos de trabajo correspondientes de la Conferencia Sectorial de Industria y PYME.

En el plazo máximo de cinco días hábiles desde la remisión de la solicitud a los grupos de trabajo correspondientes de la Conferencia Sectorial de Industria y PYME, el Ministerio de Industria y Turismo informará a la Oficina de Enlace Única sobre el resultado de la solicitud, indicando, en su caso, las autoridades de vigilancia que pueden prestar asistencia. La Oficina de Enlace Única remitirá dicha información al Estado miembro solicitante.

6. Cuando la solicitud indicada en el apartado anterior requiera asistencia específica de una autoridad de vigilancia del mercado concreta, las solicitudes serán remitidas directamente a dicha comunidad autónoma informando de ello al Estado miembro solicitante.

7. Las solicitudes de asistencia entre las autoridades de vigilancia del mercado, así como el resto de comunicaciones a las que se refiere el presente artículo se realizarán por medios electrónicos.»

Disposición adicional primera. Asistencia a otras autoridades de vigilancia del mercado en el marco del Reglamento (UE) n.º 305/2011 del Parlamento Europeo y del Consejo, de 9 de marzo de 2011, por el que se establecen condiciones armonizadas para la comercialización de productos de construcción y se deroga la Directiva 89/106/CEE del Consejo, del Reglamento (UE) 2016/424 del Parlamento Europeo y del Consejo, de 9 de marzo de 2016, relativo a las instalaciones de transporte por cable y por el que se deroga la Directiva 2000/9/CE, del Reglamento (UE) 2016/425 del Parlamento Europeo y del Consejo, de 9 de marzo de 2016, relativo a los equipos de protección individual y por el que se deroga la Directiva 89/686/CEE del Consejo, del Reglamento (UE) 2016/426 del Parlamento Europeo y del Consejo, de 9 de marzo de 2016, sobre los aparatos que queman combustibles gaseosos y por el que se deroga la Directiva 2009/142/CE y del Reglamento (UE) 2023/1230 del Parlamento Europeo y del Consejo, de 14 de junio de 2023, relativo a las máquinas, y por el que se derogan la Directiva 2006/42/CE del Parlamento Europeo y del Consejo y la Directiva 73/361/CEE del Consejo.

1. La asistencia por parte de las autoridades de vigilancia del mercado de las comunidades autónomas a otras autoridades de mercado a la que se refieren el artículo 38 quinquies del Reglamento (UE) n.º 305/2011 del Parlamento Europeo y del Consejo, de 9 de marzo de 2011, el artículo 43 sexies del Reglamento (UE) 2016/424 del Parlamento Europeo y del Consejo, de 9 de marzo de 2016, el artículo 41 sexies del Reglamento (UE) 2016/425 del Parlamento Europeo y del Consejo, de 9 de marzo de 2016, el artículo 40 sexies del Reglamento (UE) 2016/426 del Parlamento Europeo y del Consejo, de 9 de marzo de 2016, y el artículo 25 sexies del Reglamento (UE) 2023/1230 del Parlamento Europeo y del Consejo, de 14 de junio de 2023, seguirá el procedimiento indicado en los siguientes apartados:

2. En caso de que la autoridad de vigilancia del mercado de una comunidad autónoma requiera de la asistencia de otras autoridades de vigilancia del mercado, remitirá solicitud de asistencia a través de los grupos de trabajo correspondientes de la Conferencia Sectorial de Industria y PYME.

Las demandas de asistencia podrán incluir, entre otros, los aspectos a los que se refieren los artículos indicados en el apartado 1.

3. Cuando la solicitud de asistencia a la que se refiere el apartado anterior no pueda ser atendida por ninguna autoridad de vigilancia del mercado de las comunidades autónomas por falta de recursos y/o capacidades, la comunidad autónoma solicitante podrá demandar asistencia de las autoridades de vigilancia del mercado de otros Estados miembros directamente o a través de la Oficina de Enlace Única de vigilancia del mercado en España, quien remitirá la solicitud de asistencia a las oficinas de enlace único de vigilancia del mercado del resto de Estados miembros.

Adicionalmente a lo indicado en el párrafo anterior, el Ministerio de Industria y Turismo, previa solicitud de la autoridad de vigilancia del mercado de la comunidad autónoma demandante de asistencia, remitirá dicha solicitud a las autoridades de vigilancia del mercado del resto de Estados miembros a través del grupo de cooperación administrativa correspondiente al que se refiere el artículo 32 del Reglamento (UE) 2019/1020 del Parlamento Europeo y del Consejo, de 20 de junio de 2019.

4. Sin perjuicio de lo indicado en el apartado siguiente, las solicitudes de asistencia procedentes de autoridades de vigilancia del mercado de otros Estados miembros que se reciban en el Ministerio de Industria y Turismo o en las autoridades de vigilancia del mercado de las comunidades autónomas serán remitidas al conjunto de las autoridades de vigilancia del mercado de las comunidades autónomas a través de los grupos de trabajo correspondientes de la Conferencia Sectorial de Industria y PYME, informando de ello a la Oficina de Enlace Única.

Las solicitudes de asistencia procedentes de autoridades de vigilancia del mercado de otros Estados miembros que se reciban en la Oficina de Enlace Única serán enviadas al Ministerio de Industria y Turismo para su remisión a las autoridades de vigilancia del mercado de las comunidades autónomas a través de los grupos de trabajo correspondientes de la Conferencia Sectorial de Industria y PYME.

En el plazo máximo de cinco días hábiles desde la remisión de la solicitud a los grupos de trabajo correspondientes de la Conferencia Sectorial de Industria y PYME, el Ministerio de Industria y Turismo informará a la Oficina de Enlace Única sobre el resultado de la solicitud indicando, en su caso, las autoridades de vigilancia que pueden prestar asistencia. La Oficina de Enlace Única remitirá dicha información al Estado miembro solicitante.

5. Cuando la solicitud indicada en el apartado anterior requiera asistencia específica de una autoridad de vigilancia del mercado concreta, las solicitudes serán remitidas directamente a dicha comunidad autónoma informando de ello al Estado miembro solicitante.

6. Las solicitudes de asistencia entre las autoridades de vigilancia del mercado, así como el resto de comunicaciones a las que se refiere la presente disposición se realizarán por medios electrónicos.

Disposición adicional segunda. Excepción a los procedimientos de evaluación de la conformidad que requieren la participación obligatoria de un organismo notificado en el Reglamento (UE) 2016/424 del Parlamento Europeo y del Consejo, de 9 de marzo de 2016, el Reglamento (UE) 2016/425 del Parlamento Europeo y del Consejo, de 9 de marzo de 2016, el Reglamento (UE) 2016/426 del Parlamento Europeo y del Consejo, de 9 de marzo de 2016, y el Reglamento (UE) 2023/1230 del Parlamento Europeo y del Consejo, de 14 de junio de 2023.

1. Las autorizaciones a las excepciones a los procedimientos de evaluación de la conformidad a las que hacen referencia los artículos 43 quater del Reglamento (UE) 2016/424 del Parlamento Europeo y del Consejo, de 9 de marzo de 2016, 41 quater del Reglamento (UE) 2016/425 del Parlamento Europeo y del Consejo, de 9 de marzo de 2016, 40 quater del Reglamento (UE) 2016/426 del Parlamento Europeo y del Consejo, de 9 de marzo de 2016, y 25 quater del Reglamento (UE) 2023/1230 del Parlamento Europeo y del Consejo, de 14 de junio de 2023, serán concedidas por:

a) Cuando el producto está diseñado y fabricado para su instalación y utilización en una ubicación específica, la comunidad autónoma correspondiente a dicha ubicación;

b) Cuando el producto no está diseñado y fabricado para su instalación y utilización en una ubicación específica:

1.º Si el producto está fabricado en España, la comunidad autónoma donde se lleve a cabo la fabricación del producto. En aquellos casos en los que la fabricación se lleve a cabo en varias comunidades autónomas, la autoridad competente será aquella comunidad en la que radique la sede social del fabricante, si esta está radicada en España, o, en caso contrario, aquella de entre las comunidades autónomas donde se lleve a cabo la fabricación en la que se presente por primera vez la solicitud de excepción.

2.º Si el producto no está fabricado en España, pero el fabricante o su representante autorizado está establecido en territorio español, la comunidad autónoma donde esté establecido dicho fabricante o representante autorizado. En caso de que el fabricante o representante autorizado esté establecido en más de una comunidad autónoma, la autoridad competente será aquella comunidad en la que radique la sede social del fabricante o representante autorizado, si esta está radicada en España, o, en caso contrario, aquella de entre las comunidades autónomas donde esté establecido el fabricante o representante autorizado en la que se presente por primera vez la solicitud de excepción.

3.º Si el fabricante del producto no está establecido en territorio español, pero el importador del producto o, en su defecto, el distribuidor sí lo está, la comunidad autónoma donde esté establecido dicho operador económico. En caso de que el mencionado operador económico esté establecido en más de una comunidad autónoma, la autoridad competente será aquella comunidad en la que radique la sede social del mismo, si esta está radicada en España, o, en caso contrario, aquella de entre las comunidades autónomas donde esté establecido el operador económico en la que se presente por primera vez la solicitud de excepción.

4.º Si ni el fabricante del producto ni el operador económico que solicita la excepción están establecidos en territorio español, la Dirección General de Estrategia Industrial y de la Pequeña y Mediana Empresa del Ministerio de Industria y Turismo.

2. La autoridad competente indicada en el apartado 1 podrá reconocer, de oficio, como válidas las autorizaciones concedidas en otros Estados miembros de conformidad con el apartado 1 de los artículos 43 quater del Reglamento (UE) 2016/424 del Parlamento Europeo y del Consejo, de 9 de marzo de 2016, 41 quater del Reglamento (UE) 2016/425 del Parlamento Europeo y del Consejo, de 9 de marzo de 2016, 40 quater del Reglamento (UE) 2016/426 del Parlamento Europeo y del Consejo, de 9 de marzo de 2016, y 25 quater del Reglamento (UE) 2023/1230 del Parlamento Europeo y del Consejo, de 14 de junio de 2023, según corresponda, siempre que los requisitos establecidos en las citadas autorizaciones garanticen la conformidad con los requisitos esenciales de seguridad aplicables.

3. La autoridad competente remitirá inmediatamente a la Comisión y a los demás Estados miembros la información relativa a las autorizaciones concedidas de conformidad con el apartado 1, así como de todo acto por el que se reconozcan como válidas las autorizaciones concedidas por otro Estado miembro de acuerdo con el apartado anterior.

Igualmente, la autoridad competente remitirá la información indicada en el párrafo anterior a la Dirección General de Estrategia Industrial y de la Pequeña y Mediana Empresa del Ministerio de Industria y Turismo, que publicará dicha información en el portal de internet del Ministerio de Industria y Turismo.

4. Los procedimientos de excepción contemplados en los artículos 43 quater del Reglamento (UE) 2016/424 del Parlamento Europeo y del Consejo, de 9 de marzo de 2016, 41 quater del Reglamento (UE) 2016/425 del Parlamento Europeo y del Consejo, de 9 de marzo de 2016, 40 quater del Reglamento (UE) 2016/426 del Parlamento Europeo y del Consejo, de 9 de marzo de 2016, y 25 quater del Reglamento (UE) 2023/1230 del Parlamento Europeo y del Consejo, así como los procedimientos para el reconocimiento de la validez de la autorización concedida en otro Estado miembro de conformidad con el apartado 2, en lo que respecta a los productos regulados por dichos reglamentos, y cuya autorización o reconocimiento corresponda a la Dirección General de Estrategia Industrial y de la Pequeña y Mediana Empresa del Ministerio de Industria y Turismo se regirán por lo indicado en disposición adicional tercera.

5. Sin perjuicio de lo indicado en los artículos 7 del Reglamento (UE) 2016/424 del Parlamento Europeo y del Consejo, de 9 de marzo de 2016, 7 del Reglamento (UE) 2016/425 del Parlamento Europeo y del Consejo, de 9 de marzo de 2016, 6 del Reglamento (UE) 2016/426 del Parlamento Europeo y del Consejo, de 9 de marzo de 2016, y 4 del Reglamento (UE) 2023/1230 del Parlamento Europeo y del Consejo, de 14 de junio de 2023, según corresponda, no se podrá prohibir, restringir u obstaculizar, a causa de los riesgos cubiertos en dichos actos jurídicos, la introducción en el mercado o, cuando corresponda, la puesta en servicio en territorio español de los siguientes productos que no cuenten con el marcado CE:

a) Aquellos para los que las autoridades competentes indicadas en el apartado 1.b) hayan concedido una autorización de acuerdo con lo indicado en el apartado 1 de los artículos 43 quater del Reglamento (UE) 2016/424 del Parlamento Europeo y del Consejo, de 9 de marzo de 2016, 41 quater del Reglamento (UE) 2016/425 del Parlamento Europeo y del Consejo, de 9 de marzo de 2016, 40 quater del Reglamento (UE) 2016/426 del Parlamento Europeo y del Consejo, de 9 de marzo de 2016, o 25 quater del Reglamento (UE) 2023/1230 del Parlamento Europeo y del Consejo, de 14 de junio de 2023, según corresponda, y que cuenten con la información indicada en el apartado 7;

b) Aquellos para los que las autoridades competentes indicadas en el apartado 1.b) hayan reconocido la validez de la autorización concedida en otro Estado miembro de conformidad con el apartado 2 y que cuenten con la información indicada en el apartado 7;

c) Los productos objeto del acto de ejecución al que se refiere el apartado 2 o el 3 de los artículos 43 quater del Reglamento (UE) 2016/424 del Parlamento Europeo y del Consejo, de 9 de marzo de 2016, 41 quater del Reglamento (UE) 2016/425 del Parlamento Europeo y del Consejo, de 9 de marzo de 2016, 40 quater del Reglamento (UE) 2016/426 del Parlamento Europeo y del Consejo, de 9 de marzo de 2016, o 25 quater del Reglamento (UE) 2023/1230 del Parlamento Europeo y del Consejo, de 14 de junio de 2023, según corresponda, por el que se amplía la validez de las autorizaciones concedidas por los Estados miembros, y que cuenten con la información indicada en dicho acto, al menos, en castellano.

6. Sin perjuicio de lo indicado en los artículos 18 del Reglamento (UE) 2016/424 del Parlamento Europeo y del Consejo, de 9 de marzo de 2016, 19 del Reglamento (UE) 2016/425 del Parlamento Europeo y del Consejo, de 9 de marzo de 2016, 14 del Reglamento (UE) 2016/426 del Parlamento Europeo y del Consejo, de 9 de marzo de 2016, y 25 del Reglamento (UE) 2023/1230 del Parlamento Europeo y del Consejo, de 14 de junio de 2023, según corresponda, aquellos productos que no cuenten con el marcado CE para los que la autoridad competente a la que se refiere el apartado 1.a) haya concedido una autorización de acuerdo con el apartado 1 de los artículos 43 quater del Reglamento (UE) 2016/424 del Parlamento Europeo y del Consejo, de 9 de marzo de 2016, 41 quater del Reglamento (UE) 2016/425 del Parlamento Europeo y del Consejo, de 9 de marzo de 2016, 40 quater del Reglamento (UE) 2016/426 del Parlamento Europeo y del Consejo, de 9 de marzo de 2016, o 25 quater del Reglamento (UE) 2023/1230 del Parlamento Europeo y del Consejo, de 14 de junio de 2023, según corresponda, o haya reconocido la validez de la autorización concedida en otro Estado miembro de conformidad con el apartado 2 y que no hayan sido objeto del acto de ejecución al que se refiere el apartado 2 o el 3 de los artículos 43 quater del Reglamento (UE) 2016/424 del Parlamento Europeo y del Consejo, de 9 de marzo de 2016, 41 quater del Reglamento (UE) 2016/425 del Parlamento Europeo y del Consejo, de 9 de marzo de 2016, 40 quater del Reglamento (UE) 2016/426 del Parlamento Europeo y del Consejo, de 9 de marzo de 2016, o 25 quater del Reglamento (UE) 2023/1230 del Parlamento Europeo y del Consejo, de 14 de junio de 2023, según corresponda, solo podrán introducirse en el mercado o, cuando corresponda, ponerse en servicio en la ubicación específica para la que se concede la autorización.

Las comunidades autónomas podrán reconocer como válidas, para ubicaciones específicas dentro de su territorio, las autorizaciones concedidas por otras comunidades autónomas de conformidad con el apartado 1.a).

7. Los productos que se hayan introducido en el mercado o, cuando corresponda, se hayan puesto en servicio en el territorio español de conformidad con lo indicado en los párrafos a) y b) del apartado 5, llevarán la siguiente información, al menos, en castellano, así como el resto de información aplicable requerida en los actos jurídicos a los que hace referencia esta disposición:

a) Los productos que cuenten con una autorización expedida por la autoridad competente a la que hacen referencia los párrafos 1.º a 3.º del apartado 1.b) y que no hayan sido objeto del acto de ejecución al que se refiere el apartado 2 o el 3 de los artículos 43 quater del Reglamento (UE) 2016/424 del Parlamento Europeo y del Consejo, de 9 de marzo de 2016, 41 quater del Reglamento (UE) 2016/425 del Parlamento Europeo y del Consejo, de 9 de marzo de 2016, 40 quater del Reglamento (UE) 2016/426 del Parlamento Europeo y del Consejo, de 9 de marzo de 2016, o 25 quater del Reglamento (UE) 2023/1230 del Parlamento Europeo y del Consejo, de 14 de junio de 2023, según corresponda, llevarán, al menos en castellano, la información indicada en la resolución por la que se concede dicha autorización.

b) Los productos que cuenten con una autorización expedida por la Dirección General de Estrategia Industrial y de la Pequeña y Mediana Empresa del Ministerio de Industria y Turismo y que no hayan sido objeto del acto de ejecución al que se refiere el apartado 2 o el 3 de los artículos 43 quater del Reglamento (UE) 2016/424 del Parlamento Europeo y del Consejo, de 9 de marzo de 2016, 41 quater del Reglamento (UE) 2016/425 del Parlamento Europeo y del Consejo, de 9 de marzo de 2016, 40 quater del Reglamento (UE) 2016/426 del Parlamento Europeo y del Consejo, de 9 de marzo de 2016, o 25 quater del Reglamento (UE) 2023/1230 del Parlamento Europeo y del Consejo, de 14 de junio de 2023, según corresponda, incluirán, al menos en castellano, en el producto o embalaje la información relativa a que el producto ha sido autorizado por el Ministerio de Industria y Turismo, junto con la referencia a la resolución por la que se concede dicha autorización. La autorización podrá establecer requisitos para modificar el contenido y presentación de dicha información.

c) Los productos para los que la autoridad competente a la que hacen referencia los párrafo 1.º a 3.º del apartado 1.b) haya reconocido la validez de la autorización concedida en otro Estado miembro de conformidad con el apartado 2 y que no hayan sido objeto del acto de ejecución al que se refiere el apartado 2 o el 3 de los artículos 43 quater del Reglamento (UE) 2016/424 del Parlamento Europeo y del Consejo, de 9 de marzo de 2016, 41 quater del Reglamento (UE) 2016/425 del Parlamento Europeo y del Consejo, de 9 de marzo de 2016, 40 quater del Reglamento (UE) 2016/426 del Parlamento Europeo y del Consejo, de 9 de marzo de 2016, o 25 quater del Reglamento (UE) 2023/1230 del Parlamento Europeo y del Consejo, de 14 de junio de 2023, según corresponda, llevarán, al menos en castellano, la información indicada en la resolución por la que se reconoce la validez de dicha autorización.

d) Los productos para los que la Dirección General de Estrategia Industrial y de la Pequeña y Mediana Empresa del Ministerio de Industria y Turismo haya reconocido la validez de la autorización concedida en otro Estado miembro de conformidad con el apartado 2 y que no hayan sido objeto del acto de ejecución al que se refiere el apartado 2 o el 3 del artículos 43 quater del Reglamento (UE) 2016/424 del Parlamento Europeo y del Consejo, de 9 de marzo de 2016, 41 quater del Reglamento (UE) 2016/425 del Parlamento Europeo y del Consejo, de 9 de marzo de 2016, 40 quater del Reglamento (UE) 2016/426 del Parlamento Europeo y del Consejo, de 9 de marzo de 2016, o 25 quater del Reglamento (UE) 2023/1230 del Parlamento Europeo y del Consejo, de 14 de junio de 2023, según corresponda, incluirán, al menos en castellano, en el producto o embalaje la información relativa a que el producto ha sido autorizado en otro Estado miembro y que dicha autorización ha sido reconocida por el Ministerio de Industria y Turismo, junto con la referencia a la resolución por la que se concede dicho reconocimiento. La resolución por la que se reconoce la autorización concedida en otro Estado miembro podrá establecer requisitos para modificar el contenido y presentación de dicha información.

Disposición adicional tercera. Procedimiento para el otorgamiento de autorizaciones de excepción de competencia de la Dirección General de Estrategia Industrial y de la Pequeña y Mediana Empresa del Ministerio de Industria y Turismo.

1. Los procedimientos de excepción contemplados en el Real Decreto 212/2002, de 22 de febrero, el Real Decreto 1644/2008, de 10 de octubre, el Real Decreto 1388/2011, de 14 de octubre, el Real Decreto 709/2015, de 24 de julio, el Real Decreto 108/2016, de 18 de marzo, el Real Decreto 144/2016, de 8 de abril, el Real Decreto 186/2016, de 6 de mayo, el Real Decreto 187/2016, de 6 de mayo, y el Real Decreto 203/2016, de 20 de mayo, para los productos específicos enumerados en el acto de ejecución a que se refiere el artículo 28 del Reglamento (UE) 2024/2747 del Parlamento Europeo y del Consejo, de 9 de octubre de 2024, en lo que respecta a los productos regulados por dichos reales decretos, y cuya autorización corresponda a la Dirección General de Estrategia Industrial y de la Pequeña y Mediana Empresa del Ministerio de Industria y Turismo, se regirán por lo indicado en los siguientes apartados.

2. Las solicitudes de excepción, junto con toda la documentación justificativa que acredite el cumplimiento de los requisitos esenciales aplicables de los productos o equipos para los que se solicita la autorización, así como la justificación de la necesidad de dicha autorización, deberán presentarse por medios electrónicos ante la Dirección General de Estrategia Industrial y de la Pequeña y Mediana Empresa del Ministerio de Industria y Turismo, a través del registro electrónico accesible en la sede electrónica de dicho Ministerio.

3. Si la Dirección General de Estrategia Industrial y de la Pequeña y Mediana Empresa considera que la documentación justificativa es insuficiente para demostrar el cumplimiento de los requisitos esenciales aplicables, requerirá al operador económico interesado para que aporte la documentación necesaria en el plazo y con los efectos indicados en los artículos 22.1.a) y 68.1 de la Ley 39/2015, de 1 de octubre, del Procedimiento Administrativo Común de las Administraciones Públicas.

4. Recibida la solicitud y documentación referida en los apartados anteriores, la Dirección General de Estrategia Industrial y de la Pequeña y Mediana Empresa remitirá la documentación asociada a las autoridades de vigilancia del mercado de las comunidades autónomas a través de los grupos de trabajo correspondientes de la Conferencia Sectorial de Industria y PYME en el plazo máximo de 5 días hábiles.

5. El grupo de trabajo correspondiente deberá reunirse en un plazo máximo de 10 días hábiles desde la remisión, por parte de la Dirección General de Estrategia Industrial y de la Pequeña y Mediana Empresa, de la información indicada en el apartado 2 y, en su caso, en el apartado 3, con el fin de evaluar la solicitud presentada y emitir un dictamen al respecto, que podrá incluir recomendaciones específicas relativas, entre otros, a los siguientes aspectos:

a) Los procedimientos mediante los cuales el fabricante demuestra con éxito el cumplimiento de los requisitos esenciales aplicables, incluidos los posibles ensayos o pruebas a realizar;

b) Los requisitos específicos relativos a la trazabilidad del producto de que se trate;

c) Los requisitos específicos relativos a la necesidad de garantizar la evaluación continua de la conformidad del producto de que se trate;

d) Las medidas que deban tomarse al expirar o desactivarse el modo de emergencia del mercado interior con respecto al producto de que se trate que se ha introducido en el mercado o, en su caso, puesto en servicio o utilizado por el fabricante para sus propios fines.

e) La necesidad o no de la mencionada autorización, valorando, de forma no limitativa, si las perturbaciones en el mercado interior han afectado a los organismos de evaluación de la conformidad o si las capacidades de ensayo de los productos designados como bienes pertinentes para crisis resultan insuficientes.

6. Si el grupo de trabajo correspondiente considerase que la documentación justificativa es insuficiente para demostrar el cumplimiento de los requisitos esenciales aplicables, o fuera necesario la realización de pruebas o ensayos, la Dirección General de Estrategia Industrial y de la Pequeña y Mediana Empresa podrá requerir al operador económico interesado que aporte documentación complementaria de acuerdo con el procedimiento fijado en el apartado 3.

En caso de que, de acuerdo con lo indicado en el párrafo anterior, sea necesario la realización de pruebas o ensayos, se suspenderá el plazo indicado en el apartado 3 durante el tiempo necesario para la realización de las mencionadas pruebas o ensayos.

Recibida la documentación indicada en los párrafos anteriores, la Dirección General de Estrategia Industrial y de la Pequeña y Mediana Empresa remitirá la misma en el plazo máximo de 2 días hábiles al grupo de trabajo correspondiente de la Conferencia Sectorial de Industria y PYME quién deberá reunirse en el plazo máximo de 5 días hábiles para la evaluación de la documentación y la emisión de un dictamen definitivo de acuerdo con lo indicado en el apartado 5.

7. La Dirección General de Estrategia Industrial y de la Pequeña y Mediana Empresa deberá tomar en cuenta dicho dictamen, que tendrá carácter no vinculante, y emitir resolución motivada en el plazo máximo de 5 días hábiles desde la emisión del mismo.

8. Cuando la Dirección General de Estrategia Industrial y de la Pequeña y Mediana Empresa considere oportuno el reconocimiento de las autorizaciones concedidas en otros Estados miembros, de acuerdo con lo indicado en el Real Decreto 212/2002, de 22 de febrero, el Real Decreto 1644/2008, de 10 de octubre, el Real Decreto 1388/2011, de 14 de octubre, el Real Decreto 709/2015, de 24 de julio, el Real Decreto 108/2016, de 18 de marzo, el Real Decreto 144/2016, de 8 de abril, el Real Decreto 186/2016, de 6 de mayo, el Real Decreto 187/2016, de 6 de mayo, o el Real Decreto 203/2016, de 20 de mayo, para los productos específicos enumerados en el acto de ejecución a que se refiere el artículo 28 del Reglamento (UE) 2024/2747 del Parlamento Europeo y del Consejo, de 9 de octubre de 2024, en lo que respecta a los productos regulados por dichos reales decretos, seguirá el procedimiento indicado en los apartados 4 a 7 anteriores, con las siguientes excepciones:

a) Una vez recabada la información necesaria del Estado miembro que emitió la autorización, se iniciará el procedimiento remitiendo dicha información a las autoridades de vigilancia del mercado de las comunidades autónomas de acuerdo con lo indicado en el apartado 4.

b) Los posibles requerimientos de información contemplados en el apartado 6 se realizarán al operador económico al que se ha concedido la autorización mencionada.

c) Pondrá fin al procedimiento de reconocimiento la resolución del mismo o la publicación en el «Diario Oficial de la Unión Europea» del acto de ejecución adoptado por la Comisión Europea por el que se reconozca la validez de la autorización concedida en otro Estado miembro a todo el territorio de la Unión.

9. Por razones imperiosas de urgencia debidamente justificadas relacionadas con la necesidad de preservar la salud y la seguridad de las personas, la Dirección General de Estrategia Industrial y de la Pequeña y Mediana Empresa podrá resolver, de manera urgente, los procedimientos a los que se refieren los apartados 1 y 8 omitiendo los trámites indicados en los apartados 4 a 7.

Una vez resueltos los procedimientos correspondientes, la Dirección General de Estrategia Industrial y de la Pequeña y Mediana Empresa dará traslado a las autoridades de vigilancia del mercado de las comunidades autónomas a través de los grupos de trabajo correspondientes de la Conferencia Sectorial de Industria y PYME en el plazo máximo de 2 días hábiles, para recabar el dictamen al que hacen referencia los apartados 5 y 6, en los plazos y con el procedimiento indicado en los mismos.

Recabado dicho dictamen, la Dirección General de Estrategia Industrial y de la Pequeña y Mediana Empresa podrá anular o modificar la resolución indicada en el párrafo primero de este apartado.

10. Contra las resoluciones de la Dirección General de Estrategia Industrial y de la Pequeña y Mediana Empresa indicadas en los apartados 7 a 9 podrá interponerse recurso de alzada ante la Secretaria de Estado de Industria, de conformidad con lo establecido en los artículos 121 y 122 de la Ley 39/2015, de 1 de octubre.

11. El transcurso de los plazos previstos en los apartados anteriores sin que se hubiera notificado resolución expresa producirá los siguientes efectos:

a) Los efectos previstos en el artículo 25 de la Ley 39/2015, de 1 de octubre, en los procedimientos iniciados de oficio relativos el reconocimiento de las autorizaciones concedidas en otros Estados miembros.

b) La desestimación por silencio administrativo de la solicitud, si el procedimiento se hubiera iniciado a instancia del interesado, pudiendo interponerse los recursos que resulten procedentes de acuerdo con el apartado anterior.

Disposición adicional cuarta. Productos sujetos a más de un acto legislativo de la Unión Europea.

Cuando un producto que ha sido designado como bien pertinente para crisis de conformidad con el apartado 4 del artículo 18 del Reglamento (UE) 2024/2747 del Parlamento Europeo y del Consejo, de 9 de octubre de 2024, esté sujeto a más de un acto de la Unión Europea que prevea la posibilidad de excepción a los procedimientos de evaluación de la conformidad que requieren la participación obligatoria de un organismo notificado, la autorización correspondiente será única y cubrirá todos los actos de la Unión Europea aplicables.

Disposición adicional quinta. Instalación de productos declarados como bienes pertinentes para crisis.

1. Se entenderán cumplidos los requisitos relativos al marcado «CE» y a la declaración de conformidad establecidos en los reglamentos nacionales de seguridad industrial para la instalación y puesta en servicio de los productos designados como bienes pertinentes para crisis con arreglo al apartado 4 del artículo 18 del Reglamento (UE) 2024/2747 del Parlamento Europeo y del Consejo, de 9 de octubre de 2024, que hayan sido introducidos en el mercado o puestos en servicio en virtud de una autorización de excepción a los procedimientos de evaluación de la conformidad que requieren la participación obligatoria de un organismo notificado.

2. En el caso de productos designados como bienes pertinentes para crisis con arreglo al apartado 4 del artículo 18 del Reglamento (UE) 2024/2747 del Parlamento Europeo y del Consejo, de 9 de octubre de 2024, que hayan sido introducidos en el mercado o puestos en servicio en virtud de una autorización de excepción emitida por una comunidad autónoma para la instalación y utilización del producto en una ubicación específica, lo indicado en el apartado anterior aplicará únicamente para dicha instalación.

3. La aplicación de los apartados anteriores se entenderá sin perjuicio de las medidas incluidas en los actos de ejecución que pueda adoptar la Comisión Europea en virtud del apartado 4 del artículo 17 bis de la Directiva 2000/14/CE del Consejo y del Parlamento Europeo, de 8 de mayo, del apartado 4 del artículo 21 ter de la Directiva 2006/42/CE del Parlamento Europeo y del Consejo, de 17 de mayo de 2006, del apartado 4 del artículo 33 bis de la Directiva 2010/35/UE del Parlamento Europeo y del Consejo, de 16 de junio de 2010, del apartado 4 del artículo 43 bis de la Directiva 2014/68/UE del Parlamento Europeo y del Consejo, de 15 de mayo de 2014, del apartado 4 del artículo 38 bis de la Directiva 2014/29/UE del Parlamento Europeo y del Consejo, de 26 de febrero de 2014, del apartado 4 del artículo 38 bis de la Directiva 2014/34/UE del Parlamento Europeo y del Consejo, de 26 de febrero de 2014, del apartado 4 del artículo 41 bis de la Directiva 2014/33/UE del Parlamento Europeo y del Consejo, de 26 de febrero de 2014, del apartado 4 del artículo 43 bis del Reglamento (UE) 2016/424 del Parlamento Europeo y del Consejo, de 9 de marzo de 2016, del apartado 4 del artículo 41 bis del Reglamento (UE) 2016/425 del Parlamento Europeo y del Consejo, de 9 de marzo de 2016, del apartado 4 del artículo 40 bis del Reglamento (UE) 2016/426 del Parlamento Europeo y del Consejo, de 9 de marzo de 2016, o del apartado 4 del artículo 25 bis del Reglamento (UE) 2023/1230 del Parlamento Europeo y del Consejo, de 14 de junio de 2023, así como de las medidas que, de acuerdo con la autorización a la que hacen referencia los apartados 1 y 2 de la presente disposición, deban adoptarse al expirar o desactivarse el modo de emergencia del mercado interior con respecto a los bienes cubiertos por dichas autorizaciones.

Disposición adicional sexta. Aplicación de los procedimientos de emergencia.

1. Las disposiciones adicionales primera a cuarta serán de aplicación en el momento en que la Comisión Europea haya adoptado un acto de ejecución con arreglo al artículo 28 del Reglamento (UE) 2024/2747 del Parlamento Europeo y del Consejo, de 9 de octubre de 2024, con respecto a los productos regulados por el Reglamento (UE) 2016/424 del Parlamento Europeo y del Consejo, de 9 de marzo de 2016, el Reglamento (UE) 2016/425 del Parlamento Europeo y del Consejo, de 9 de marzo de 2016, el Reglamento (UE) 2016/426 del Parlamento Europeo y del Consejo, de 9 de marzo de 2016, y el Reglamento (UE) 2023/1230 del Parlamento Europeo y del Consejo, de 14 de junio de 2023, según corresponda.

2. Los efectos de dichas disposiciones se desplegarán únicamente mientras dure el modo de emergencia del mercado interior que se haya activado de conformidad con el artículo 18 del Reglamento (UE) 2024/2747 del Parlamento Europeo y del Consejo, de 9 de octubre de 2024 y se aplicarán únicamente a los productos incluidos en el ámbito de aplicación de los actos legislativos a los que refiere el apartado anterior y que hayan sido designados como bienes pertinentes para crisis con arreglo al apartado 4 del artículo 18 del citado reglamento.

3. Sin perjuicio de lo indicado en el apartado anterior, lo indicado en la disposición adicional quinta seguirá siendo de aplicación tras la expiración o desactivación del modo de emergencia del mercado interior.

Disposición final primera. Título competencial.

Este real decreto se dicta al amparo de lo dispuesto en el artículo 149.1.13.ª de la Constitución Española, que atribuye al Estado la competencia exclusiva sobre bases y coordinación de la planificación general de la actividad económica.

Adicionalmente, el artículo 7 se dicta también al amparo de lo dispuesto en el artículo 149.1.21.ª de la Constitución Española, que atribuye al Estado la competencia exclusiva en materia de telecomunicaciones.

La citada competencia estatal en materia de telecomunicaciones sirve de fundamento a este real decreto en la medida en que sus normas resultan aplicables a los equipos de telecomunicación que no sean radioeléctricos.

Disposición final segunda. Habilitación para el desarrollo normativo.

Se habilita al Ministro de Industria y Turismo para dictar, en el ámbito de sus competencias, cuantas disposiciones sean necesarias para el desarrollo de este real decreto.

Disposición final tercera. Incorporación de Derecho de la Unión Europea.

1. Mediante este real decreto se incorporan al Derecho español los artículo 1 a 8 y el artículo 10 de la Directiva (UE) 2024/2749 del Parlamento Europeo y del Consejo, de 9 de octubre de 2024, que modifica las Directivas 2000/14/CE, 2006/42/CE, 2010/35/UE, 2014/29/UE, 2014/30/UE, 2014/33/UE, 2014/34/UE, 2014/35/UE, 2014/53/UE y 2014/68/UE por lo que respecta a los procedimientos de emergencia para la evaluación de la conformidad, la presunción de conformidad, la adopción de especificaciones comunes y la vigilancia del mercado debidos a una emergencia del mercado interior.

2. Mediante este real decreto se incorpora al Derecho español el artículo 2 la Directiva (UE) 2024/2839 del Parlamento Europeo y del Consejo, de 23 de octubre de 2024, por la que se modifican las Directivas 1999/2/CE, 2000/14/CE, 2011/24/UE y 2014/53/UE en lo que respecta a determinadas obligaciones de presentación de información en los ámbitos de los alimentos y los ingredientes alimentarios, el ruido al aire libre, los derechos de los pacientes y los equipos radioeléctricos.

3. Mediante este real decreto se incluyen disposiciones para la correcta aplicación del Reglamento (UE) 2024/2748 del Parlamento Europeo y del Consejo, de 9 de octubre de 2024, que modifica los Reglamentos (UE) n.º 305/2011, (UE) 2016/424, (UE) 2016/425, (UE) 2016/426, (UE) 2023/988 y (UE) 2023/1230 por lo que respecta a los procedimientos de emergencia para la evaluación de la conformidad, la presunción de conformidad, la adopción de especificaciones comunes y la vigilancia del mercado debidos a una emergencia del mercado interior, en lo que se refiere a las modificaciones llevadas a cabo en el Reglamento (UE) 2016/424 del Parlamento Europeo y del Consejo, de 9 de marzo de 2016, el Reglamento (UE) 2016/425 del Parlamento Europeo y del Consejo, de 9 de marzo de 2016, el Reglamento (UE) 2016/426 del Parlamento Europeo y del Consejo, de 9 de marzo de 2016, y el Reglamento (UE) 2023/1230 del Parlamento Europeo y del Consejo, de 14 de junio de 2023.

Disposición final cuarta. Entrada en vigor.

El presente real decreto entrará en vigor el 30 de mayo de 2026, salvo por lo indicado en el siguiente párrafo.

Los cardinales dos y cinco del artículo primero entrarán en vigor al día siguiente de su publicación en el «Boletín Oficial del Estado».

Dado el 8 de abril de 2026.

FELIPE R.

El Ministro de Industria y Turismo,

JORDI HEREU BOHER

ANÁLISIS

  • Rango: Real Decreto
  • Fecha de disposición: 08/04/2026
  • Fecha de publicación: 10/04/2026
  • Fecha de entrada en vigor: 30/05/2026
  • Entrada en vigor: 30 de mayo de 2026, con la excepción indicada en la disposición final 4 que lo hará el 11 de abril de 2026.
Referencias anteriores
  • MODIFICA:
    • el art. 2 y AÑADE el capítulo VII al Real Decreto 203/2016, de 20 de mayo (Ref. BOE-A-2016-4953).
    • el art. 2 y AÑADE el capítulo VI al Real Decreto 187/2016, de 6 de mayo (Ref. BOE-A-2016-4443).
    • el art. 3.1 y AÑADE el capítulo VII al Real Decreto 186/2016, de 6 de mayo (Ref. BOE-A-2016-4442).
    • el art. 2 y AÑADE el capítulo VII al Real Decreto 144/2016, de 8 de abril (Ref. BOE-A-2016-3539).
    • el art. 2 y AÑADE el capítulo VII al Real Decreto 108/2016, de 18 de marzo (Ref. BOE-A-2016-2827).
    • el art. 2 y AÑADE el capítulo VII al Real Decreto 709/2015, de 24 de julio (Ref. BOE-A-2015-9527).
    • el art. 2 y AÑADE el capítulo VI al Real Decreto 1388/2011, de 14 de octubre (Ref. BOE-A-2011-16174).
    • el art. 2.2 y AÑADE el capítulo VII del Real Decreto 1644/2008, de 10 de octubre (Ref. BOE-A-2008-16387).
    • el art. 3, AÑADE los capítulos I y II y, con efectos desde el 11 de abril de 2026, SUSTITUYE el anexo III y SUPRIME el art. 17 del Real Decreto 212/2002, de 22 de febrero (Ref. BOE-A-2002-4099).
  • TRANSPONE:
  • DE CONFORMIDAD con:
Materias
  • Comunidades Autónomas
  • Construcciones
  • Contaminación acústica
  • Jardinería
  • Maquinaria
  • Normalización
  • Obras
  • Políticas de medio ambiente
  • Ruidos
  • Seguridad industrial

subir

Agencia Estatal Boletín Oficial del Estado

Avda. de Manoteras, 54 - 28050 Madrid