Edukia ez dago euskaraz

Zu hemen zaude

Documento BOE-A-1976-49999

Reglamento nacional para el transporte de mercancías peligrosas por carretera, aprobado por Decreto 1754/1976, de 6 de febrero. (Continuación.)

Publicado en:
«BOE» núm. 185, de 3 de agosto de 1976, páginas 15001 a 15010 (10 págs.)
Sección:
I. Disposiciones generales
Departamento:
Presidencia del Gobierno
Referencia:
BOE-A-1976-49999

TEXTO ORIGINAL

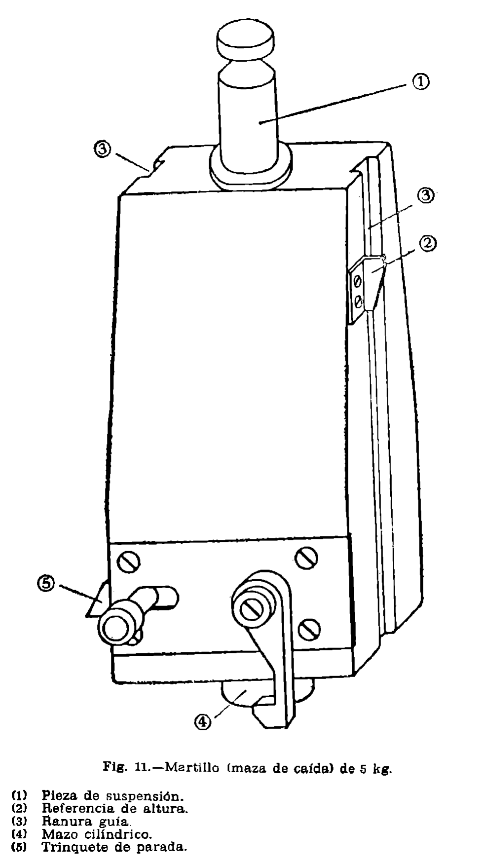
El dispositivo de percusión se colocará en un yunque intermedio de 26 milímetros de diámetro y de 26 milímetros de altura y se coloca en su posición mediante un anillo centrador provisto de una corona con aberturas que permitan el escape de los gases (figs. 11 y 12). Los cilindros se utilizan únicamente una vez por cada base. En caso de explosión, el anillo de guiado no volverá a utilizarse.

5) Preparación de las muestras:

Las materias explosivas se ensayarán en estado seco. Las materias del marginal 2101, 11 al 14, se ensayarán en su estado de entrega, siempre que su contenido de agua corresponda al valor efectivo indicado por el fabricante.

Si el contenido de agua es más elevado, las mezclas deberán secarse antes del ensayo, hasta el porcentaje de humedad correspondiente.

Además, para las materias sólidas, excepto las pastosas, se observará lo siguientes:

a) Las materias pulverulentas se tamizarán (malla de tamiz 0,5 mm); todo lo que pasa a través del tamiz se utiliza para el ensayo.

b) Las materias comprimidas, fundidas o aglomeradas de otro modo, se reducen a trocitos, y se tamizan; se utiliza para el ensayo la porción tamizada de 0,5 a 1 milímetro.

6) Ejecución del ensayo:

Para las materias pulverulentas se medirá una muestra con ayuda de una probeta cilíndrica de 40 mm3 (perforación de 37 x 3.7 mm.). Para las materias pastosas se empleará un tubo cilíndrico del mismo volumen que se introducirá en la masa. Después de enrasar la probeta, la muestra se extrae por medio de un palillo de madera. Para las materias explosivas liquidas se utiliza una pipeta de 40 mm3 finamente estirada.

La muestra se colocará en el dispositivo de percusión abierto, que se encuentra sobre el yunque intermedio con el anillo de centrado y, para las materias pulverulentas o pastosas, el cilindro superior de acero se empujará ligeramente con el dedo índice, con precaución, hasta tocar la muestra, pero sin aplastarla.

Para las materias liquidas, el cilindro superior de acero se empujará con ayuda de la varilla móvil de un calibrador hasta una distancia de un milímetro del cilindro inferior y se mantendrá en esta situación por medio de un anillo de caucho, colocado con anterioridad sobre él (figura 13).

El dispositivo se colocará centrado, sobre el yunque, se cerrará la capa de protección de madera y una vez suspendido el martillo a la altura prevista se soltará; accionándose a continuación el dispositivo de aspiración. La prueba se efectuará seis veces para cada altura de caída.

7) Interpretación de los resultados:

En la apreciación de los resultados de ensayo de sensibilidad al choque, hay que distinguir entre «ninguna reacción», «descomposición» (sin llama ni detonación reconocible por la coloración o el olor) y «explosión» (con detonación de débil a fuerte) (*). Para medir la sensibilidad al choque de una materia se determinará el peso del martillo en kilogramos y la altura de caída más baja en centímetros, en la cual se produce, por lo menos, una explosión en el transcurso de seis ensayos, así como la energía de choque resultante expresada en kgm. La sensibilidad al choque de una materia será tanto mayor cuanto menor sea la energía del choque correspondiente, expresada en kgm.

(*) Con ciertas materias se obtiene una «inflamación sin ruido de explosión». Esta reacción se considera no obstante como explosión (designada entre comillas), porque implica toda la muestra y porque en idénticas condiciones puede producirse la explosión.

3156. Ensayos de sensibilidad al frotamiento (véase los marginales 3103 al 3110 y 3112).

a) Prueba de frotamiento en un mortero de porcelana.

1) El explosivo se secará con cloruro cálcico. Se comprimirá y se triturará una muestra del explosivo en un mortero de porcelana no barnizado, con una mano de mortero igualmente sin barnizar El mortero y la mano de mortero tendrán una temperatura de 10 grados, superior, aproximadamente, a la temperatura ambiente (15° a 30° C).

2) Los resultados de la prueba se compararán con los obtenidos con el explosivo de comparación, distinguiéndose:

1. Ningún efecto.

2. Débiles crepitaciones aisladas.

3. Crepitaciones frecuentes o crepitaciones aisladas muy enérgicas.

3) Los explosivos que en el ensayo den el resultado Indicado en el caso 1 se considerarán prácticamente insensibles al frotamiento; moderadamente sensibles, si dan el resultado mencionado en el caso 2; y muy sensibles cuando den el resultado mencionado en el caso 3.

APENDICE A.1
Prueba de combustión

Según el marginal 3154 c)

Imagen: /datos/imagenes/disp/1976/185/49999_12135612_image1.png

b) Ensayo con el aparato de frotamiento (figs. 14 y 15).

1) El ensayo indicado en el apartado a) puede reemplazarse por la prueba siguiente:

2) Descripción del aparato:

El aparato de frotamiento se compone de un basamento de acero colado, sobre el cual se montará el dispositivo de frotamiento propiamente dicho, constituido por un cilindro fijo, de porcelana, y una plaquita móvil también de porcelana (figura 14) (*). La placa de porcelana se fija a un carro, dirigido por dos guiaderas. Un motor eléctrico conectado por un interruptor de presión acciona el carro a través de una biela, una excéntrica y un engranaje, de tal modo que la plaquita de porcelana ejecuta bajo el cilindro de porcelana un solo movimiento de vaivén de 10 milímetros de longitud. El portacilindro gira alrededor de un eje para permitir el cambio del cilindro, y se prolonga por un brazo de palanca con seis entalladuras para suspensión de un peso. El equilibrio en la posición cero (sin peso) se realiza con un contrapeso. Cuando el portacilindro se coloca sobre la plaquita de porcelana, el eje longitudinal del cilindro es perpendicular a dicha plaquita. Uno de los pesos se suspende por intermedio de un, anillo con gancho en la entalladura prevista; la carga sobre el cilindro pueda variar desde 0,5 a 36 kilogramos.

(*) Con ciertas materias se obtiene una «inflamación sin ruido de explosión» Esta reacción se considera no obstante como explosión (designada entre comillas), porque implica toda la muestra y porque en condiciones Idénticas puede producirse la explosión.

APENDICE A.1
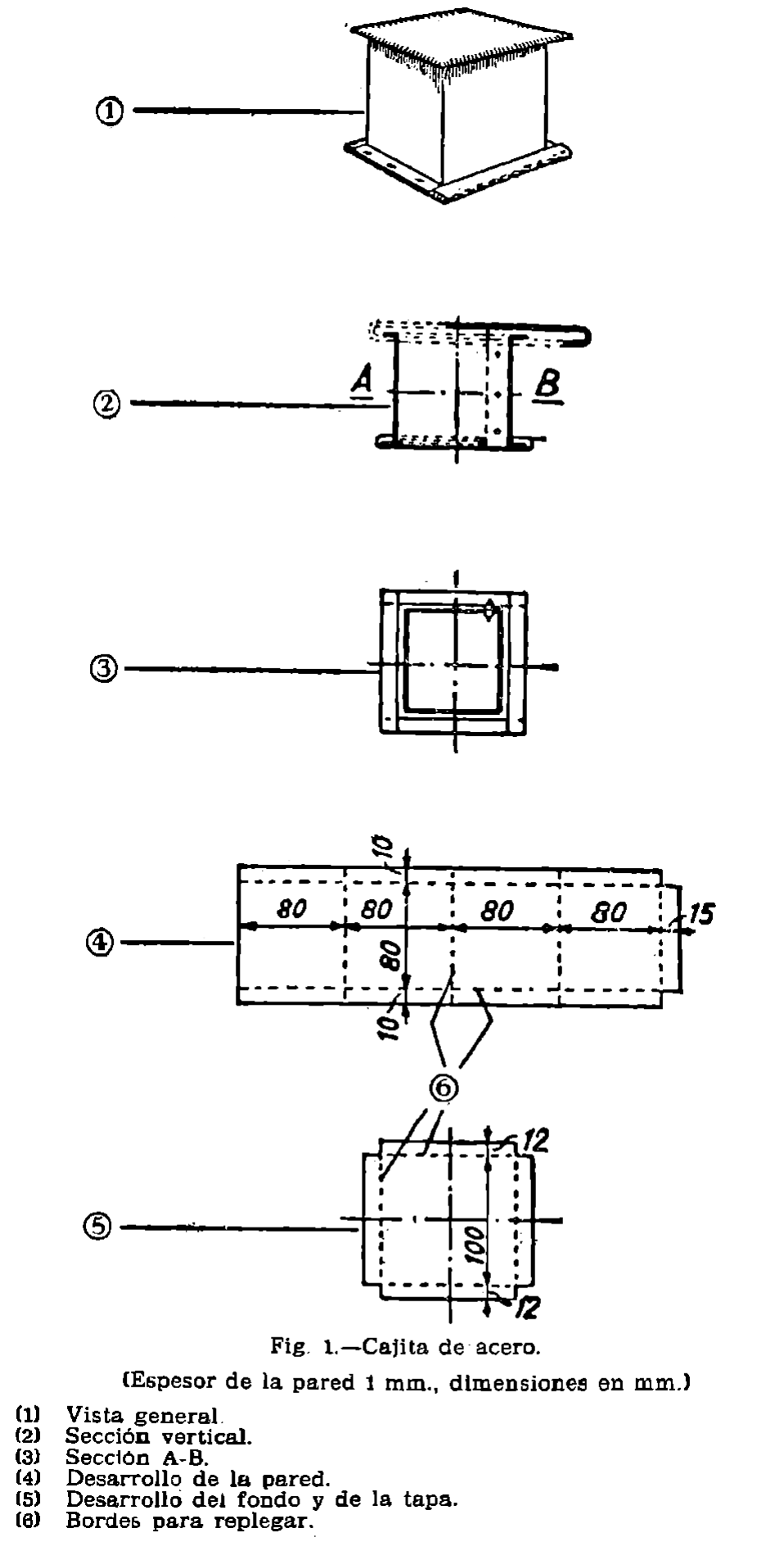
Prueba de calentamiento en una vaina de acero con disco de orificio calibrado

Según el marginal 3154 d)

Imagen: /datos/imagenes/disp/1976/185/49999_12135612_image2.png

3) Descripción de la plaquita y del cilindro de porcelana:

Las plaquitas se fabrican en porcelana industrial blanca pura y tienen las siguientes dimensiones: 25 X 25 x 5 milímetros. Las dos superficies de frotamiento se hacen fuertemente rugosas por frotamiento con una esponja antes de la cocción. Las huellas de la esponja son netamente visibles.

Los cilindros son igualmente de porcelana industrial blanca; tienen una longitud de 15 milímetros, un diámetro de 10 milímetros y superficies terminales rugosas, redondeadas con un radio de curvatura de 10 milímetros.

APENDICE A.1
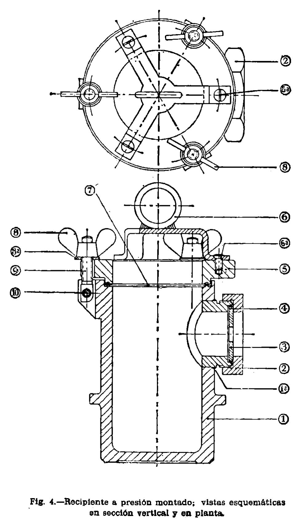
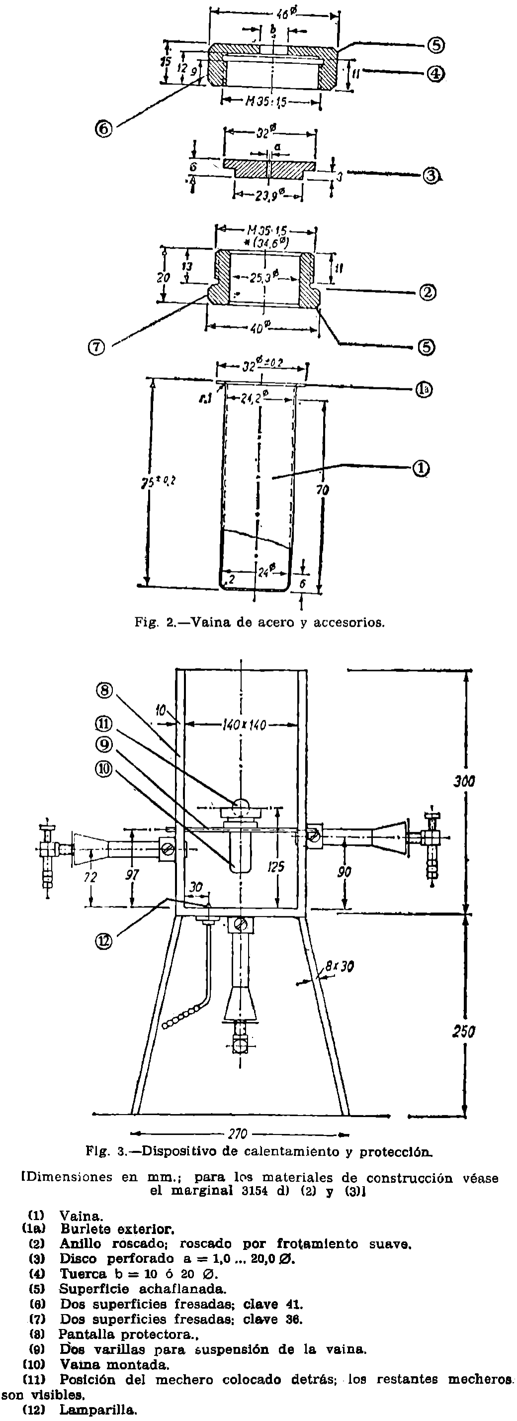
Prueba de calentamiento en un recipiente a presión con disco de orificio central y membrana

Según el marginal 3154 e)

Imagen: /datos/imagenes/disp/1976/185/49999_12135612_image3.png

Imagen: /datos/imagenes/disp/1976/185/49999_12135612_image4.png

En la «Bundesanstalt für Materialprüfung», Berlín-Dahlem –que puede suministrar la dirección de los fabricantes–, hay depositadas muestras de los cilindros y placas de porcelana de' la calidad descrita anteriormente.

Como la condición esencial para la reacción de la materia explosiva es que la rugosidad natural de las plaquitas y de los cilindros esté intacta, cada superficie debe utilizarse solamente una vez. En consecuencia, las dos superficies terminales de cada cilindro de porcelana sólo sirven para dos pruebas; las dos superficies de frotamiento de una placa servirán para tres a seis pruebas cada una, aproximadamente.

4) Preparación de las muestras:

Las materias explosivas se ensayarán en estado seco. Las materias del marginal 2021, 11 al 14, se ensayarán en el estado en que se entreguen, siempre que su contenido en agua corresponda al valor efectivo indicado por el fabricante. Si el contenido en agua es más elevado, las mezclas deberán secarse antes del ensayo hasta el índice de humedad indicado.

APENDICE A.1
Prueba de calentamiento en un recipiente a presión con disco de orificio central y membrana

Según el marginal 3154 e)

Imagen: /datos/imagenes/disp/1976/185/49999_12135612_image5.png

Por otra parte, para las materias sólidas, exceptuadas las pastosas, se observará lo siguiente:

a) Las materias pulverulentas se tamizarán (abertura de la malla del tamiz 0,5 mm.); todo lo que pase a través del tamiz se utilizará en el ensayo.

b) Las materias comprimidas, fundidas o aglomeradas por otro sistema, se reducirán a pequeños trozos y se tamizarán, lo que pase a través de un tamiz de abertura de malla de 0,5 milímetros se utilizará para el ensayo.

5) Ejecución de los ensayos:

Sobre el carro del aparato de frotamiento se fijará una plaquita de porcelana de manera que las huellas de la esponja sean transversales a la dirección del movimiento. La cantidad a ensayar, alrededor de 10 milímetros, se medirá para las materias pulverulentas, con ayuda de una probeta cilíndrica (2,3 Ø x 2,4 mm.); para las materias pastosas, con un tubo cilíndrico que se introducirá en la masa. Después de enrasar la probeta, la muestra se extraerá con un palillo de madera y se colocará sobre la plaquita de porcelana. Sobre la cantidad amontonada, se colocará el cilindro de porcelana sólidamente colgado como en la figura 15; se lastra el brazo de palanca con el peso previsto y se arranca el motor accionando el interruptor. Debe vigilarse que el cilindro esté sobre la muestra y que exista delante de él una cantidad suficiente de la materia a ensayar, para que quede debajo del cilindro en el momento del movimiento de la plaquita.

APENDICE A.1
Prueba del martinete de choque I

Según el marginal 3155 a)

Imagen: /datos/imagenes/disp/1976/185/49999_12135612_image6.png

6) Interpretación de los resultados:

En la apreciación de los resultados del ensayo hay que distinguir entré «ninguna reacción», «descomposición» (coloración, olor), «inflamación», «crepitación» y «explosión».

La medida relativa de la sensibilidad al frotamiento de una materia en el aparato descrito se expresará (sin tener en cuenta el coeficiente de frotamiento) por la menor carga sobre el cilindro, expresada en kilogramos, con la cual se producirá una inflamación, crepitación o explosión una vez' como mínimo en seis ensayos. Se admitirá que la inflamación y las crepitaciones son ya reacciones peligrosas. La sensibilidad al frotamiento de una materia explosiva es tanto mayor cuanto más pequeño es el valor resultante de la carga sobre el cilindro (peso de carga en relación con la longitud del brazo de palanca).

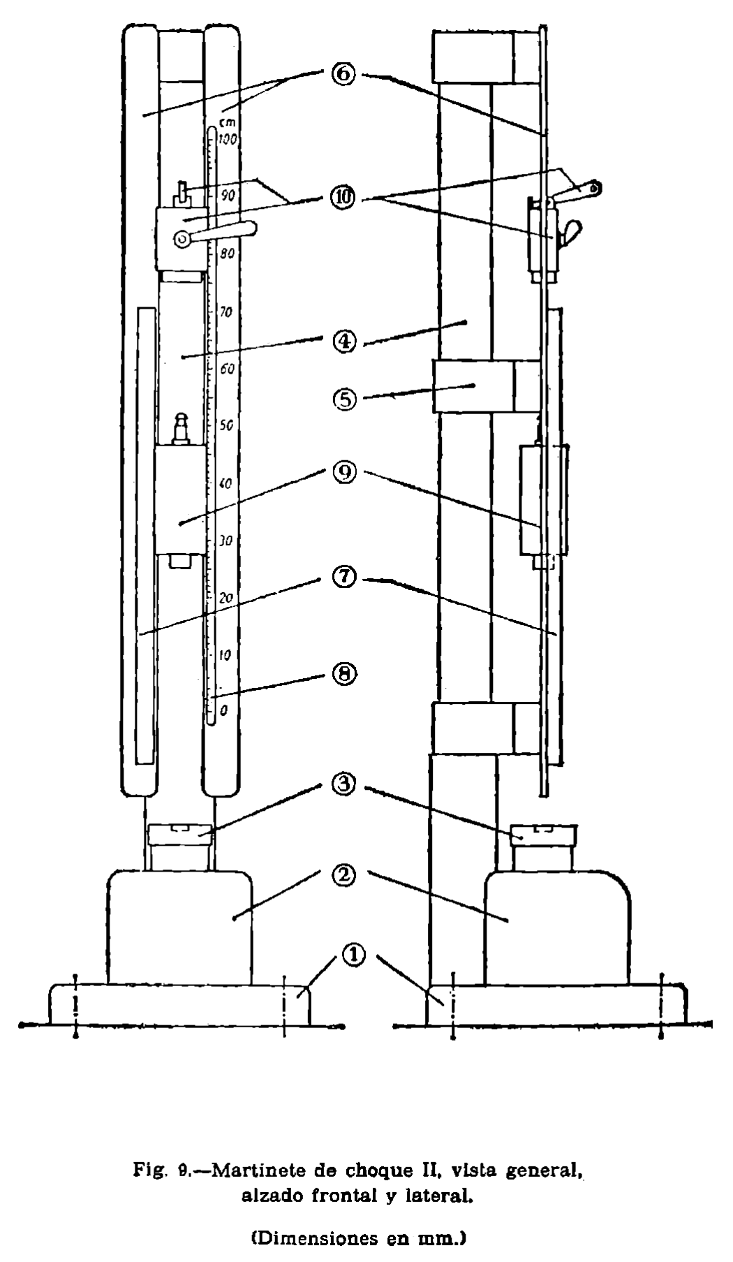
APENDICE A.1
Prueba del martinete de choque II

Según el marginal 3155 b)

Imagen: /datos/imagenes/disp/1976/185/49999_12135612_image7.png

Imagen: /datos/imagenes/disp/1976/185/49999_12135612_image8.png

Los líquidos explosivos y las materias de naturaleza pastosa no son en general sensibles al frotamiento en las condiciones de esta prueba, pues el calor mínimo de frotamiento producido no basta, como consecuencia del efecto de lubricación, para obtener la inflamación. Con estas materias la ausencia de reacción, no es un Índice de que la materia no sea peligrosa.

3157. La estabilidad de los productos indicados en el marginal 3111 se controlará siguiendo los métodos ordinarios de laboratorio.

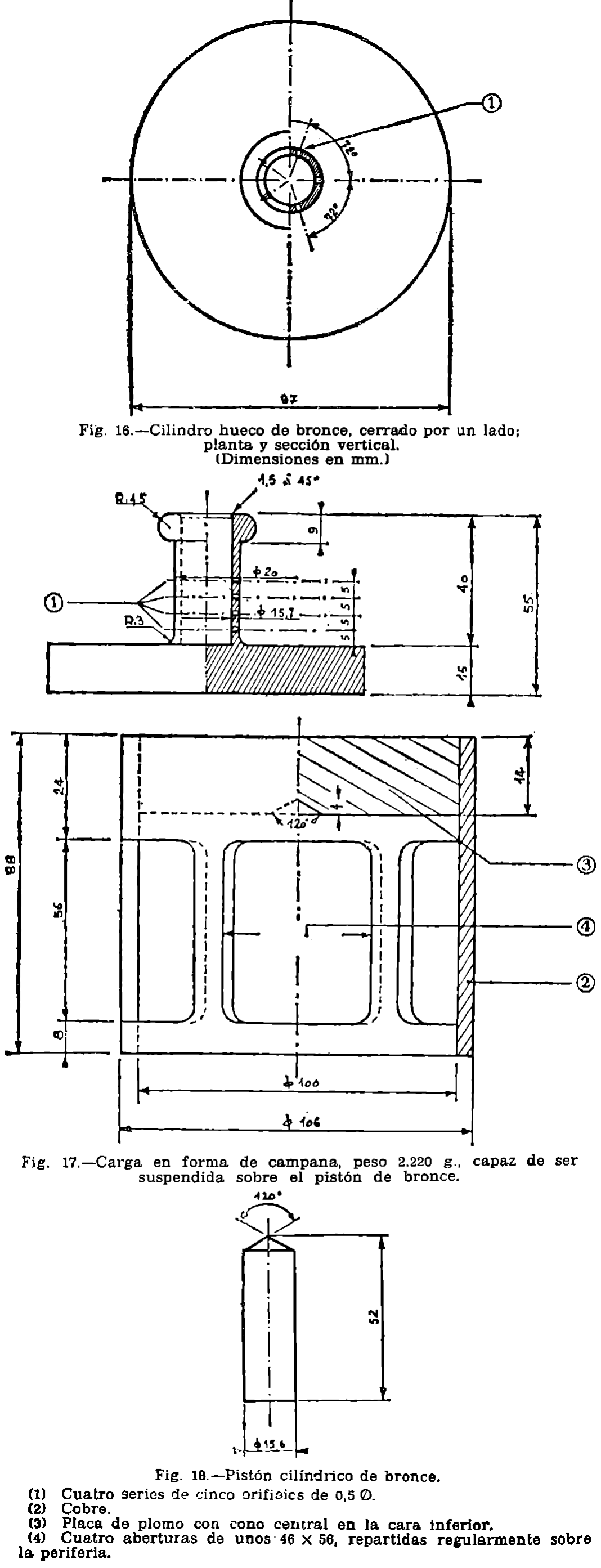
3158. Ensayos de exudación de las dinamitas (véase el marginal 3107).

1) El aparato para ensayo de exudación de dinamitas (figuras 16 a 18) se compone de un cilindro hueco, de bronce. Este cilindro, cerrado por su base con un platillo del mismo metal, tiene un diámetro interior de 15,7 milímetros y una profundidad de 40 milímetros. Se han taladrado en la periferia 20 orificios de 0,5 milímetros de diámetro (cuatro series de cinco orificios). En el cilindro dispuesto verticalmente se desliza un pistón de bronce cilíndrico en 48 milímetros y de una altura total de 52 milímetros; este pistón de un diámetro de 15,6 milímetros se carga con un peso de 2.220 gramos para producir una presión de 1,2 kg/cm2.

2) Con 5 a 8 gramos de dinamita se formará un pequeño chorizo de 30 milímetros de longitud y 15 milímetros de diámetro, que se envolverá en tela muy fina y se colocará en el cilindro; después se colocará encima el pistón y su sobrecarga, para someter a la dinamita a una presión de 1,2 kg/cm2.

Se anotará el tiempo al cabo del cual aparecen las primeras señales de gotitas aceitosas (nitroglicerina) en los orificios exteriores de los agujeros del cilindro.

3) La dinamita se considerará como satisfactoria si el tiempo transcurrido antes de que rezume liquido es superior a cinco minutos, siendo la temperatura, durante la prueba, 15° a 25° C.

APENDICE A.1
Prueba del martinete de choque II

Según el marginal 3155 b)

Imagen: /datos/imagenes/disp/1976/185/49999_12135612_image9.png

APENDICE A.1
Prueba del martinete de choque II

Según el marginal 3155 b)

Imagen: /datos/imagenes/disp/1976/185/49999_12135612_image10.png

APENDICE A.1
Prueba con el aparato de frotamiento

Según el marginal 3156 b)

Imagen: /datos/imagenes/disp/1976/185/49999_12135612_image11.png

Imagen: /datos/imagenes/disp/1976/185/49999_12135612_image12.png

APENDICE A.1
Ensayo de exudación de las dinamitas

Según el marginal 3158

Imagen: /datos/imagenes/disp/1976/185/49999_12135612_image13.png

APENDICE A.2
A. Recomendaciones relativas a la naturaleza de los recipientes de aleaciones de aluminio para ciertos gases de la clase 2

I. Calidad del material.

3200. 1) Los materiales de los recipientes de aleaciones de aluminio que admiten para los gases mencionados en el marginal 2203 (2) b), deberán satisfacer las siguientes condiciones:

Materiales para recipientes sometidos a una presión de prueba

Imagen: /datos/imagenes/disp/1976/185/49999_12135612_image14.png

Los valores intermedios se obtendrán consultando el diagrama del marginal 3203.

Notas:

1. Las características anteriores se basan en experiencias realizadas hasta la fecha con los materiales siguientes utilizados para los recipientes.

Presión de prueba hasta 30 kg/cm2: aleaciones de aluminio y de magnesio.

Presión de prueba hasta de 60 kg/cm2: aleaciones de aluminio, de silicio y de magnesio.

Presión de prueba desde 60 hasta 375 cm2: aleaciones de aluminio, cobre y magnesio.

2. El alargamiento a la rotura (1 = 5 d) se mide por medio de probetas de sección circular, cuya distancia entre referencias 1 es igual a cinco veces el diámetro d; en caso de emplear probetas de sección rectangular, la distancia entre referencia se calculará mediante la fórmula 1 = 5.65 √ F0, en la que F0 designa la sección primitiva de la probeta.

3. El coeficiente de plegado K se define en la forma siguiente:

MathML (base64):PG1hdGggbWF0aHNpemU9IjIwIj4KICAgIDxtaT5LPC9taT4KICAgIDxtaT48L21pPgogICAgPG1vPj08L21vPgogICAgPG1uPjUwPC9tbj4KICAgIDxtaT48L21pPgogICAgPG1mcmFjPgogICAgICAgIDxtcm93PgogICAgICAgICAgICA8bWk+czwvbWk+CiAgICAgICAgPC9tcm93PgogICAgICAgIDxtcm93PgogICAgICAgICAgICA8bWk+cjwvbWk+CiAgICAgICAgPC9tcm93PgogICAgPC9tZnJhYz4KPC9tYXRoPg==

donde s = espesor de la pared, en centímetros, y r = radio de curvatura medio, en centímetros. Para calcular el valor efectivo de K en las zonas de tracción exterior e interior, es preciso tener en cuenta el cofeficiente de plegado K0 en estado inicial (radio medio r0).

Si en caso de aparición de una fisura en la zona de tracción exterior (interior) el radio medio de curvatura es r1 (r2) centímetros en este lugar, el coeficiente de plegado K1 (K2) sirve para calcular los coeficientes de plegado determinantes en la forma siguiente:

Coeficiente Kexterior = k1 – k0 y coeficiente Kinterior = K2 + K0.

4. Los datos de resiliencia (resistencia a los choques) se refieren a la ejecución de las pruebas según las normas de la Sociedad suiza de constructores de máquinas VSM. número 10.925, de noviembre de 1950.

2) En lo concerniente a los valores del material indicados en (1) se admitirá las siguientes tolerancias: alargamiento a la rotura, menos 10 por 100 de las cifras indicadas en el cuadro anterior; coeficiente de plegado, menos 20 por 100; resiliencia, menos 30 por 100.

3) El espesor de la pared de los recipientes de aleaciones de aluminio en la parte más débil será el siguiente:

Cuando el diámetro del recipiente sea inferior a 50 milímetros, 1,5 milímetros, como mínimo.

Cuando el diámetro del recipiente sea de 50 a 150 milímetros, 2,0 milímetros, como mínimo.

Cuando el diámetro del recipiente sea superior a 150 milímetros, 3,0 milímetros, como mínimo.

4) Los fondos de los recipientes tendrán un perfil de medio punto, de elipse o asa de cesta; deberán ofrecer la misma seguridad que el cuerpo del recipiente.

II. Prueba oficial complementaria de las aleaciones de aluminio que contengan cobre.

3201. 1) Además de los ensayos prescritos en los marginales 2215, 2216 y 2217 es preciso proceder, cuando se trate de aleaciones de aluminio que contengan cobre, al control de la posibilidad de la corrosión intercristalina de la pared interior del recipiente.

2) Al tratar el lado interior de una probeta de 1.000 mm2 (33,3 x 30 mm.) de material que contenga cobre con una disolución acuosa que contenga el 3 por 100 de CINa y el 0,5 por 100 de CIH, a la temperatura ambiente durante setenta y dos horas. La pérdida de peso no debe pasar de 50 mg/1.000 milímetros cuadrados.

III. Protección de la superficie interior.

3202. La superficie interior de los recipientes de aleaciones de aluminio irá recubierta con una protección adecuada que impida la corrosión cuando las estaciones de ensayo competentes lo estimen necesario.

APENDICE A.2
Recipientes de aleaciones de aluminio

Imagen: /datos/imagenes/disp/1976/185/49999_12135612_image15.png

RESISTENCIA A LA TRACCION

Tolerancia:

Alargamiento después de la ruptura – 10 %

Coeficiente de plegado – 20 %

Resiliencia – 30 %

El limite de elasticidad aparente O1 debe ser al menos igual a los 4/3 de la tensión anular O1 a la presión de prueba.

MathML (base64):PG1hdGggbWF0aHNpemU9IjIwIj4KICAgIDxtdGV4dD50ZW5zaSYjeEYzO24gYW51bGFyPC9tdGV4dD4KICAgIDxtc3ViPgogICAgICAgIDxtcm93PgogICAgICAgICAgICA8bWkgbWF0aHZhcmlhbnQ9Im5vcm1hbCI+TzwvbWk+CiAgICAgICAgPC9tcm93PgogICAgICAgIDxtcm93PgogICAgICAgICAgICA8bW4+MTwvbW4+CiAgICAgICAgPC9tcm93PgogICAgPC9tc3ViPgogICAgPG1vPj08L21vPgogICAgPG1mcmFjPgogICAgICAgIDxtcm93PgogICAgICAgICAgICA8bWk+cDwvbWk+CiAgICAgICAgICAgIDxtaT5pPC9taT4KICAgICAgICAgICAgPG1pIG1hdGh2YXJpYW50PSJub3JtYWwiPjwvbWk+CiAgICAgICAgICAgIDxtbz46PC9tbz4KICAgICAgICAgICAgPG1pPnI8L21pPgogICAgICAgICAgICA8bWk+aTwvbWk+CiAgICAgICAgPC9tcm93PgogICAgICAgIDxtcm93PgogICAgICAgICAgICA8bW4+MTAwPC9tbj4KICAgICAgICAgICAgPG1pIG1hdGh2YXJpYW50PSJub3JtYWwiPjwvbWk+CiAgICAgICAgICAgIDxtaT5zPC9taT4KICAgICAgICA8L21yb3c+CiAgICA8L21mcmFjPgogICAgPG1zdXA+CiAgICAgICAgPG1yb3c+CiAgICAgICAgICAgIDxtaT5rPC9taT4KICAgICAgICAgICAgPG1pPmc8L21pPgogICAgICAgICAgICA8bW8+LzwvbW8+CiAgICAgICAgICAgIDxtaT5jPC9taT4KICAgICAgICAgICAgPG1pPm08L21pPgogICAgICAgIDwvbXJvdz4KICAgICAgICA8bXJvdz4KICAgICAgICAgICAgPG1uPjI8L21uPgogICAgICAgIDwvbXJvdz4KICAgIDwvbXN1cD4KPC9tYXRoPg==

pi = presión de prueba en kg/cm2.

ri = radio interior en cm.

s = espesor de la pared en cm.

APENDICE A.2

3204-3290.

B. PARTE B (reservada)
C. Disposiciones referentes a las pruebas de los aerosoles y cartuchos de gas a presión en los apartados 16.º y 17.º de la clase 2

1. Pruebas do presión y rotura en el modelo de recipientes.

3291. Se realizarán pruebas de presión hidráulica al menos en cinco recipientes vacíos de cada modelo:

a) Hasta la presión de ensayo fijada, sin que se produzca ninguna fuga ni deformación visible permanente.

b) Hasta la aparición de una fuga o rotura entre tanto, si el fondo es cóncavo se aplanará primero, y el recipiente no perderá su estanqueidad ni estallará sino a partir de una presión 1,2 veces la de prueba.

2. Pruebas de estanqueidad en todos los recipientes.

3292. 1) Para la prueba de los aerosoles (16.º) y de los cartuchos de gas a presión (17.º) en un baño de agua caliente, la temperatura del baño y la duración de la prueba se elegirán de tal manera que la presión interior de cada recipiente alcance al menos el 90 por 100 de la que alcanzaría a 55° C.

Sin embargo, si el contenido es sensible al calor o si los recipientes son de plástico que se reblandece a la temperatura de esta prueba, la temperatura del baño será de 20 a 30° C; se debe, además, experimentar un aerosol de cada 2.000 a la temperatura prevista en el párrafo precedente.

2) No se debe producir ninguna fuga ni deformación permanente de los recipientes. La disposición concerniente a la deformación permanente no es aplicable a los recipientes de plástico que se reblandecen.

3293.

3299.

APENDICE A.3
Ensayos relativos a las materias liquidas e inflamables de las clases 3 y 6.1

3300. 1) El punto de inflamación se determinará por medio de uno de los aparatos siguientes:

a) El aparato de Abel, el Abel-Pensky, aparato de Luchaire-Finances, aparato Tag, para las temperaturas que no pasen de 50° C.

b) Aparato Pensky-Martens, aparato Luchaire-Finances, para temperaturas superiores de 50° C.

c) A falta de ellos, cualquier aparato de cámara cerrada, capaz de dar resultados que no se aparten más de 2° C de los que daría, en su lugar, uno de los aparatos anteriores.

2) Para la determinación del punto de inflamación de pinturas, colas y productos viscosos similares que contengan disolventes no se podrán utilizar más que aparatos y métodos de ensayo que sean apropiados para la determinación del punto de inflamación de líquidos viscosos, tales como:

El método A de las normas IP 170/59 o más recipientes.

Las normas alemanas DIN 53.213 y TGL 14.301, hoja 2.

3301. El modo de realizar la medida será:

a) Para el aparato de Abel, el de la norma IP (*) 33/44; esta norma se podrá emplear también para el aparato de Abel-Pensky.

b) Para el aparato Pensky-Martens, el de la norma IP (*) 34/47 o el de la norma D 93/46 del A. S. T. M. (**).

c) Para el aparato Tag, el de la norma D 53/46 del A. S. T. M. (**).

(*) The Institute of Petroleum. 61 New Cavendish Street, London W. 1.

(*) American Society for Testing Materials. 1916 Race Str., Philadelphia 3 (Pa).

d) Para el aparato Luchaire, el de la instrucción anexa al decreto ministerial (Francia) del 26 de octubre de 1925, dado por el Ministerio de Comercio e Industria y publicado en el «Journ-el Officiel» de 29 de octubre de 1925.

En caso de emplear otro aparato, el modo de operar exigirá las siguientes precauciones:

1. La determinación se hará al abrigo de corrientes de aire.

2. La velocidad de calentamiento del liquido que se ensaya no deberá nunca pasar de 5° C por minuto.

3. La llama-de la lamparilla tendrá una longitud de 5 milímetros (+ 0,5 milímetros).

(Continuará.).

ANÁLISIS

  • Rango: Decreto
  • Fecha de disposición: 06/02/1976
  • Fecha de publicación: 03/08/1976
  • Es continuación de (Ref. BOE-A-1976-14302).

subir

Estatuko Aldizkari Ofiziala Estatu Agentzia

Manoteras Etorb., 54 - 28050 Madril