Contingut no disponible en català

Us trobeu en

Documento BOE-A-1980-26971

Orden de 27 de noviembre de 1980 por la que se aprueba la Norma tecnológica de la edificación NTE/EHZ, «Estructuras de hormigón armado: Zancas».

Publicado en:
«BOE» núm. 300, de 15 de diciembre de 1980, páginas 27607 a 27635 (29 págs.)
Sección:
I. Disposiciones generales
Departamento:
Ministerio de Obras Públicas y Urbanismo
Referencia:
BOE-A-1980-26971
Permalink ELI:
https://www.boe.es/eli/es/o/1980/11/27/(3)

TEXTO ORIGINAL

Ilustrísimo señor:

De conformidad con lo dispuesto en el Decreto 3505/1972, de 23 de diciembre «Boletín Oficial del Estado» de 15 de enero de 1973) y el Real Decreto 1650/1977, de 10 de junio («Boletín Oficial del Estado» de 9 de julio), a propuesta de la Dirección General de Arquitectura y Vivienda y previo informe del Ministerio de Industria y Energía y del Consejo de Obras Públicas v Urbanismo,

Este Ministerio ha resuelto:

Artículo 1.

Se aprueba la Norma tecnológica de la edificación NTE/EHZ, «Estructuras de hormigón armado: Zancas»,

Artículo 2.

La presente Norma tecnológica de la edificación regula las actuaciones de diseño, cálculo, construcción, control, valoración y mantenimiento.

Artículo 3.

La presente Norma, a partir de su publicación en el «Boletín Oficial del Estado», podrá ser utilizada a efectos de lo establecido en el Decreto 3565/1972, de 23 de diciembre, con la excepción prevista en la disposición final tercera del Real Decreto 1650/1977, de lo de junio, sobre normativa básica de la edificación.

Artículo 4.

En el plazo de seis meses, a partir de la publicación do la presente Orden ministerial en el «Boletín Oficial del Estado» podrán ser remitidas a la Dirección General de Arquitectura y Vivienda (Subdirección General de la Edificación. Servicio de Normativa) las sugerencias y observaciones que puedan mejorar el contenido o aplicación de la presente Norma.

Artículo 5.

Estudiadas y, en su caso, consideradas las sugerencias remitidas y a la vista de la experiencia derivada de su aplicación, la Dirección General de Arquitectura y Viviendo propondrá o este Ministerio las modificaciones pertinentes a la Norma aprobada por la presente Orden.

Lo que comunico a V I. para conocimiento y efecto.

Madrid, 27 de noviembre de 1980.

SANCHO ROF

Ilmo. Sr. Director general de Arquitectura y Vivienda.

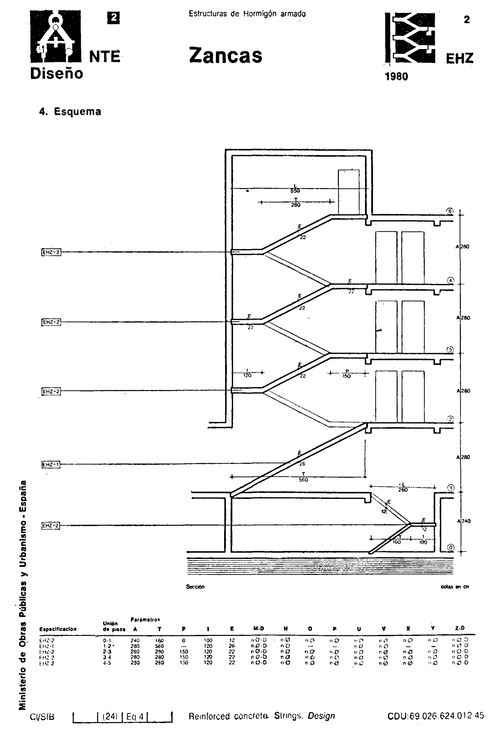
Imagen: /datos/imagenes/disp/1980/300/26971_15389285_image1.png

Imagen: /datos/imagenes/disp/1980/300/26971_15389285_image2.png

Imagen: /datos/imagenes/disp/1980/300/26971_15389285_image3.png

Imagen: /datos/imagenes/disp/1980/300/26971_15389285_image4.png

Imagen: /datos/imagenes/disp/1980/300/26971_15389285_image5.png

Imagen: /datos/imagenes/disp/1980/300/26971_15389285_image6.png

Imagen: /datos/imagenes/disp/1980/300/26971_15389285_image7.png

Imagen: /datos/imagenes/disp/1980/300/26971_15389285_image8.png

Imagen: /datos/imagenes/disp/1980/300/26971_15389285_image9.png

Imagen: /datos/imagenes/disp/1980/300/26971_15389285_image10.png

Imagen: /datos/imagenes/disp/1980/300/26971_15389285_image11.png

Imagen: /datos/imagenes/disp/1980/300/26971_15389285_image12.png

Imagen: /datos/imagenes/disp/1980/300/26971_15389285_image13.png

Imagen: /datos/imagenes/disp/1980/300/26971_15389285_image14.png

Imagen: /datos/imagenes/disp/1980/300/26971_15389285_image15.png

Imagen: /datos/imagenes/disp/1980/300/26971_15389285_image16.png

Imagen: /datos/imagenes/disp/1980/300/26971_15389285_image17.png

Imagen: /datos/imagenes/disp/1980/300/26971_15389285_image18.png

Imagen: /datos/imagenes/disp/1980/300/26971_15389285_image19.png

Imagen: /datos/imagenes/disp/1980/300/26971_15389285_image20.png

Imagen: /datos/imagenes/disp/1980/300/26971_15389285_image21.png

Imagen: /datos/imagenes/disp/1980/300/26971_15389285_image22.png

Imagen: /datos/imagenes/disp/1980/300/26971_15389285_image23.png

Imagen: /datos/imagenes/disp/1980/300/26971_15389285_image24.png

Imagen: /datos/imagenes/disp/1980/300/26971_15389285_image25.png

Imagen: /datos/imagenes/disp/1980/300/26971_15389285_image26.png

Imagen: /datos/imagenes/disp/1980/300/26971_15389285_image27.png

Imagen: /datos/imagenes/disp/1980/300/26971_15389285_image28.png

ANÁLISIS

  • Rango: Orden
  • Fecha de disposición: 27/11/1980
  • Fecha de publicación: 15/12/1980
Referencias anteriores
  • DE CONFORMIDAD con:
Materias
  • Construcciones
  • Hormigón
  • Materiales de construcción
  • Normas Tecnológicas de la Edificación

subir

Agència Estatal Butlletí Oficial de l'Estat

Avda. de Manoteras, 54 - 28050 Madrid